TOP
|
特許
|
意匠
|
商標
特許ウォッチ
Twitter
他の特許を見る
公開番号
2025159456
公報種別
公開特許公報(A)
公開日
2025-10-21
出願番号
2024062014
出願日
2024-04-08
発明の名称
クランプ、ワイヤハーネス及びクランプセット
出願人
株式会社オートネットワーク技術研究所
,
住友電装株式会社
,
住友電気工業株式会社
代理人
個人
,
個人
,
個人
,
個人
主分類
F16B
19/00 20060101AFI20251014BHJP(機械要素または単位;機械または装置の効果的機能を生じ維持するための一般的手段)
要約
【課題】クランプにおける係止爪を交換しやすくできる技術を提供することを目的とする。
【解決手段】クランプは、ハーネス側部品と爪部品とを備える。前記ハーネス側部品は、ワイヤハーネスに固定されるハーネス固定部と、前記ハーネス固定部から突出する柱部と、前記柱部に形成された取付受部とを含む。前記爪部品は、前記取付受部に取付けられる取付部と、前記車体に係止する係止爪とを含む。
【選択図】図3
特許請求の範囲
【請求項1】
ワイヤハーネスを車体に固定するクランプであって、
前記ワイヤハーネスに固定されるハーネス固定部と、前記ハーネス固定部から突出する柱部と、前記柱部に形成された取付受部とを含むハーネス側部品と、
前記取付受部に取付けられる取付部と、前記車体に係止する係止爪とを含む爪部品と、
を備える、クランプ。
続きを表示(約 1,100 文字)
【請求項2】
請求項1に記載のクランプであって、
前記取付部と前記取付受部との取付方向は、前記柱部の突出方向と交差する方向である、クランプ。
【請求項3】
請求項2に記載のクランプであって、
前記取付受部は、前記柱部の側面から内部に向けて形成された取付孔と、前記取付孔の内面に形成された係止凹部とを有し、
前記取付部は、前記柱部の前記側面に沿って広がるベース部と、前記ベース部から突出して前記取付孔に挿入されている挿入部と、前記挿入部から突出して前記係止凹部に係止する係止片とを有する、クランプ。
【請求項4】
請求項3に記載のクランプであって、
前記係止爪は、前記ベース部のうち前記挿入部が突出する面とは反対側の面から突出して、前記車体に形成された係止孔の周縁に係止する、クランプ。
【請求項5】
請求項4に記載のクランプであって、
前記爪部品は、前記ベース部のうち前記係止爪が突出する端部とは反対側の端部から突出して、前記係止孔の前記周縁のうち前記係止爪が係止する面とは反対側の面を覆うフランジを含む、クランプ。
【請求項6】
請求項3に記載のクランプであって、
前記係止爪は、前記ベース部のうち前記挿入部が突出する面から突出して、前記車体における係止板部に係止する、クランプ。
【請求項7】
請求項2から請求項6のいずれか1項に記載のクランプであって、
1つの前記柱部に一対の前記爪部品が取付けられ、
前記取付方向は一対の前記爪部品が並ぶ方向であり、
一対の前記爪部品は互いに同じ形状を有する、クランプ。
【請求項8】
請求項1から請求項6のいずれか1項に記載のクランプと、
前記ハーネス固定部に固定されたワイヤハーネス本体と、
を備える、ワイヤハーネス。
【請求項9】
ワイヤハーネスを車体に固定するクランプセットであって、
複数種類の爪部品と、
前記複数種類の爪部品のうちいずれか一種が選択的に取付けられたハーネス側部品と、
を備え、
前記ハーネス側部品は、前記ワイヤハーネスに固定されるハーネス固定部と、前記車体に形成された係止孔に挿入される柱部と、前記柱部に形成された取付受部とを含み、
前記複数種類の爪部品のそれぞれは、前記取付受部に取付けられる取付部と、前記車体に係止する係止爪とを含み、
前記複数種類の爪部品において、前記係止爪の大きさ又は前記取付部に対する前記係止爪の突出方向が互いに異なる、クランプセット。
発明の詳細な説明
【技術分野】
【0001】
本開示は、クランプ、ワイヤハーネス及びクランプセットに関する。
続きを表示(約 1,000 文字)
【背景技術】
【0002】
特許文献1は、取付孔に差し込み固定されるクリップ部材と、取付部材に取付けられるバンド部材とが別体に設けられるバンドクリップを開示している。かかるバンドクリップでは、クリップ部材とバンド部材とを固定する際、バンド部材のバンド部をクリップ部材に挿通させている。
【先行技術文献】
【特許文献】
【0003】
特開2014-124061号公報
【発明の概要】
【発明が解決しようとする課題】
【0004】
特許文献1に記載のバンドクリップでは、バンド部材のうち取付部材に巻かれるバンド部がクリップ部材にも挿通されているため、クリップ部材の交換がしにくい。
【0005】
そこで、クランプにおける係止爪を交換しやすくできる技術を提供することを目的とする。
【課題を解決するための手段】
【0006】
本開示のクランプは、ワイヤハーネスを車体に固定するクランプであって、前記ワイヤハーネスに固定されるハーネス固定部と、前記ハーネス固定部から突出する柱部と、前記柱部に形成された取付受部とを含むハーネス側部品と、前記取付受部に取付けられる取付部と、前記車体に係止する係止爪とを含む爪部品と、を備える、クランプである。
【発明の効果】
【0007】
本開示によれば、クランプにおける係止爪を交換しやすくなる。
【図面の簡単な説明】
【0008】
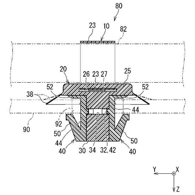
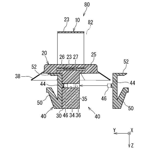
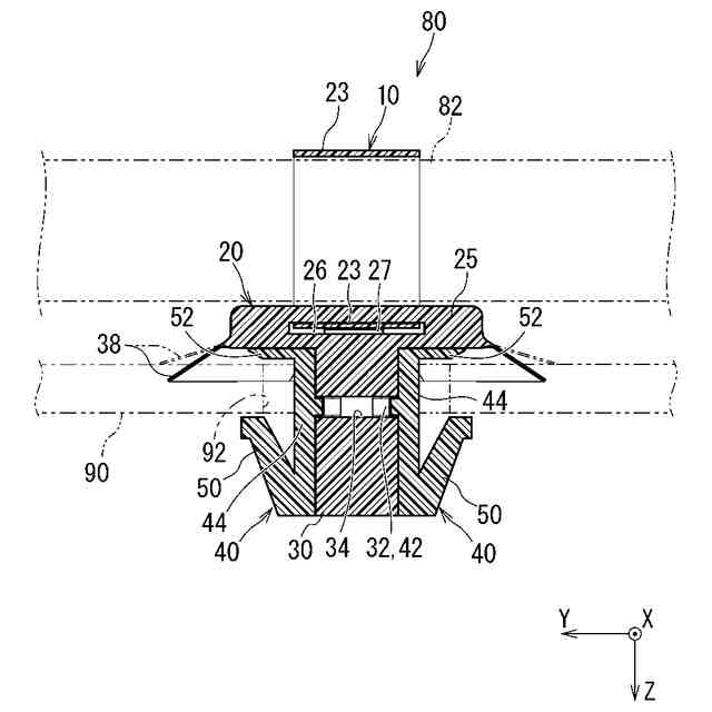
図1は実施形態1にかかるクランプを示す正面図である。
図2は同クランプを示す分解斜視図である。
図3は図1のIII-III線に沿った断面図である。
図4はハーネス側部品に爪部品を取り付ける様子を示す説明図である。
図5はハーネス側部品に爪部品を取り付ける様子を示す説明図である。
図6は実施形態2にかかるクランプを示す断面図である。
図7は実施形態3にかかるクランプセットを示す正面図である。
【発明を実施するための形態】
【0009】
[本開示の実施形態の説明]
最初に本開示の実施態様を列記して説明する。
【0010】
本開示のクランプは、次の通りである。
(【0011】以降は省略されています)
この特許をJ-PlatPat(特許庁公式サイト)で参照する
関連特許
個人
留め具
1か月前
個人
鍋虫ねじ
2か月前
個人
ホース保持具
7か月前
個人
回転伝達機構
3か月前
個人
紛体用仕切弁
2か月前
個人
差動歯車用歯形
4か月前
個人
給排気装置
1か月前
個人
ジョイント
1か月前
個人
ナット
12日前
株式会社不二工機
電磁弁
6か月前
個人
地震の揺れ回避装置
3か月前
株式会社不二工機
電磁弁
4か月前
個人
ナット
2か月前
個人
吐出量監視装置
2か月前
兼工業株式会社
バルブ
13日前
柿沼金属精機株式会社
分岐管
3か月前
カヤバ株式会社
ダンパ
4か月前
カヤバ株式会社
ダンパ
4か月前
カヤバ株式会社
緩衝器
4か月前
カヤバ株式会社
緩衝器
4か月前
カヤバ株式会社
緩衝器
1か月前
個人
固着具と固着具の固定方法
6か月前
株式会社ノーリツ
分配弁
1か月前
株式会社ニフコ
クリップ
1か月前
アズビル株式会社
回転弁
1か月前
株式会社タカギ
水栓装置
3か月前
日東電工株式会社
断熱材
7か月前
株式会社フジキン
ボールバルブ
5か月前
株式会社ノーリツ
分配弁
6か月前
株式会社不二工機
電磁弁
2か月前
株式会社奥村組
制振機構
1か月前
株式会社奥村組
制振機構
1か月前
個人
固着具と固着具の固定方法
5か月前
株式会社ノーリツ
分配弁
6か月前
個人
固着具と固着具の固定方法
7か月前
株式会社ノーリツ
分配弁
6か月前
続きを見る
他の特許を見る