TOP
|
特許
|
意匠
|
商標
特許ウォッチ
Twitter
他の特許を見る
10個以上の画像は省略されています。
公開番号
2025162882
公報種別
公開特許公報(A)
公開日
2025-10-28
出願番号
2024066372
出願日
2024-04-16
発明の名称
端子接続構造および端子付きアルミ電線
出願人
株式会社オートネットワーク技術研究所
,
住友電装株式会社
,
住友電気工業株式会社
代理人
弁理士法人笠井中根国際特許事務所
,
個人
,
個人
主分類
H01R
4/34 20060101AFI20251021BHJP(基本的電気素子)
要約
【課題】銅または銅合金を含んでなる一方の端子と、アルミニウムまたはアルミニウム合金を含んでなる他方の端子との異種金属間の端子接続において、接触抵抗の上昇を抑制することができる、端子接続構造を開示する。
【解決手段】ボルト18によって締結される第1端子12と第2端子14の端子接続構造10であって、第1端子12は、銅または銅合金を含んでなり、第2端子14の第2接触面20に接触する第1接触面22を有し、第2端子14は、アルミニウムまたはアルミニウム合金を含んでなり、第1端子12の第1接触面22に接触する第2接触面20を有し、第1接触面22には、複数の錐状突起24が形成されている。
【選択図】図1
特許請求の範囲
【請求項1】
ボルトによって締結される第1端子と第2端子の端子接続構造であって、
前記第1端子は、銅または銅合金を含んでなり、前記第2端子の第2接触面に接触する第1接触面を有し、
前記第2端子は、アルミニウムまたはアルミニウム合金を含んでなり、前記第1端子の前記第1接触面に接触する前記第2接触面を有し、
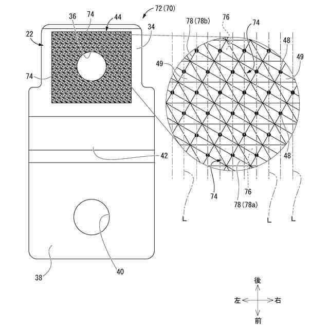
前記第1接触面には、複数の錐状突起が形成されている、端子接続構造。
続きを表示(約 1,000 文字)
【請求項2】
前記第1端子は、前記ボルトが挿通される第1ボルト挿通孔を有し、前記第1接触面が前記第1ボルト挿通孔の周囲を囲って設けられており、
前記第2端子は、前記ボルトが挿通される第2ボルト挿通孔を有し、前記第2接触面が前記第2ボルト挿通孔の周囲を囲って設けられている、請求項1に記載の端子接続構造。
【請求項3】
各前記錐状突起が、四角錐形状である、請求項1または請求項2に記載の端子接続構造。
【請求項4】
複数の前記錐状突起が、格子状に配列されており、各前記錐状突起が、正四角錐形状である、請求項1または請求項2に記載の端子接続構造。
【請求項5】
複数の前記錐状突起が、格子状に配列されており、各前記錐状突起が、底面がひし形の四角錐形状である、請求項1または請求項2に記載の端子接続構造。
【請求項6】
複数の前記錐状突起が前記第1ボルト挿通孔を囲う複数の環状体として配列されており、
前記複数の環状体は、前記第1ボルト挿通孔の径方向外方に向かって順次径寸法が大きくなっており、
各前記環状体には同数の前記錐状突起が配列されており、各前記環状体を構成する各前記錐状突起の周方向長さが、各前記環状体の径寸法が大きくなるにつれて大きくなっている、請求項2に記載の端子接続構造。
【請求項7】
各前記環状体における複数の前記錐状突起の頂点の前記第1ボルト挿通孔の中心軸回りの角度位置が、全ての前記環状体で一致している、請求項6に記載の端子接続構造。
【請求項8】
各前記環状体における複数の前記錐状突起の頂点の前記第1ボルト挿通孔の中心軸回りの角度位置が、前記径方向で隣り合う前記環状体同士で異なっている、請求項6に記載の端子接続構造。
【請求項9】
アルミニウムまたはアルミニウム合金を含んでなる電線の端末に端子金具が接続されてなる端子付きアルミ電線であって、
前記端子金具が、請求項1または請求項2に記載の端子接続構造における前記第1端子と前記第2端子を含んで構成されており、
前記第2端子が前記電線の端末に接続されており、
前記第1端子が請求項1または請求項2に記載の端子接続構造を用いて前記ボルトによって前記第2端子に締結されている、端子付きアルミ電線。
発明の詳細な説明
【技術分野】
【0001】
本開示は、端子接続構造および端子付きアルミ電線に関する。
続きを表示(約 2,000 文字)
【背景技術】
【0002】
特許文献1には、電線の端末に設けられた一方の端子を、車載部品の端子台に保持された他方の端子に対して重ね合わせ、それらを相互にボルト締結することで両端子を導通状態に接続する、端子接続構造が開示されている。
【先行技術文献】
【特許文献】
【0003】
特開2004-303957号公報
【発明の概要】
【発明が解決しようとする課題】
【0004】
近年では、車両の軽量化の要求に伴い、電線や端子を従来の銅や銅合金に代えて、アルミニウムやアルミニウム合金で構成するケースが増加している。そうすると、一方の端子がアルミニウム製で他方の端子が銅製といった異種金属間での端子接続となる場合が起こり得る。そのような場合には、アルミニウムは反応性が高く大気中で酸化被膜を生成し易いことに加えて、両端子の線膨張係数の差によって、両端子の接触界面にずれが生じることで、接触界面においてアルミニウムの酸化被膜が増加し易かった。その結果、両端子間の接触抵抗が上昇するおそれがあった。
【0005】
そこで、銅または銅合金を含んでなる一方の端子と、アルミニウムまたはアルミニウム合金を含んでなる他方の端子との異種金属間の端子接続において、接触抵抗の上昇を抑制することができる、端子接続構造および端子付きアルミ電線を開示する。
【課題を解決するための手段】
【0006】
本開示の端子接続構造は、ボルトによって締結される第1端子と第2端子の端子接続構造であって、前記第1端子は、銅または銅合金を含んでなり、前記第2端子の第2接触面に接触する第1接触面を有し、前記第2端子は、アルミニウムまたはアルミニウム合金を含んでなり、前記第1端子の前記第1接触面に接触する前記第2接触面を有し、前記第1接触面には、複数の錐状突起が形成されている、ものである。
【0007】
本開示の端子付きアルミ電線は、アルミニウムまたはアルミニウム合金を含んでなる電線の端末に端子金具が接続されてなる端子付きアルミ電線であって、前記端子金具が、本開示に係る端子接続構造における前記第1端子と前記第2端子を含んで構成されており、前記第2端子が前記電線の端末に接続されており、前記第1端子が本開示に係る端子接続構造を用いて前記ボルトによって前記第2端子に締結されている、ものである。
【発明の効果】
【0008】
本開示によれば、銅または銅合金を含んでなる一方の端子と、アルミニウムまたはアルミニウム合金を含んでなる他方の端子との異種金属間の端子接続において、接触抵抗の上昇を抑制することができる、端子接続構造および端子付きアルミ電線を提供できる。
【図面の簡単な説明】
【0009】
図1は、実施形態1に係る端子接続構造を用いた端子付きアルミ電線を示す斜視図である。
図2は、図1に示された端子付きアルミ電線において第1端子と第2端子との重ね合わせ部分における要部を拡大して示す縦断面図であって、図1のII-II断面における要部に相当する図である。
図3は、図1に示された端子付きアルミ電線を構成する第1端子を示す斜視図である。
図4は、図3に示された第1端子における平面図である。
図5は、図1に示された端子付きアルミ電線において熱膨張や熱収縮に伴う第1端子および第2端子の変位をモデル的に説明するための説明図である。
図6は、実施形態2に係る端子接続構造を構成する第1端子を示す斜視図である。
図7は、図6に示された第1端子における平面図である。
図8は、実施形態3に係る端子接続構造を構成する第1端子を示す斜視図である。
図9は、図8に示された第1端子における平面図である。
図10は、実施形態4に係る端子接続構造を構成する第1端子を示す斜視図である。
図11は、図10に示された第1端子における平面図である。
【発明を実施するための形態】
【0010】
<本開示の実施形態の説明>
最初に、本開示の実施態様を列記して説明する。
本開示の端子接続構造は、
(1)ボルトによって締結される第1端子と第2端子の端子接続構造であって、前記第1端子は、銅または銅合金を含んでなり、前記第2端子の第2接触面に接触する第1接触面を有し、前記第2端子は、アルミニウムまたはアルミニウム合金を含んでなり、前記第1端子の前記第1接触面に接触する前記第2接触面を有し、前記第1接触面には、複数の錐状突起が形成されている、ものである。
(【0011】以降は省略されています)
この特許をJ-PlatPat(特許庁公式サイト)で参照する
関連特許
東ソー株式会社
絶縁電線
1か月前
APB株式会社
蓄電セル
29日前
個人
フレキシブル電気化学素子
1か月前
日新イオン機器株式会社
イオン源
1か月前
株式会社ユーシン
操作装置
1か月前
株式会社東芝
端子台
23日前
マクセル株式会社
電源装置
23日前
ローム株式会社
半導体装置
1か月前
オムロン株式会社
電磁継電器
1か月前
太陽誘電株式会社
コイル部品
1か月前
株式会社ホロン
冷陰極電子源
1か月前
株式会社GSユアサ
蓄電装置
24日前
三菱電機株式会社
回路遮断器
10日前
株式会社GSユアサ
蓄電装置
16日前
富士電機株式会社
電磁接触器
2日前
株式会社GSユアサ
蓄電装置
2日前
株式会社GSユアサ
蓄電装置
24日前
株式会社GSユアサ
蓄電設備
1か月前
株式会社GSユアサ
蓄電設備
1か月前
北道電設株式会社
配電具カバー
29日前
トヨタ自動車株式会社
冷却構造
1か月前
日東電工株式会社
積層体
1か月前
日本特殊陶業株式会社
保持装置
1か月前
トヨタ自動車株式会社
バッテリ
29日前
サクサ株式会社
電池の固定構造
1か月前
トヨタ自動車株式会社
蓄電装置
1か月前
トヨタ自動車株式会社
バッテリ
1か月前
トヨタ自動車株式会社
蓄電装置
24日前
日本特殊陶業株式会社
保持装置
15日前
ノリタケ株式会社
熱伝導シート
1か月前
日新イオン機器株式会社
基板処理装置
26日前
ローム株式会社
半導体モジュール
3日前
トヨタ自動車株式会社
電池パック
1か月前
ヒロセ電機株式会社
電気コネクタ
2日前
ローム株式会社
半導体装置
1か月前
矢崎総業株式会社
コネクタ
2日前
続きを見る
他の特許を見る