TOP
|
特許
|
意匠
|
商標
特許ウォッチ
Twitter
他の特許を見る
10個以上の画像は省略されています。
公開番号
2025160523
公報種別
公開特許公報(A)
公開日
2025-10-22
出願番号
2025135793,2021193986
出願日
2025-08-18,2021-03-31
発明の名称
圧粉成形体、コア、ステータ、及び回転電機
出願人
住友電気工業株式会社
,
住友電工焼結合金株式会社
代理人
個人
,
個人
主分類
H02K
1/14 20060101AFI20251015BHJP(電力の発電,変換,配電)
要約
【課題】生産性に優れるコア片を提供する。
【解決手段】環状に配置されてアキシャルギャップ型の回転電機のステータコアを構築するコア片であって、前記ステータコアの軸方向に延びている柱状の第一部材と、前記第一部材における前記軸方向の第一の端部側に設けられている板状の第二部材と、前記第一部材における前記軸方向の第二の端部側に設けられている板状の第三部材と、を備え、前記第一部材は、前記第二部材と前記第三部材とにつらなっている周面を有し、前記第二部材は、前記第一部材の前記周面よりも外方に張り出している突出部を有し、前記第三部材は、前記第一部材の前記周面よりも外方に張り出している突出部を有し、前記第一部材と前記第二部材と前記第三部材とは一体成形された圧粉成形体で構成されている、コア片。
【選択図】図1
特許請求の範囲
【請求項1】
アキシャルギャップ型の回転電機に用いられる圧粉成形体であって、
前記圧粉成形体の外周側に配置される外周面と、
前記圧粉成形体の内周側に配置される内周面と、
前記圧粉成形体の周方向の第一方向側に配置されて前記外周面と前記内周面とにつらなっている第一側面と、
前記圧粉成形体の周方向の第二方向側に配置されて前記外周面と前記内周面とにつらなっている第二側面と、を有し、
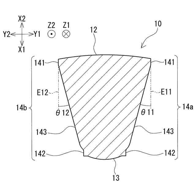
前記外周面における前記第一側面と前記第二側面との間の長さは、前記内周面における前記第一側面と前記第二側面との間の長さよりも長く、
前記第一側面及び前記第二側面の各々は、
前記外周面につらなる第一平行面と、
前記内周面につらなる第二平行面と、
前記第一平行面と前記第二平行面とにつらなっている第一傾斜面と、を有し、
前記第一側面の前記第一平行面と前記第二側面の前記第一平行面とが平行であり、
前記第一側面の前記第二平行面と前記第二側面の前記第二平行面とが平行であり、
前記第一側面の前記第一平行面と前記第一側面の前記第二平行面とが平行である、
圧粉成形体。
続きを表示(約 960 文字)
【請求項2】
前記第一側面の前記第一平行面の延長面と前記第一傾斜面とのなす角は、5°以上20°以下であり、
前記第二側面の前記第一平行面の延長面と前記第一傾斜面とのなす角は、5°以上20°以下である、請求項1に記載の圧粉成形体。
【請求項3】
前記外周面は、前記外周側に向かって凸となる湾曲面を有し、
前記内周面は、前記内周側に向かって凸となる湾曲面を有している、請求項1または請求項2に記載の圧粉成形体。
【請求項4】
前記圧粉成形体を前記第一側面の前記第二平行面に沿った仮想面と前記第二側面の前記第二平行面に沿った仮想面とで3分割した部位のうち、前記周方向の第一方向側の第一部位及び前記周方向の第二方向側の第二部位と、前記第一部位と前記第二部位との間の第三部位との相対密度の差が5.0%以下である、請求項1または請求項2に記載の圧粉成形体。
【請求項5】
前記圧粉成形体の相対密度が85%以上である、請求項1または請求項2に記載の圧粉成形体。
【請求項6】
前記圧粉成形体は、軟磁性粒子の表面に絶縁被覆を有する複数の被覆軟磁性粒子の集合体で構成され、
前記軟磁性粒子は、純鉄、Fe-Si系合金、Fe-Al系合金、及びFe-Si-Al系合金からなる群より選択される少なくとも一種の金属からなる鉄系粒子である、請求項1または請求項2に記載の圧粉成形体。
【請求項7】
アキシャルギャップ型の回転電機のコアであって、
環状に配置される複数の圧粉成形体を有し、
前記複数の圧粉成形体の各々を構成する部材が請求項1または請求項2に記載の圧粉成形体である、
コア。
【請求項8】
アキシャルギャップ型の回転電機のステータであって、
請求項7に記載のコアと、
前記コアに配置されるコイルと、を備える、
ステータ。
【請求項9】
ロータとステータとを備え、前記ロータと前記ステータとが軸方向に向かい合って配置されたアキシャルギャップ型の回転電機であって、
前記ステータが請求項8に記載のステータである、
回転電機。
発明の詳細な説明
【技術分野】
【0001】
本開示は、コア片、ステータコア、ステータ、及び回転電機に関するものである。
本出願は、2020年5月8日付の日本国出願の特願2020-082831に基づく優先権を主張し、前記日本国出願に記載された全ての記載内容を援用するものである。
続きを表示(約 1,600 文字)
【背景技術】
【0002】
特許文献1は、アキシャルギャップ型モータ用のステータコアを開示している。ステータコアは、ヨーク部と、ティースと、つば部とを備える。
【先行技術文献】
【特許文献】
【0003】
特開2009-44829号公報
【発明の概要】
【0004】
本開示に係るコア片は、環状に配置されてアキシャルギャップ型の回転電機のステータコアを構築するコア片であって、前記ステータコアの軸方向に延びている柱状の第一部材と、前記第一部材における前記軸方向の第一の端部側に設けられている板状の第二部材と、前記第一部材における前記軸方向の第二の端部側に設けられている板状の第三部材と、を備え、前記第一部材は、前記第二部材と前記第三部材とにつらなっている周面を有し、前記第二部材は、前記第一部材の前記周面よりも外方に張り出している突出部を有し、前記第三部材は、前記第一部材の前記周面よりも外方に張り出している突出部を有し、前記第一部材と前記第二部材と前記第三部材とは一体成形された圧粉成形体で構成されている。
【0005】
本開示に係るステータコアは、アキシャルギャップ型の回転電機のステータコアであって、環状に配置される複数のコア片を有し、前記複数のコア片の各々が本開示に係るコア片である。
【0006】
本開示に係るステータは、アキシャルギャップ型の回転電機のステータであって、本開示に係るステータコアと、前記ステータコアにおける前記第一部材の各々に配置されるコイルとを備える。
【0007】
本開示に係る回転電機は、ロータとステータとを備え、前記ロータと前記ステータとが軸方向に向かい合って配置されたアキシャルギャップ型の回転電機であって、前記ステータが本開示に係るステータである。
【図面の簡単な説明】
【0008】
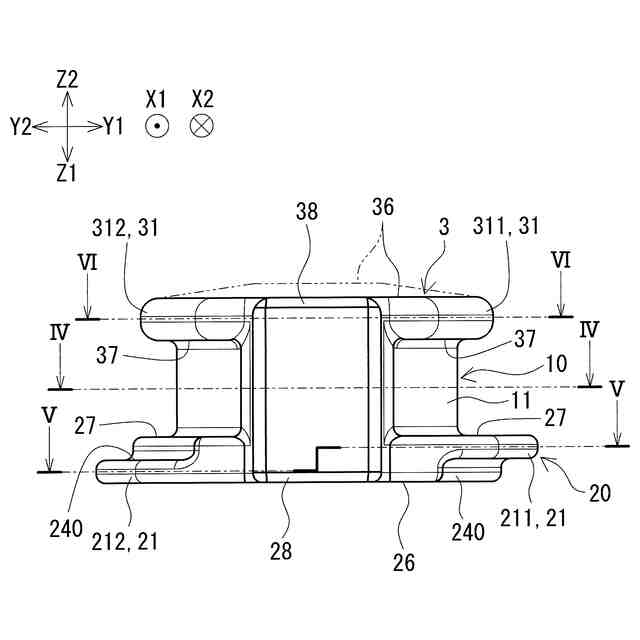
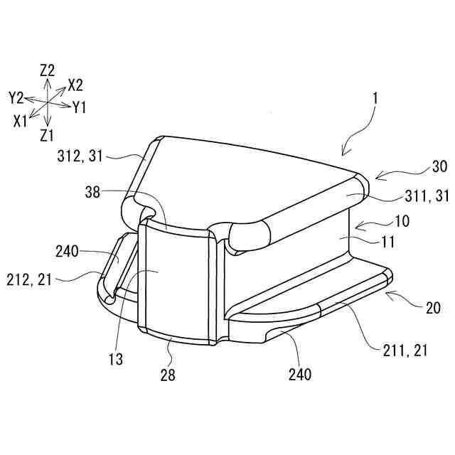
図1は、実施形態1に係るコア片の概略を示す斜視図である。
図2は、実施形態1に係るコア片の概略を示す上面図である。
図3は、実施形態1に係るコア片を内周面側から見た図である。
図4は、図3に示すコア片のIV-IV断面図である。
図5は、図3に示すコア片のV-V断面図である。
図6は、図3に示すコア片のVI-VI断面図である。
図7は、実施形態1に係るコア片を製造する金型のダイの開口縁を示す上面図である。
図8は、実施形態1に係るコア片における第一部材を製造する金型の概略を示す断面図である。
図9は、実施形態1に係るコア片における第二部材を製造する金型の概略を示す断面図である。
図10は、実施形態1に係るコア片における第三部材を製造する金型の概略を示す断面図である。
図11は、実施形態2に係るステータコアの概略を示す斜視図である。
図12は、実施形態3に係るステータのの概略を示す斜視図である。
図13は、実施形態4に係る回転電機の概略を示す断面図である。
図14は、実施形態5に係る回転電機の概略を示す断面図である。
【発明を実施するための形態】
【0009】
[本開示が解決しようとする課題]
ステータコアの生産性を高めることが望まれている。ヨーク部とティースとつば部とを一体に成形することで、ステータコアの生産性が高められると考えられる。しかし、ヨーク部とティースとつば部とを一体に成形する最適な製造方法は十分に検討されていなかった。
【0010】
本開示は、生産性に優れるコア片を提供することを目的の一つとする。また、本開示は、生産性に優れるステータコア、ステータ、及び回転電機を提供することを別の目的の一つとする。
(【0011】以降は省略されています)
この特許をJ-PlatPat(特許庁公式サイト)で参照する
関連特許
住友電気工業株式会社
受光素子
11日前
住友電気工業株式会社
光検出装置
13日前
住友電気工業株式会社
アバランシェフォトダイオード
6日前
住友電気工業株式会社
画像処理装置、画像処理方法及び画像処理プログラム
12日前
住友電工プリントサーキット株式会社
プリント配線板
20日前
住友電気工業株式会社
絶縁層用樹脂組成物、絶縁電線および絶縁電線の製造方法
12日前
株式会社オートネットワーク技術研究所
雌端子
20日前
株式会社オートネットワーク技術研究所
電装品
11日前
株式会社オートネットワーク技術研究所
電装品
11日前
株式会社オートネットワーク技術研究所
固定部材
12日前
株式会社オートネットワーク技術研究所
端子金具、及びコネクタ
20日前
株式会社オートネットワーク技術研究所
端子金具、及びコネクタ
20日前
住友電気工業株式会社
レドックスフロー電池用電極、レドックスフロー電池セル、およびレドックスフロー電池システム
6日前
住友電気工業株式会社
光ファイバの偏心量測定方法及び光ファイバの製造方法
19日前
住友電気工業株式会社
システム、サーバ、警告方法、及びコンピュータプログラム
今日
住友電気工業株式会社
炭化珪素結晶の製造方法、炭化珪素基板の製造方法、エピタキシャル基板の製造方法および半導体装置の製造方法
19日前
株式会社オートネットワーク技術研究所
シールド端子
11日前
住友電気工業株式会社
管理装置、通信システム、車両、車両通信管理方法および車両通信管理プログラム
13日前
株式会社オートネットワーク技術研究所
車載ソフトウェア管理装置、車載ソフトウェア管理方法および車載ソフトウェア管理プログラム
11日前
個人
単極モータ
1か月前
個人
電気を重力で発電装置
12日前
キヤノン電子株式会社
モータ
19日前
キヤノン電子株式会社
モータ
11日前
株式会社アイシン
ロータ
1か月前
株式会社アイシン
ロータ
1か月前
コーセル株式会社
電源装置
20日前
日星電気株式会社
ケーブル組立体
27日前
トヨタ自動車株式会社
モータ
11日前
株式会社デンソー
回転機
1か月前
株式会社アイシン
ステータ
1か月前
株式会社アイシン
ステータ
1か月前
株式会社アイシン
ステータ
1か月前
個人
二次電池繰返パルス放電器用印刷基板
25日前
株式会社kaisei
発電システム
1か月前
株式会社デンソー
電力変換装置
26日前
株式会社デンソー
電力変換装置
1か月前
続きを見る
他の特許を見る