TOP
|
特許
|
意匠
|
商標
特許ウォッチ
Twitter
他の特許を見る
10個以上の画像は省略されています。
公開番号
2025164853
公報種別
公開特許公報(A)
公開日
2025-10-30
出願番号
2025137207,2021141603
出願日
2025-08-20,2021-08-31
発明の名称
光ファイバの偏心量測定方法及び光ファイバの製造方法
出願人
住友電気工業株式会社
代理人
個人
,
個人
,
個人
,
個人
主分類
G01M
11/00 20060101AFI20251023BHJP(測定;試験)
要約
【課題】低温特性及び耐側圧特性の劣化を抑制しつつ細径化することが可能な光ファイバを提供する。
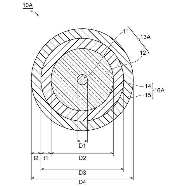
【解決手段】光ファイバは、コア及びクラッドを含むガラスファイバと、ガラスファイバの外周を被覆する被覆樹脂層と、を備える。被覆樹脂層は、ガラスファイバに接して前記ガラスファイバを被覆するプライマリ樹脂層と、プライマリ樹脂層の外周を被覆するセカンダリ樹脂層と、を有する。ガラスファイバの外径は124.5μm以上125.5μm以下である。プライマリ樹脂層の厚さが7.5μm以上17.5μm以下である。プライマリ樹脂層の23℃におけるヤング率が0.10MPa以上0.50MPa以下である。セカンダリ樹脂層の厚さが5.0μm以上17.5μm以下である。セカンダリ樹脂層の外径が165μm以上175μm以下である。セカンダリ樹脂層の23℃におけるヤング率が1200MPa以上2800MPa以下である。
【選択図】図1
特許請求の範囲
【請求項1】
偏心量変動観察装置を用いて光ファイバの偏心量を測定する方法であって、
前記偏心量変動観察装置は、第1光源と、第1撮像部と、第2光源と、第2撮像部とを含み、
前記第1光源及び前記第2光源は、前記光ファイバの短手方向に第1光及び第2光をそれぞれ照射するように配置され、
前記第1光及び前記第2光は、前記光ファイバの被覆樹脂層を透過する波長を含み、
前記第1撮像部は、前記光ファイバを挟んで前記第1光源と対向するように配置され、
前記第2撮像部は、前記光ファイバを挟んで前記第2光源と対向するように配置され、前記第2光源および前記第2撮像部の対向方向は、前記第1光源および前記第1撮像部の対向方向と直交しており、
前記光ファイバの軸方向に所定の間隔で設定した複数の測定点において前記光ファイバを透過した前記第1光が前記第1撮像部において撮像されて得られる第1画像、及び、前記複数の測定点において前記光ファイバを透過した前記第2光が前記第2撮像部において撮像されて得られる第2画像に基づいて、前記被覆樹脂層の外周の位置と前記被覆樹脂層の内周の位置とを求めることにより、前記外周の位置と前記内周の位置との中心間の距離として前記偏心量を算出し、
前記複数の測定点のそれぞれの位置に対する前記偏心量を示す波形をフーリエ変換することで得たスペクトルにおいて、前記偏心量の振幅の最大値が0μmより大きく3.6μm以下であること、及び、前記偏心量の振幅が最大となる波長が0.1m以上1m以下であることを確認する、光ファイバの偏心量測定方法。
続きを表示(約 700 文字)
【請求項2】
光ファイバを製造する方法であって、
ガラスファイバを形成する工程と、
前記ガラスファイバの外周を覆うように前記被覆樹脂層を形成する工程と、
前記被覆樹脂層に対して紫外線を照射して前記被覆樹脂層を硬化させる工程と、
請求項1に記載の光ファイバの偏心量測定方法により、前記光ファイバの偏心量を算出するとともに、前記偏心量の振幅の最大値が0μmより大きく3.6μm以下であり、且つ、前記偏心量の振幅が最大となる波長が0.1m以上1m以下であることを確認する工程と、
を含む、光ファイバの製造方法。
【請求項3】
前記硬化させる工程を行う硬化装置の直下に直下ローラを配置するとともに、前記直下ローラよりも下流に複数のガイドローラを配置し、
前記直下ローラ及び前記複数のガイドローラを含む全てのローラのうち、最も大きいローラの周長を0.2m以上とする、請求項2に記載の光ファイバの製造方法。
【請求項4】
前記硬化させる工程を行う硬化装置の直下に直下ローラを配置するとともに、前記硬化装置よりも下流且つ前記直下ローラよりも上流に振動抑制部を配置し、
前記振動抑制部は、互いに異なる方向から前記光ファイバに接して前記光ファイバの振動を抑制する2つのローラを含む、請求項2に記載の光ファイバの製造方法。
【請求項5】
前記硬化させる工程を行う硬化装置の直下に直下ローラを配置し、前記直下ローラを、前記光ファイバの製造に関わる他の装置部材から独立して固定する、請求項2に記載の光ファイバの製造方法。
発明の詳細な説明
【技術分野】
【0001】
本開示は、光ファイバの偏心量測定方法及び光ファイバの製造方法に関する。
続きを表示(約 2,500 文字)
【背景技術】
【0002】
特許文献1には、光ファイバが記載されている。この光ファイバは、ガラスファイバと、ガラスファイバを囲む一次被覆と、一次被覆層を囲む二次被覆と、を備える。ガラスファイバは、125μmの直径を有し、且つITU-T G.657.A標準規格および/またはITU-T G.657.B標準規格を満たす構造を有する。一次被覆は、0.2MPaを超え且つ0.65MPa未満のin situ弾性係数と、-50℃またはそれ以下のガラス転移温度とを有し、135μmから175μmの外径を有する。インク層を有する場合、光ファイバの外径は210μm以下である。
【0003】
特許文献2には、光ファイバが記載されている。クラッドの外側表面上には、外径が210μm以下である非ガラス保護コーティングが設けられる。非ガラス保護コーティングは、クラッドの外側表面に直接隣接する一次コーティングと、一次コーティングに直接隣接する二次コーティングとを含む。一次コーティングのin situ弾性率は1MPa未満である。二次コーティングの弾性率は1200MPaを超える。
【先行技術文献】
【特許文献】
【0004】
国際公開第2010/053356号
米国特許出願公開第2021/0041623号明細書
国際公開第2017/172714号
特開2020-129037号公報
【発明の概要】
【発明が解決しようとする課題】
【0005】
近年の光通信容量の増大に伴い、光ケーブル内により多くの光ファイバを実装することが望まれている。そのためには、一般的に250μmの外径を有する光ファイバ心線を細径化することが重要である。その際には、一般的なガラスファイバの外径(125μm±0.5μm)を細径化せずそのまま維持することが好ましい。
【0006】
しかしながら、ガラスファイバの外径を維持しつつ光ファイバ心線を細径化すると、被覆樹脂層が薄くなる。被覆樹脂層が薄くなると、光ファイバに側圧が付与された際に発生する微小な曲げにより誘起される伝送損失(マイクロベンドロス)が増加し易い。すなわち、光ファイバの耐側圧特性が劣化してしまう。このような耐側圧特性の劣化は、プライマリ樹脂層のヤング率を小さくすることによって或る程度抑制することができるが、プライマリ樹脂層のヤング率を小さくし過ぎると、低温特性の劣化(-60℃の低温に光ファイバを置いた場合に室温に対する波長1550nmの光の伝送損失増分が+0.1dB/km以上である)が生じるという問題がある。
【0007】
本開示は、低温特性及び耐側圧特性の劣化を抑制しつつ細径化することが可能な光ファイバの偏心量測定方法及び光ファイバの製造方法を提供することを目的とする。
【課題を解決するための手段】
【0008】
本開示の一態様に係る光ファイバの偏心量測定方法は、偏心量変動観察装置を用いて光ファイバの偏心量を測定する方法である。偏心量変動観察装置は、第1光源と、第1撮像部と、第2光源と、第2撮像部とを含む。第1光源及び第2光源は、光ファイバの短手方向に第1光及び第2光をそれぞれ照射するように配置されている。第1光及び第2光は、光ファイバの被覆樹脂層を透過する波長を含む。第1撮像部は、光ファイバを挟んで第1光源と対向するように配置されている。第2撮像部は、光ファイバを挟んで第2光源と対向するように配置されている。第2光源および第2撮像部の対向方向は、第1光源および第1撮像部の対向方向と直交している。この偏心量測定方法では、光ファイバの軸方向に所定の間隔で設定した複数の測定点において光ファイバを透過した第1光が第1撮像部において撮像されて得られる第1画像、及び、複数の測定点において光ファイバを透過した第2光が第2撮像部において撮像されて得られる第2画像に基づいて、被覆樹脂層の外周の位置と被覆樹脂層の内周の位置とを求めることにより、外周の位置と内周の位置との中心間の距離として偏心量を算出する。そして、複数の測定点のそれぞれの位置に対する偏心量を示す波形をフーリエ変換することで得たスペクトルにおいて、偏心量の振幅の最大値が0μmより大きく3.6μm以下であること、及び、偏心量の振幅が最大となる波長が0.1m以上1m以下であることを確認する。
【発明の効果】
【0009】
本開示によれば、低温特性及び耐側圧特性の劣化を抑制しつつ細径化することが可能な光ファイバの偏心量測定方法及び光ファイバの製造方法を提供することができる。
【図面の簡単な説明】
【0010】
図1は、第1実施形態に係る光ファイバの軸方向に垂直な断面を示す図である。
図2は、ガラスファイバの偏心量の定義を説明するための概略断面図である。
図3は、ガラスファイバの軸方向の位置に対する、ガラスファイバの偏心量を示す偏心量波形の図である。
図4は、偏心量波形をフーリエ変換したスペクトルの一例を示す図である。
図5は、本実施形態に係る光ファイバ製造装置を示す概略構成図である。
図6は、第3実施形態に係る光ファイバの軸方向に垂直な断面を示す図である。
図7は、第3実施形態の変形例として、光ファイバの軸方向に垂直な断面を示す図である。
図8は、第4実施形態の光ファイバの軸方向に垂直な断面を示す図である。
図9は、ガラスファイバの半径方向における屈折率分布を示す図である。
図10は、ガラスファイバの外径変動のばらつき(3σ)と、波長1.31μmでの伝送損失が0.32dB/km以下となる光ファイバの割合との関係を示すグラフである。
【発明を実施するための形態】
(【0011】以降は省略されています)
この特許をJ-PlatPat(特許庁公式サイト)で参照する
関連特許
住友電気工業株式会社
受光素子
17日前
住友電気工業株式会社
ペレット
27日前
住友電気工業株式会社
ペレット
27日前
住友電気工業株式会社
光検出装置
19日前
住友電気工業株式会社
半導体受光素子
1か月前
住友電気工業株式会社
炭化珪素半導体装置
28日前
住友電気工業株式会社
炭化珪素半導体装置
28日前
住友電気工業株式会社
炭化珪素半導体装置
28日前
住友電気工業株式会社
炭化珪素半導体装置
28日前
住友電気工業株式会社
受光素子およびその製造方法
27日前
住友電気工業株式会社
集電体及びニッケル亜鉛電池
1か月前
住友電気工業株式会社
窒化物半導体装置の製造方法
4日前
住友電気工業株式会社
アバランシェフォトダイオード
12日前
住友電気工業株式会社
コンタクタ治具および検査治具
1か月前
住友電気工業株式会社
方法、超電導線材、および制御システム
1か月前
住友電気工業株式会社
画像処理装置、画像処理方法及び画像処理プログラム
4日前
住友電気工業株式会社
画像処理装置、画像処理方法及び画像処理プログラム
18日前
住友電気工業株式会社
光コネクタクリーナおよび光コネクタの端面の清掃方法
27日前
住友電気工業株式会社
電力変換システム、制御方法、コンピュータプログラム
4日前
住友電工プリントサーキット株式会社
プリント配線板
26日前
住友電気工業株式会社
絶縁層用樹脂組成物、絶縁電線および絶縁電線の製造方法
18日前
住友電気工業株式会社
樹脂組成物、電線、樹脂組成物の製造方法、および電線の製造方法
1か月前
株式会社オートネットワーク技術研究所
雌端子
26日前
株式会社SCREENホールディングス
成形方法、および、成形品
1か月前
株式会社オートネットワーク技術研究所
電装品
17日前
株式会社オートネットワーク技術研究所
電装品
17日前
株式会社オートネットワーク技術研究所
コネクタ
27日前
住友電気工業株式会社
マルチコア光ファイバ
4日前
株式会社オートネットワーク技術研究所
コネクタ
27日前
株式会社オートネットワーク技術研究所
固定部材
18日前
株式会社オートネットワーク技術研究所
コネクタ
4日前
住友電気工業株式会社
高電子移動度トランジスタおよび高電子移動度トランジスタの製造方法
4日前
株式会社オートネットワーク技術研究所
車載用制御装置
1か月前
株式会社オートネットワーク技術研究所
基板用コネクタ
4日前
株式会社オートネットワーク技術研究所
電子部品モジュール
5日前
株式会社オートネットワーク技術研究所
端子金具、及びコネクタ
26日前
続きを見る
他の特許を見る