TOP
|
特許
|
意匠
|
商標
特許ウォッチ
Twitter
他の特許を見る
10個以上の画像は省略されています。
公開番号
2025163472
公報種別
公開特許公報(A)
公開日
2025-10-29
出願番号
2024066751
出願日
2024-04-17
発明の名称
端子金具、及びコネクタ
出願人
株式会社オートネットワーク技術研究所
,
住友電装株式会社
,
住友電気工業株式会社
代理人
弁理士法人グランダム特許事務所
主分類
H01R
12/91 20110101AFI20251022BHJP(基本的電気素子)
要約
【課題】フローティング構造を実現しつつ、より大きな電流を流すことができる端子金具、及びコネクタを提供する。
【解決手段】端子金具11は、相手側端子Tと接続する端子接続部11Aと、回路基板Sに接続される基板接続部11Eと、端子接続部11Aと基板接続部11Eの間に設けられて基板接続部11Eと端子接続部11Aとの相対変位を許容する変位許容部11Dと、を備えている。変位許容部11Dは、帯状をなして前後方向に延びる第1板部11K及び第2板部11Lを有している。第1板部11Kの後端部は、端子接続部11A側に連なり、第2板部11Lの後端部は、基板接続部11E側に連なる。第1板部11K及び第2板部11Lの前端部同士は、互いに連結している。第1板部11Kの板厚方向は、第2板部11Lの板厚方向に対して交差する方向である。
【選択図】図2
特許請求の範囲
【請求項1】
相手側端子と接続する端子接続部と、
回路基板に接続される基板接続部と、
前記端子接続部と前記基板接続部の間に設けられて前記基板接続部と前記端子接続部との相対変位を許容する変位許容部と、
を有し、
前記変位許容部は、帯状をなして前後方向に延びる第1板部及び第2板部を具備し、
前記第1板部の後端部は、前記端子接続部側に連なり、
前記第2板部の後端部は、前記基板接続部側に連なり、
前記第1板部及び前記第2板部の前端部同士は、互いに連結し、
前記第1板部の板厚方向は、前記第2板部の板厚方向に対して交差する方向である、端子金具。
続きを表示(約 430 文字)
【請求項2】
前記端子接続部は、前後方向に延びた角筒状をなし、
前記端子接続部を形成する壁部のうちの隣接する第1壁部及び第2壁部に連なるL字状をなして後向きに延びる剛性部を有し、
前方から見た正面視において、前記剛性部及び前記第1板部は、前記端子接続部の外形の輪郭の範囲内に配置されている、請求項1に記載の端子金具。
【請求項3】
展開状態において、前記剛性部、前記第1板部、及び前記第2板部は、前後方向に折り返すように繋がっている、請求項2に記載の端子金具。
【請求項4】
前記剛性部の後端には、把持可能な把持部が連なって設けられている、請求項3に記載の端子金具。
【請求項5】
請求項1から請求項4のいずれか一項に記載の端子金具と、
前記端子接続部を収容するキャビティを複数有する内側ハウジングと、
前記基板接続部が連結する外側ハウジングと、
を備える、コネクタ。
発明の詳細な説明
【技術分野】
【0001】
本開示は、端子金具、及びコネクタに関する。
続きを表示(約 2,000 文字)
【背景技術】
【0002】
特許文献1には、複数の端子が弾性的に変形することによって内側ハウジングを前後方向及び左右方向に変位(すなわち、フローティング)させる技術が開示されている。
【先行技術文献】
【特許文献】
【0003】
特開2018-195567号公報
【発明の概要】
【発明が解決しようとする課題】
【0004】
特許文献1の端子は、弾性部が弾性変形する。弾性部は、長手方向に直交する断面形状が、ほぼ正方形状をなしており、これにより、弾性部によって内側ハウジングを前後方向及び左右方向に円滑に変位させることを実現している。ここで、より大きな電流を端子に流そうとした場合、弾性部の長手方向に直交する断面積を大きくする必要が生じる。しかし、この断面積を大きくしてしまうと、弾性部が弾性変形し難くなってしまい、内側ハウジングにおける前後方向及び左右方向への変位に支障を来すおそれがある。
【0005】
本開示のコネクタは、上記のような事情に基づいて完成されたものであって、フローティング構造を実現しつつ、より大きな電流を流すことができる端子金具、及びコネクタを提供することを目的とする。
【課題を解決するための手段】
【0006】
第1の開示の端子金具は、
相手側端子と接続する端子接続部と、
回路基板に接続される基板接続部と、
前記端子接続部と前記基板接続部の間に設けられて前記基板接続部と前記端子接続部との相対変位を許容する変位許容部と、
を有し、
前記変位許容部は、帯状をなして前後方向に延びる第1板部及び第2板部を具備し、
前記第1板部の後端部は、前記端子接続部側に連なり、
前記第2板部の後端部は、前記基板接続部側に連なり、
前記第1板部及び前記第2板部の前端部同士は、互いに連結し、
前記第1板部の板厚方向は、前記第2板部の板厚方向に対して交差する方向である。
【0007】
第2の開示のコネクタは、
第1の開示の端子金具と、
前記端子接続部を収容するキャビティを複数有する内側ハウジングと、
前記基板接続部が連結する外側ハウジングと、
を備える。
【発明の効果】
【0008】
本開示によれば、フローティング構造を実現しつつ、より大きな電流を流すことができる端子金具、及びコネクタを提供することができる。
【図面の簡単な説明】
【0009】
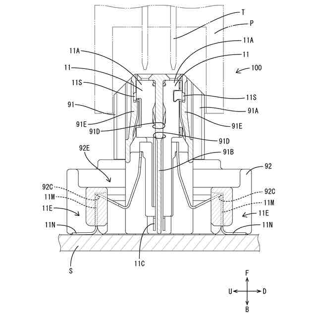
図1は、実施形態1のコネクタを示す分解斜視図である。
図2は、端子金具を斜め上方から見た斜視図である。
図3は、端子金具を斜め下方から見た斜視図である。
図4は、端子金具の端子接続部を正面から見た正面図である。
図5は、端子金具がキャリアにつながり展開された状態、及び曲げ加工が終了しキャリアにつながった端子金具を示す斜視図である。
図6は、内側ハウジングを示す斜視図である。
図7は、外側ハウジングを示す斜視図である。
図8は、コネクタを左右方向及び前後方向に沿って切断した側断面図である。
図9は、コネクタを上下方向及び前後方向に沿って切断した側断面図である。
図10は、内側ハウジングが外側ハウジングに対して左右方向に変位した状態を示す、部分拡大側断面図である。
図11は、内側ハウジングが外側ハウジングに対して上下方向に変位した状態を示す、部分拡大側断面図である。
図12は、実施形態2のコネクタを示す分解斜視図である。
図13は、実施形態2の端子金具を斜め上方から見た斜視図である。
図14は、実施形態2の外側ハウジングを示す斜視図である。
図15は、実施形態2のコネクタを示す側断面図である。
【発明を実施するための形態】
【0010】
[本開示の実施形態の説明]
最初に本開示の実施態様を列記して説明する。
(1)相手側端子と接続する端子接続部と、
回路基板に接続される基板接続部と、
前記端子接続部と前記基板接続部の間に設けられて前記基板接続部と前記端子接続部との相対変位を許容する変位許容部と、
を有し、
前記変位許容部は、帯状をなして前後方向に延びる第1板部及び第2板部を具備し、
前記第1板部の後端部は、前記端子接続部側に連なり、
前記第2板部の後端部は、前記基板接続部側に連なり、
前記第1板部及び前記第2板部の前端部同士は、互いに連結し、
前記第1板部の板厚方向は、前記第2板部の板厚方向に対して交差する方向である、端子金具。
(【0011】以降は省略されています)
この特許をJ-PlatPat(特許庁公式サイト)で参照する
関連特許
APB株式会社
蓄電セル
25日前
東ソー株式会社
絶縁電線
27日前
個人
フレキシブル電気化学素子
1か月前
株式会社東芝
端子台
19日前
株式会社ユーシン
操作装置
1か月前
ローム株式会社
半導体装置
26日前
日新イオン機器株式会社
イオン源
1か月前
マクセル株式会社
電源装置
19日前
株式会社GSユアサ
蓄電装置
20日前
株式会社GSユアサ
蓄電設備
1か月前
株式会社GSユアサ
蓄電装置
20日前
株式会社GSユアサ
蓄電装置
12日前
株式会社GSユアサ
蓄電設備
1か月前
株式会社ホロン
冷陰極電子源
1か月前
太陽誘電株式会社
コイル部品
1か月前
三菱電機株式会社
回路遮断器
6日前
オムロン株式会社
電磁継電器
1か月前
日東電工株式会社
積層体
1か月前
トヨタ自動車株式会社
バッテリ
25日前
サクサ株式会社
電池の固定構造
1か月前
トヨタ自動車株式会社
蓄電装置
1か月前
日新イオン機器株式会社
基板処理装置
22日前
北道電設株式会社
配電具カバー
25日前
日本特殊陶業株式会社
保持装置
28日前
トヨタ自動車株式会社
蓄電装置
20日前
トヨタ自動車株式会社
冷却構造
27日前
ノリタケ株式会社
熱伝導シート
1か月前
日本特殊陶業株式会社
保持装置
11日前
ベストテック株式会社
装置支持具
1か月前
ローム株式会社
半導体装置
27日前
株式会社レゾナック
冷却器
6日前
東レエンジニアリング株式会社
実装装置
1か月前
甲神電機株式会社
変流器及び零相変流器
13日前
トヨタ自動車株式会社
電池パック
1か月前
住友電装株式会社
コネクタ
27日前
株式会社ダイヘン
搬送装置
1か月前
続きを見る
他の特許を見る