TOP
|
特許
|
意匠
|
商標
特許ウォッチ
Twitter
他の特許を見る
10個以上の画像は省略されています。
公開番号
2025153166
公報種別
公開特許公報(A)
公開日
2025-10-10
出願番号
2024055490
出願日
2024-03-29
発明の名称
光コネクタおよび光コネクタの取り付け方法
出願人
住友電工オプティフロンティア株式会社
,
住友電気工業株式会社
,
日本通信電材株式会社
代理人
弁理士法人信栄事務所
主分類
G02B
6/38 20060101AFI20251002BHJP(光学)
要約
【課題】光コネクタの大型化を抑制しつつ、屋外における光コネクタの組立作業性が向上した光コネクタを提供する。
【解決手段】光コネクタは、光ファイバケーブルに取り付けられる。光コネクタは、短尺光ファイバを保持するスタブと、スタブを付勢する付勢部材と、短尺光ファイバと光ファイバケーブルから露出された光ファイバとが融着接続された融着接続部を収容するハウジングと、スタブ、付勢部材およびハウジングを収容するカバーと、を備えている。ハウジングは、第一貫通孔を有し、付勢部材を支持する第一ハウジング部と、第二貫通孔を有し、カバーに固定される第二ハウジング部とを有する。第一ハウジング部の第一貫通孔の内径は、光ファイバケーブルの外径よりも小さく、且つ、光ファイバケーブルの光ファイバの外径よりも大きい。第二ハウジング部の第二貫通孔の内径は、光ファイバケーブルの外径よりも大きい。
【選択図】図2
特許請求の範囲
【請求項1】
光ファイバケーブルに取り付けられる光コネクタであって、
短尺光ファイバを保持するスタブと、
前記スタブを付勢する付勢部材と、
前記短尺光ファイバと前記光ファイバケーブルから露出された光ファイバとが融着接続された融着接続部を収容するハウジングと、
前記スタブ、前記付勢部材および前記ハウジングを収容するカバーと、
を備えており、
前記ハウジングは、第一貫通孔を有し、前記付勢部材を支持する第一ハウジング部と、第二貫通孔を有し、前記カバーに固定される第二ハウジング部とを有しており、
前記第一ハウジング部の前記第一貫通孔の内径は、前記光ファイバケーブルの外径よりも小さく、且つ、前記光ファイバケーブルの前記光ファイバの外径よりも大きく、
前記第二ハウジング部の前記第二貫通孔の内径は、前記光ファイバケーブルの外径よりも大きい、光コネクタ。
続きを表示(約 1,300 文字)
【請求項2】
前記第一ハウジング部は、前記第一貫通孔に沿って延びており第一貫通孔に連通するスリットを有する、請求項1に記載の光コネクタ。
【請求項3】
前記光ファイバケーブルから露出された前記光ファイバを収容するフレキシブルチューブを備えている、請求項1または請求項2に記載の光コネクタ。
【請求項4】
前記カバーと前記フレキシブルチューブの第一端部とを接続する第一接続部と、
前記光ファイバケーブルを収容するケーブル収容部と、
前記フレキシブルチューブの第二端部と前記ケーブル収容部とを接続する第二接続部と、
前記第一接続部と前記フレキシブルチューブの前記第一端部との間に配置され、前記第一接続部と前記フレキシブルチューブの前記第一端部との間を封止する第一シール部材と、
前記第二接続部と前記フレキシブルチューブの前記第二端部との間に配置され、前記第二接続部と前記フレキシブルチューブの前記第二端部との間を封止する第二シール部材と、
を備えている、請求項3に記載の光コネクタ。
【請求項5】
前記ケーブル収容部と前記第二接続部との間に配置され、前記ケーブル収容部と前記第二接続部との間を封止する第三シール部材を備えている、請求項4に記載の光コネクタ。
【請求項6】
前記光ファイバケーブルを保持するC字形状のクランプ部材を備えており、
前記クランプ部材は、前記第二接続部に固定されている、請求項4に記載の光コネクタ。
【請求項7】
前記フレキシブルチューブに収容される前記光ファイバの長さは、前記フレキシブルチューブの長さよりも長い、請求項3に記載の光コネクタ。
【請求項8】
短尺光ファイバを保持するスタブと、第一貫通孔を有する第一ハウジング部と、第二貫通孔を有する第二ハウジング部とを備えた光コネクタを光ファイバケーブルに取り付ける方法であって、
前記第二ハウジング部の前記第二貫通孔に光ファイバケーブルを挿通させる工程と、
前記スタブに保持された前記短尺光ファイバと前記光ファイバケーブルから露出した光ファイバとを融着接続して融着接続部を形成する工程と、
前記第一ハウジング部の前記第一貫通孔に前記光ファイバケーブルから露出した前記光ファイバを挿通させる工程と、
前記第一ハウジング部の前記第一貫通孔内に前記融着接続部を配置させた状態で、前記スタブに前記第一ハウジング部と前記第二ハウジングを取り付ける工程と、
を有しており、
前記第一ハウジング部の前記第一貫通孔の内径は、前記光ファイバケーブルの外径よりも小さく、且つ、前記光ファイバケーブルの前記光ファイバの外径よりも大きく、
前記第二ハウジング部の前記第二貫通孔の内径は、前記光ファイバケーブルの外径よりも大きい、光コネクタの取り付け方法。
【請求項9】
フレキシブルチューブ内に前記光ファイバケーブルから露出された前記光ファイバを弛んだ状態で収容する工程を有する、請求項8に記載の光コネクタの取り付け方法。
発明の詳細な説明
【技術分野】
【0001】
本開示は、光コネクタおよび光コネクタの取り付け方法に関する。
続きを表示(約 2,500 文字)
【背景技術】
【0002】
特許文献1、特許文献2および特許文献3は、現地で光ファイバケーブルに取り付けられる光コネクタを開示している。
【0003】
特許文献4は、フレキシブルチューブを装着した光コネクタを開示している。
【先行技術文献】
【特許文献】
【0004】
特開2009-205100号公報
特開2002-082257号公報
米国特許出願公開第2022/0326452号明細書
米国特許第9057845号明細書
【発明の概要】
【発明が解決しようとする課題】
【0005】
上記のように現地(工事現場など)で光ファイバケーブルに光コネクタを取り付ける場合、光コネクタの組立作業性の観点から、光コネクタの組み立て前に光コネクタを構成する部品の一部を予め光ファイバケーブルに挿通している。しかしながら、屋外で光ファイバケーブルに光コネクタを取り付ける場合、屋外環境性能に合わせて光ファイバケーブルの外被が太く形成されているので、光コネクタを構成する部品によっては予め光ファイバケーブルに挿通することが難しい。また、そのような部品を光ファイバケーブルに挿通可能に構成すると、光コネクタの大型化を招く。
【0006】
本開示の目的は、光コネクタの大型化を抑制しつつ、屋外における光コネクタの組立作業性が向上した光コネクタおよび光コネクタの取り付け方法を提供することである。
【課題を解決するための手段】
【0007】
本開示の光コネクタは、光ファイバケーブルに取り付けられる光コネクタであって、
短尺光ファイバを保持するスタブと、
前記スタブを付勢する付勢部材と、
前記短尺光ファイバと前記光ファイバケーブルから露出された光ファイバとが融着接続された融着接続部を収容するハウジングと、
前記スタブ、前記付勢部材および前記ハウジングを収容するカバーと、
を備えており、
前記ハウジングは、第一貫通孔を有し、前記付勢部材を支持する第一ハウジング部と、第二貫通孔を有し、前記カバーに固定される第二ハウジング部とを有しており、
前記第一ハウジング部の前記第一貫通孔の内径は、前記光ファイバケーブルの外径よりも小さく、且つ、前記光ファイバケーブルの前記光ファイバの外径よりも大きく、
前記第二ハウジング部の前記第二貫通孔の内径は、前記光ファイバケーブルの外径よりも大きい。
【発明の効果】
【0008】
本開示によれば、光コネクタの大型化を抑制しつつ、屋外における光コネクタの組立作業性が向上した光コネクタおよび光コネクタの取り付け方法を提供できる。
【図面の簡単な説明】
【0009】
図1は、本開示の実施形態に係る光コネクタの構成を例示する斜視図である。
図2は、光コネクタの分解斜視図である。
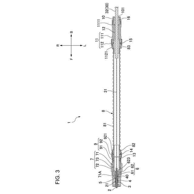
図3は、図1における線III-IIIに沿う断面を矢印方向から見た構成を例示する断面図である。
図4は、第一ハウジング部の上方斜視図である。
図5は、第二ハウジング部の下方斜視図である。
図6は、光コネクタの取り付け手順を説明する工程図である。
図7は、光コネクタの取り付け手順を説明する工程図である。
図8は、光コネクタの取り付け手順を説明する工程図である。
図9は、光コネクタの取り付け手順を説明する工程図である。
図10は、光コネクタの取り付け手順を説明する工程図である。
図11は、光コネクタの取り付け手順を説明する工程図である。
図12は、光コネクタの取り付け手順を説明する工程図である。
図13は、光コネクタの取り付け手順を説明する工程図である。
図14は、光コネクタの取り付け手順を説明する工程図である。
図15は、光ファイバを弛ませる方法の別例を例示している。
図16は、光ファイバを弛ませる方法の別例を例示している。
図17は、光ファイバを弛ませる方法の別例を例示している。
図18は、光ファイバを弛ませる方法の別例を例示している。
図19は、光ファイバを弛ませる方法の別例を例示している。
図20は、光ファイバを弛ませる方法の別例を例示している。
図21は、光ファイバを弛ませる方法の別例を例示している。
図22は、光ファイバを弛ませる方法の別例を例示している。
図23は、光ファイバを弛ませる方法の別例を例示している。
図24は、第一ハウジング部の構成の別例を示している。
図25は、第一ハウジング部の構成の別例を示している。
【発明を実施するための形態】
【0010】
[本開示の実施形態の説明]
最初に本開示の実施態様を列記して説明する。
本開示の光コネクタは、
(1)光ファイバケーブルに取り付けられる光コネクタであって、
短尺光ファイバを保持するスタブと、
前記スタブを付勢する付勢部材と、
前記短尺光ファイバと前記光ファイバケーブルから露出された光ファイバとが融着接続された融着接続部を収容するハウジングと、
前記スタブ、前記付勢部材および前記ハウジングを収容するカバーと、
を備えており、
前記ハウジングは、第一貫通孔を有し、前記付勢部材を支持する第一ハウジング部と、第二貫通孔を有し、前記カバーに固定される第二ハウジング部とを有しており、
前記第一ハウジング部の前記第一貫通孔の内径は、前記光ファイバケーブルの外径よりも小さく、且つ、前記光ファイバケーブルの前記光ファイバの外径よりも大きく、
前記第二ハウジング部の前記第二貫通孔の内径は、前記光ファイバケーブルの外径よりも大きい。
(【0011】以降は省略されています)
この特許をJ-PlatPat(特許庁公式サイト)で参照する
関連特許
東レ株式会社
積層フィルム
4日前
スタンレー電気株式会社
照明装置
5日前
日本電気株式会社
光集積回路素子
2日前
日東電工株式会社
調光フィルム
3日前
住友化学株式会社
積層体
2日前
日本分光株式会社
赤外顕微鏡
9日前
旭化成株式会社
成形体
9日前
日本精機株式会社
ヘッドアップディスプレイ装置
3日前
旭化成株式会社
成形体
9日前
住友ベークライト株式会社
積層体の製造方法
3日前
キヤノン株式会社
レンズ装置および撮像装置
3日前
Orbray株式会社
MEMS光スイッチの制御方法
3日前
古河電気工業株式会社
光モジュール、光接続構造
3日前
住友化学株式会社
偏光板及び画像表示装置
4日前
京セラ株式会社
走査装置及び制御装置
2日前
住友ベークライト株式会社
光学シート
2日前
京セラ株式会社
走査装置及び制御装置
2日前
TDK株式会社
メタサーフェスレンズ
2日前
日東電工株式会社
積層光学部材及び光学装置
2日前
住友ベークライト株式会社
光学性積層体
2日前
国立大学法人徳島大学
光共振器、及び光周波数コム発生装置
3日前
国立大学法人徳島大学
光共振器、及び光周波数コム発生装置
3日前
住友ベークライト株式会社
光学性積層体
2日前
日本カーバイド工業株式会社
微小球型再帰反射シート
2日前
日本カーバイド工業株式会社
微小球型再帰反射シート
2日前
住友化学株式会社
積層体および表示装置
2日前
株式会社精工技研
光コネクタプラグおよびロック工具
4日前
株式会社トプコン
ミラー部材
2日前
東レ株式会社
黒色樹脂組成物
9日前
日東電工株式会社
光ファイバ
4日前
日本カーバイド工業株式会社
カプセル型再帰反射シート
4日前
日本カーバイド工業株式会社
カプセル型再帰反射シート
4日前
株式会社精工技研
二連式の光コネクタプラグ
5日前
住友ベークライト株式会社
電子調光デバイス
9日前
キヤノン株式会社
表示光学系および表示装置
9日前
キヤノン株式会社
ズームレンズおよび撮像装置
3日前
続きを見る
他の特許を見る