TOP
|
特許
|
意匠
|
商標
特許ウォッチ
Twitter
他の特許を見る
公開番号
2025153622
公報種別
公開特許公報(A)
公開日
2025-10-10
出願番号
2024056182
出願日
2024-03-29
発明の名称
筐体、および車両用充電装置
出願人
株式会社オートネットワーク技術研究所
,
住友電装株式会社
,
住友電気工業株式会社
代理人
弁理士法人サンクレスト国際特許事務所
主分類
H02J
7/00 20060101AFI20251002BHJP(電力の発電,変換,配電)
要約
【課題】防水部材を挟持する力を均等にすることができる技術を提供する。
【解決手段】本開示である筐体は、開口および前記開口の周縁に沿うフランジ部を有する筐体本体と、前記開口および前記フランジ部に対向配置される蓋と、前記フランジ部と前記蓋との間に介在する防水部材と、前記フランジ部と前記蓋とを固定する固定部材と、を備える。前記固定部材は、前記フランジ部と前記蓋との間に介在するスペーサを備える。
【選択図】図5
特許請求の範囲
【請求項1】
開口および前記開口の周縁に沿うフランジ部を有する筐体本体と、
前記開口および前記フランジ部に対向配置される蓋と、
前記フランジ部と前記蓋との間に介在する防水部材と、
前記フランジ部と前記蓋とを固定する固定部材と、を備え、
前記固定部材は、前記フランジ部と前記蓋との間に介在するスペーサを備える
筐体。
続きを表示(約 1,200 文字)
【請求項2】
前記蓋は、
蓋本体と、
前記蓋本体の周縁から前記フランジ部側へ延びて、前記蓋本体と前記フランジ部との間を覆う折り曲げ部と、を有する
請求項1に記載の筐体。
【請求項3】
前記スペーサは、前記フランジ部に固定される固定部を有する複数の柱部を含み、
前記固定部材は、前記蓋に設けられた複数の貫通孔に差し込まれて前記複数の柱部にねじ締結し前記複数の柱部との間で前記蓋を挟持する複数のねじ部材をさらに備える
請求項2に記載の筐体。
【請求項4】
前記フランジ部は、
先端が前記折り曲げ部に対向する複数の幅狭部と、
前記幅狭部よりも幅が広い複数の幅広部と、を有し、
前記複数の幅広部は、前記複数の固定部が圧入固定される複数の固定孔を有し、
前記折り曲げ部は、前記折り曲げ部の先端部から前記蓋本体側へ凹み、前記複数の幅広部が差し込まれる複数の切り欠き部を有する
請求項3に記載の筐体。
【請求項5】
前記折り曲げ部は、前記複数の切り欠き部のうちの互いに隣り合う一対の切り欠き部の間に位置し前記先端部を有する板部を有し、
前記板部の先端縁の長さは、前記複数の幅広部のうち、前記一対の切り欠き部に差し込まれる一対の幅広部同士の間隔よりも短く、
前記一対の切り欠き部は、それぞれ、
底部と、
前記先端縁の端部と前記底部とを繋ぐ側部と、を有し、
前記側部は、前記底部から前記端部へ向かって前記一対の切り欠き部の切り欠き幅が広がるように傾斜している
請求項4に記載の筐体。
【請求項6】
前記筐体本体および前記蓋は矩形状を有し、
前記折り曲げ部は、前記蓋の長辺に沿う第1折り曲げ部および前記蓋の短辺に沿う第2折り曲げ部を含み、
前記一対の切り欠き部は、前記第1折り曲げ部および前記第2折り曲げ部のそれぞれに、少なくとも1つ設けられ、
前記一対の幅広部は、前記一対の切り欠き部に対応して、前記フランジ部の長辺側および短辺側のそれぞれに、少なくとも1つ設けられる
請求項5に記載の筐体。
【請求項7】
前記スペーサは、前記蓋本体の周縁に固定される固定部を有する複数の柱部を含み、
前記固定部材は、前記フランジ部に設けられた複数の貫通孔に差し込まれて前記複数の柱部にねじ締結し前記複数の柱部との間で前記フランジ部を挟持する複数のねじ部材をさらに備える
請求項2に記載の筐体。
【請求項8】
電力変換装置と、
車両に接続され、前記電力変換装置が出力する電力を前記車両へ与える充電ケーブルと、を備え、
前記電力変換装置は、
カバーと、
前記電力を出力する電気回路を収容する請求項1に記載の筐体と、を備える
車両用充電装置。
発明の詳細な説明
【技術分野】
【0001】
本開示は、筐体、および車両用充電装置に関する。
続きを表示(約 1,500 文字)
【背景技術】
【0002】
特許文献1には、設置型の電力変換装置が開示されている。この電力変換装置は、内部に回路部品が収容される回路部品収容空間を有している。回路部品収容空間には、回路部品が収容された防水箱が配置されている。
【先行技術文献】
【特許文献】
【0003】
特開2020-36456号公報
【発明の概要】
【発明が解決しようとする課題】
【0004】
上記従来例では、筐体内に防水箱を配置することで回路部品に対する防水が行われているが、防水箱を設けない構成等、筐体自身を防水構造にする必要がある場合も考えられる。
筐体は、通常、内部に回路部品等を収容するための開口を有する筐体本体と、前記開口を塞ぐ蓋を有する。筐体外部の水分は、蓋と筐体本体との間から侵入することが考えられる。よって、蓋の周縁と筐体本体との間にゴム等の弾性素材からなる防水部材を介在させる必要がある。
【0005】
ここで、防水部材は、蓋と筐体本体との間で挟持され、蓋および筐体本体に密着することで防水効果が得られる。
しかし、電力変換装置の筐体は比較的大きく、蓋の周縁と筐体本体との間に介在する防水部材も比較的長尺となる。このため、防水部材を挟持する力が蓋の周縁全体で不均等になることがあった。防水部材を挟持する力が不均等になると、防水効果も不均等となり、必要な防水効果が得られないおそれが生じる。
そこで、本開示は、防水部材を挟持する力をできるだけ均等にする技術の提供を目的とする。
【課題を解決するための手段】
【0006】
本開示の実施形態である筐体は、開口および前記開口の周縁に沿うフランジ部を有する筐体本体と、前記開口および前記フランジ部に対向配置される蓋と、前記フランジ部と前記蓋との間に介在する防水部材と、前記フランジ部と前記蓋とを固定する固定部材と、を備える。前記固定部材は、前記フランジ部と前記蓋との間に介在するスペーサを備える。
【発明の効果】
【0007】
本開示によれば、防水部材を挟持する力を均等にすることができる。
【図面の簡単な説明】
【0008】
図1は、実施形態に係る車両用充電装置の一例を示す斜視図である。
図2は、車両用充電装置の分解斜視図である。
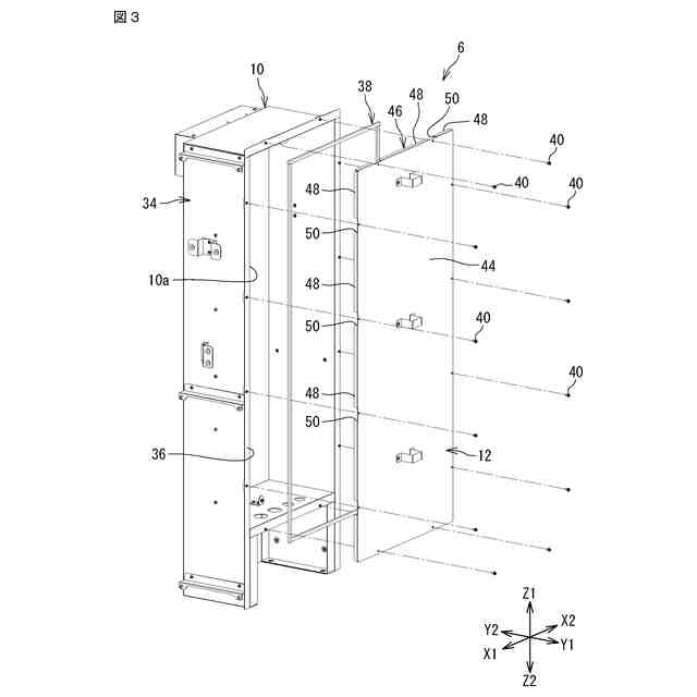
図3は、筐体の分解斜視図である。
図4は、筐体の要部を拡大した分解斜視図である。
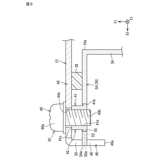
図5は、フランジ部のうちの幅広部周辺を拡大した断面図である。
図6は、図4中の切り欠き部をX方向に沿って見たときの図である。
【発明を実施するための形態】
【0009】
最初に実施形態の内容を列記して説明する。
[実施形態の概要]
【0010】
(1)本開示の実施形態である筐体は、開口および前記開口の周縁に沿うフランジ部を有する筐体本体と、前記開口および前記フランジ部に対向配置される蓋と、前記フランジ部と前記蓋との間に介在する防水部材と、前記フランジ部と前記蓋とを固定する固定部材と、を備える。前記固定部材は、前記フランジ部と前記蓋との間に介在するスペーサを備える。
上記構成によれば、スペーサによって、フランジ部と蓋との間隔を、蓋の周縁全体に亘って予め適切な値に設定することができる。よって、防水部材を挟持する力をできるだけ均等にすることができる。
(【0011】以降は省略されています)
この特許をJ-PlatPat(特許庁公式サイト)で参照する
関連特許
個人
バッテリ内蔵直流電源
23日前
株式会社アイシン
ロータ
2日前
株式会社FUJI
制御盤
13日前
オムロン株式会社
電源回路
17日前
西部電機株式会社
充電装置
5日前
西部電機株式会社
充電装置
5日前
オムロン株式会社
電源回路
17日前
オムロン株式会社
電源回路
17日前
日本精機株式会社
サージ保護回路
5日前
トヨタ自動車株式会社
回転子
9日前
トヨタ自動車株式会社
固定子
3日前
ミサワホーム株式会社
居住設備
13日前
東京応化工業株式会社
発電装置
17日前
トヨタ自動車株式会社
製造装置
3日前
個人
連続ガウス加速器形磁力増幅装置
5日前
株式会社ダイヘン
充電装置
2日前
株式会社アイシン
ステータ
2日前
株式会社ダイヘン
充電装置
2日前
株式会社ダイヘン
充電装置
2日前
株式会社ダイヘン
充電装置
2日前
株式会社アイシン
ステータ
2日前
東京瓦斯株式会社
通信装置
4日前
株式会社ミツバ
ブラシレスモータ
4日前
カヤバ株式会社
筒型リニアモータ
4日前
個人
太陽エネルギー収集システム
3日前
株式会社アイシン
ステータ
2日前
株式会社アイシン
ステータ
2日前
株式会社リコー
拡張アンテナ装置
16日前
ニチコン株式会社
AC入力検出回路
9日前
ユタカ電業株式会社
ケーブルダクト
13日前
トヨタ自動車株式会社
被膜形成装置
3日前
トヨタ自動車株式会社
ロータ
11日前
日産自動車株式会社
ステータ
10日前
株式会社ダイヘン
電力システム
5日前
株式会社ダイヘン
電力変換装置
5日前
株式会社正興電機製作所
地絡確認装置
16日前
続きを見る
他の特許を見る