TOP
|
特許
|
意匠
|
商標
特許ウォッチ
Twitter
他の特許を見る
公開番号
2025143999
公報種別
公開特許公報(A)
公開日
2025-10-02
出願番号
2024043548
出願日
2024-03-19
発明の名称
ステータ
出願人
日産自動車株式会社
代理人
個人
,
個人
主分類
H02K
1/18 20060101AFI20250925BHJP(電力の発電,変換,配電)
要約
【課題】従来のステータでは、鋼板の積層体であるステータコアを微視的に見ると、鋼板同士に段差による微細なエアギャップが多く存在し、ステータコアからステータホルダへの放熱性が下がるおそれがあった。
【解決手段】鋼板1Aを積層して成る円筒状のステータコア1と、その外周に焼き嵌めした円筒状のハウジング2とを備えると共に、ステータコア1とハウジング2との間を満たす樹脂材4を備えたステータSとし、ステータコア1とハウジング2との実質的な接触面積を充分に確保して放熱性の向上を実現する。
【選択図】図1
特許請求の範囲
【請求項1】
鋼板を積層して成る円筒状のステータコアと、その外周に焼き嵌めした円筒状のハウジングとを備えたステータであって、
前記ステータコアと前記ハウジングとの間を満たす樹脂材を備えたことを特徴とするステータ。
続きを表示(約 440 文字)
【請求項2】
前記ハウジングの内周面において、前記ステータコアの焼き嵌め範囲に溝を配置したことを特徴とする請求項1に記載のステータ。
【請求項3】
前記溝が、前記ハウジングの円周方向に連続した円周溝であって、前記円周溝を前記ハウジングの軸線方向に所定間隔で配置したことを特徴とする請求項2に記載のステータ。
【請求項4】
前記溝が、前記ハウジングの軸線方向に連続した軸線溝であって、前記軸線溝を前記ハウジングの円周方向に所定間隔で配置したことを特徴とする請求項2に記載のステータ。
【請求項5】
前記溝が、前記ハウジングの円周方向に所定間隔で配置した前記円周溝、及び前記ハウジングの円周方向に所定間隔で配置した前記軸線溝であることを特徴とする請求項2に記載のステータ。
【請求項6】
前記溝が、前記ハウジングの円周方向及び軸線方向に連続する少なくとも1条の螺旋溝であることを特徴とする請求項2に記載のステータ。
発明の詳細な説明
【技術分野】
【0001】
本発明は、モータや発電機である回転電機に用いられるステータに関するものである。
続きを表示(約 1,600 文字)
【背景技術】
【0002】
従来におけるステータとしては、例えば、特許文献1に記載されたものがある。特許文献1には、ステータ及びロータをハウジングに収容したモータが記載されている。ステータは、鋼板を積層して成るステータコアと、ステータコアに巻回したコイルと、コイルエンドを覆う樹脂部と、ステータコアの外周に固定した円筒形のステータホルダとを備えている。そして、モータは、ステータホルダとハウジングとの間に、冷却流体の流路を備えており、ステータホルダ及び樹脂部を介して、コイルで発生した熱を流路に放出する構造になっている。
【先行技術文献】
【特許文献】
【0003】
特許第6330938号公報
【発明の概要】
【発明が解決しようとする課題】
【0004】
しかしながら、上記したステータでは、プレスで打ち抜いた多数の電磁鋼板を積層して成るステータコアを用いているので、微視的に見ると鋼板同士の間に段差があり、この段差による微細なエアギャップが多く存在するので、その分、ステータコアとステータホルダとの接触面積が低下して放熱性も下がるおそれがあった。
【0005】
本発明は、上記従来の状況に鑑みて成されたものであって、鋼板を積層して成るステータコアの外周にハウジングを焼き嵌めした構造を有するステータであって、ステータコアとハウジングとの実質的な接触面積を充分に確保して、放熱性を高めることができるステータを提供することを目的としている。
【課題を解決するための手段】
【0006】
本発明に係わるステータは、鋼板を積層して成る円筒状のステータコアと、その外周に焼き嵌めした円筒状のハウジングとを備えたステータであって、ステータコアとハウジングとの間を満たす樹脂材を備えたことを特徴としている。
【発明の効果】
【0007】
本発明に係わるステータは、上記構成を採用したことにより、樹脂材によりステータコアとハウジングとの間に生じる微細なエアギャップが解消され、ステータコアとハウジングとの実質的な接触面積を充分に確保することができ、ステータコアからハウジングへの放熱性を高めることができる。
【図面の簡単な説明】
【0008】
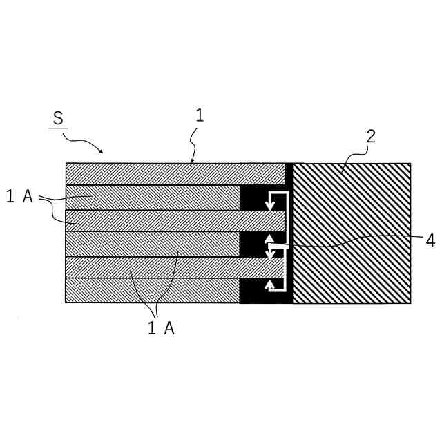
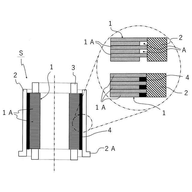
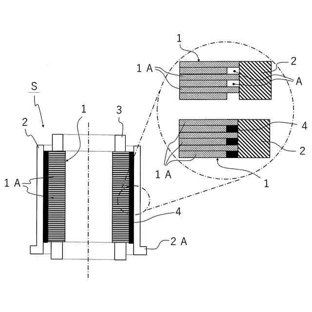
本発明に係わるステータの第1実施形態を示す拡大図付きの断面図である。
図1に示すステータの要部の断面図である。
図1に示すステータの製造方法の2例を説明する断面図(A)(B)である。
本発明の第2実施形態におけるハウジングの拡大図付き斜視図である。
図4に示すハウジングを備えたステータの要部の断面図である。
本発明の第3実施形態におけるハウジングの拡大図付き斜視図である。
本発明の第4実施形態におけるハウジングの斜視図である。
本発明の第5実施形態におけるハウジングの拡大図付き斜視図である。
【発明を実施するための形態】
【0009】
<第1実施形態>
図1に示すステータSは、円筒状のステータコア1と、その外周に焼き嵌めした円筒状のハウジング2とを備えている。ステータコア1は、プレスにより打ち抜いた多数の鋼板(電磁鋼板)1Aを積層したものであって、図示しないスロットにコイル3が巻回してある。ハウジング2は、金属製であって、図示例では、軸線方向の一端部(図中で下端部)に外向きのフランジ2Aを有している。
【0010】
上記のステータコア1は、プレス成形した多数枚の鋼板1Aを用いているので、図1中の拡大図上段に示すように、微視的に見ると鋼板1A同士の間に段差があり、その段差によりステータコア1とハウジング2との間に微細なエアギャップ(隙間)Aが存在する。
(【0011】以降は省略されています)
この特許をJ-PlatPat(特許庁公式サイト)で参照する
関連特許
日産自動車株式会社
保持機構
16日前
日産自動車株式会社
二次電池
9日前
日産自動車株式会社
二次電池
6日前
日産自動車株式会社
保持機構
10日前
日産自動車株式会社
積層型電池
16日前
日産自動車株式会社
面圧付与機構
16日前
日産自動車株式会社
面圧付与機構
12日前
日産自動車株式会社
電池モジュール
3日前
日産自動車株式会社
リチウム二次電池
9日前
日産自動車株式会社
エンジンのアンダカバー
3日前
日産自動車株式会社
ギヤ装置のブリーザ構造
12日前
株式会社ニフコ
締結構造
3日前
日産自動車株式会社
相乗り可否判定方法及び装置
6日前
日産自動車株式会社
車両用荷室における排熱構造
6日前
日産自動車株式会社
配車管理装置及び配車管理方法
17日前
日産自動車株式会社
車両制御装置及び車両制御方法
17日前
日産自動車株式会社
画像処理方法及び画像処理装置
23日前
日産自動車株式会社
経路案内方法及び経路案内装置
11日前
日産自動車株式会社
画像表示方法及び画像表示装置
23日前
日産自動車株式会社
車載機能制御方法及び車載端末
11日前
日産自動車株式会社
施錠制御方法及び施錠制御装置
5日前
日産自動車株式会社
運転支援方法及び運転支援装置
3日前
日産自動車株式会社
運転支援方法及び運転支援装置
4日前
日産自動車株式会社
固体酸化物形燃料電池の製造方法
18日前
日産自動車株式会社
車両制御方法および車両制御装置
4日前
日産自動車株式会社
車両制御方法および車両制御装置
4日前
日産自動車株式会社
車両制御方法および車両制御装置
4日前
日産自動車株式会社
車両管理方法及び車両管理システム
11日前
日産自動車株式会社
内燃機関の油温制御方法および装置
12日前
日産自動車株式会社
充放電制御方法及び充放電制御システム
24日前
日産自動車株式会社
電池劣化診断方法及び電池劣化診断装置
17日前
日産自動車株式会社
電池の仕分け方法及び電池の仕分け装置
17日前
日産自動車株式会社
電池品質診断方法及び電池品質診断装置
17日前
日産自動車株式会社
車体姿勢制御方法及び車体姿勢制御装置
4日前
日産自動車株式会社
車両用内燃機関のトルクダウン制御方法および装置
6日前
日産自動車株式会社
ルート選出装置、ルート選出方法およびプログラム
17日前
続きを見る
他の特許を見る