TOP
|
特許
|
意匠
|
商標
特許ウォッチ
Twitter
他の特許を見る
公開番号
2025173694
公報種別
公開特許公報(A)
公開日
2025-11-28
出願番号
2024079369
出願日
2024-05-15
発明の名称
電池モジュール
出願人
日産自動車株式会社
代理人
弁理士法人とこしえ特許事務所
主分類
H01M
50/588 20210101AFI20251120BHJP(基本的電気素子)
要約
【課題】 強電部と筐体との間の電気的な絶縁を確保することができる電池モジュールを提供する。
【解決手段】電池モジュール1は、電池積層体20と、複数の電池セル21から延在するタブ211a
1
~211b
2
と接触すると共に、タブを冷却する絶縁性の冷却部材40と、冷却部材と接触する軽量部材50と、電池積層体と、冷却部材と、軽量部材と、を収容する筐体10と、タブに接合され、筐体の外部に露出するターミナルバスバ30a,30bと、を備え、冷却部材の熱伝導率は、軽量部材の熱伝導率よりも大きく、軽量部材の比重は、冷却部材の比重よりも小さく、軽量部材は、タブの延在方向において筐体と冷却部材との間に介在する本体部51,52と、当該本体部に接続し、ターミナルバスバと筐体との間に介在することにより、ターミナルバスバと筐体とを電気的に絶縁する壁部54と、を含む。
【選択図】図1
特許請求の範囲
【請求項1】
相互に積層されている複数の電池セルを含む電池積層体と、
前記複数の電池セルから延在するタブと接触すると共に、前記タブを冷却する絶縁性の冷却部材と、
前記冷却部材と接触する軽量部材と、
前記電池積層体と、前記冷却部材と、前記軽量部材と、を収容する筐体と、
前記タブに接合され、前記筐体の外部に露出するターミナルバスバと、を備え、
前記冷却部材の熱伝導率は、前記軽量部材の熱伝導率よりも大きく、
前記軽量部材の比重は、前記冷却部材の比重よりも小さく、
前記軽量部材は、
前記タブの延在方向において前記筐体と前記冷却部材との間に介在する本体部と、
前記本体部に接続し、前記ターミナルバスバと前記筐体との間に介在することにより、前記ターミナルバスバと前記筐体とを電気的に絶縁する壁部と、を含む電池モジュール。
続きを表示(約 1,200 文字)
【請求項2】
請求項1に記載の電池モジュールであって、
前記筐体は、
前記電池積層体を載置する底部と、
前記底部に立設されると共に、前記電池積層体と、前記冷却部材と、前記軽量部材と、を囲む側部と、
前記前記ターミナルバスバを露出させる第1開口部を有すると共に、前記電池積層体と、前記冷却部材と、前記軽量部材と、を前記底部と反対側から覆う蓋部と、含み、
前記壁部は、前記第1開口部において、前記側部と前記ターミナルバスバの露出部との間に介在することにより、前記側部と前記露出部とを電気的に絶縁する第1部分を含む電池モジュール。
【請求項3】
請求項2に記載の電池モジュールであって、
前記側部は、
前記複数の電池セルの積層方向において、前記電池積層体と対向するエンドプレートと、
前記タブの延在方向において、前記軽量部材と対向するサイドプレートと、を含み、
前記第1部分は、前記第1開口部において、前記サイドプレートと前記露出部との間に介在する電池モジュール。
【請求項4】
請求項1に記載の電池モジュールであって、
前記筐体は、
前記電池積層体を載置する底部と、
前記底部に立設されると共に、前記電池積層体と、前記冷却部材と、前記軽量部材と、を囲む側部と、を含み、
前記側部は、
前記複数の電池セルの積層方向において、前記電池積層体と対向するエンドプレートと、
前記タブの延在方向において、前記軽量部材と対向するサイドプレートと、を含み、
前記壁部は、前記複数の電池セルの積層方向において前記エンドプレートと前記ターミナルバスバとの間に介在することにより、前記エンドプレートと前記ターミナルバスバとを電気的に絶縁する第2部分を含む電池モジュール。
【請求項5】
請求項1に記載の電池モジュールであって、
前記電池モジュールは、前記軽量部材と、前記筐体の内面との間に介在する第1シール部材をさらに備える電池モジュール。
【請求項6】
請求項1に記載の電池モジュールであって、
前記本体部は、冷媒を流通させる流路をさらに含む電池モジュール。
【請求項7】
請求項6に記載の電池モジュールであって、
前記流路は、前記本体部の表面に形成された第2開口部をさらに含み、
前記筐体は、前記第2開口部と対向する第3開口部を含み、
前記電池モジュールは、前記第2及び第3開口部の間に介在する第2シール部材をさらに備える電池モジュール。
【請求項8】
請求項1~7のいずれか一項に記載の電池モジュールであって、
前記軽量部材は、前記筐体に固定されている電池モジュール。
発明の詳細な説明
【技術分野】
【0001】
本発明は、電池モジュールに関するものである。
続きを表示(約 1,300 文字)
【背景技術】
【0002】
蓄電セルを積層したセルスタックと、蓄電セルのタブに結合されたバスバと、バスバに沿って形成された管状の流路と、を有する蓄電装置が知られている(例えば、特許文献1)。この蓄電装置では、流路に熱媒体を流通させることにより、バスバを冷却している。
【先行技術文献】
【特許文献】
【0003】
特開2020-24886号公報
【発明の概要】
【発明が解決しようとする課題】
【0004】
しかしながら、上記従来技術における蓄電セルでは、蓄電セルのバスバに対して、冷却用の流路が線状に接触しており、流路とバスバの間の熱伝導効率が悪いため、電池セルの冷却効率が悪化してしまう。
【0005】
そこで、バスバに対して面状に接触可能な冷却樹脂などを使用すると、冷却樹脂は比較的質量が大きいため、電池モジュールの質量が増加してしまう。このため、冷却樹脂よりも軽量な部材を筐体内部に配置して、冷却樹脂の使用量を低減することが考えられる。
【0006】
この場合、電池モジュールの強電部と筐体との間の電気的な絶縁を確保する必要がある、という問題がある。
【0007】
本発明が解決しようとする課題は、強電部と筐体との間の電気的な絶縁を確保することができる電池モジュールを提供することである。
【課題を解決するための手段】
【0008】
本発明は、軽量部材に、ターミナルバスバと前記筐体との間に介在することにより、ターミナルバスバと筐体とを電気的に絶縁する壁部を設けることにより上記課題を解決する。
【発明の効果】
【0009】
本発明によれば、強電部と筐体との間の電気的な絶縁を確保することができる。
【図面の簡単な説明】
【0010】
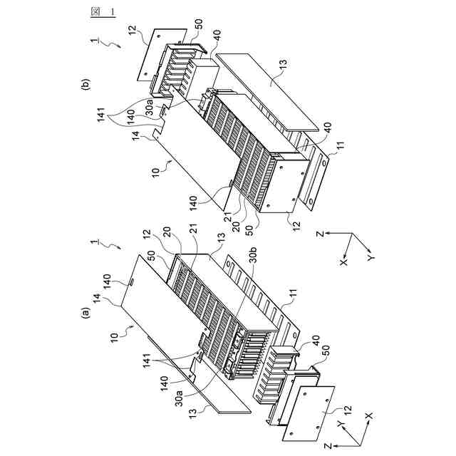
図1(a)は、本発明の実施形態における電池モジュールの一例を示す第1分解斜視図であり、図1(b)は、当該第1分解斜視図とは反対側から見た電池モジュールの一例を示す第2分解斜視図である。
図2(a)は、本発明の実施形態における電池モジュールのタブ近傍のXY平面に沿った断面図であり、図2(b)は、本発明の実施形態における電池モジュールのタブ近傍のYZ平面に沿った断面図である。
図3は、本発明の実施形態における第1分解斜視図において、タブ近傍を拡大した拡大斜視図である。
図4は、本発明の実施形態における軽量部材の一例を示す第1斜視図である。
図5は、本発明の実施形態におけるトッププレートの切り欠き近傍の拡大斜視図である。
図6(a)は、本発明の実施形態における軽量部材の一例を示す第2斜視図であり、図6(b)は、本発明の実施形態における軽量部材の一例を示す分解斜視図である。
図7は、本発明の実施形態における軽量部材の変形例を示す第3斜視図である。
【発明を実施するための形態】
(【0011】以降は省略されています)
この特許をJ-PlatPat(特許庁公式サイト)で参照する
関連特許
日産自動車株式会社
二次電池
1か月前
日産自動車株式会社
電動車両
26日前
日産自動車株式会社
電子機器
10日前
日産自動車株式会社
内燃機関
23日前
日産自動車株式会社
吸気装置
4日前
日産自動車株式会社
二次電池
1か月前
日産自動車株式会社
電池モジュール
1か月前
日産自動車株式会社
電池モジュール
2日前
日産自動車株式会社
ロータシャフト
18日前
日産自動車株式会社
ロータシャフト
18日前
日産自動車株式会社
電池モジュール
24日前
日産自動車株式会社
リチウム二次電池
23日前
日産自動車株式会社
車両用排気部構造
23日前
日産自動車株式会社
全固体電池システム
2日前
日産自動車株式会社
塗装方法及び自動車
25日前
日産自動車株式会社
エアレスタイヤ構造
10日前
日産自動車株式会社
ピックアップトラック
4日前
日産自動車株式会社
支援方法及び支援装置
4日前
日産自動車株式会社
エンジンのアンダカバー
1か月前
日産自動車株式会社
パワー半導体モジュール
2日前
株式会社ニフコ
締結構造
1か月前
日産自動車株式会社
車両用荷室における排熱構造
1か月前
日産自動車株式会社
車両乗り合わせ方法及び装置
3日前
日産自動車株式会社
相乗り可否判定方法及び装置
1か月前
日産自動車株式会社
車両制御装置及び車両制御方法
3日前
日産自動車株式会社
情報処理装置及び情報処理方法
2日前
日産自動車株式会社
運転支援方法及び運転支援装置
1か月前
日産自動車株式会社
運転支援方法及び運転支援装置
1か月前
日産自動車株式会社
情報提供方法及び情報提供装置
10日前
日産自動車株式会社
施錠制御方法及び施錠制御装置
1か月前
日産自動車株式会社
車両制御装置及び車両制御方法
3日前
日産自動車株式会社
衝突回避方法、及び衝突回避装置
23日前
日産自動車株式会社
物体検出方法、及び物体検出装置
23日前
日産自動車株式会社
車両制御方法および車両制御装置
1か月前
日産自動車株式会社
車両制御方法および車両制御装置
1か月前
日産自動車株式会社
車両制御方法および車両制御装置
1か月前
続きを見る
他の特許を見る