TOP
|
特許
|
意匠
|
商標
特許ウォッチ
Twitter
他の特許を見る
10個以上の画像は省略されています。
公開番号
2025173370
公報種別
公開特許公報(A)
公開日
2025-11-27
出願番号
2024078926
出願日
2024-05-14
発明の名称
車両乗り合わせ方法及び装置
出願人
日産自動車株式会社
代理人
個人
,
個人
,
個人
主分類
G08G
1/123 20060101AFI20251119BHJP(信号)
要約
【課題】空港に到着した航空機の降機者を合理的に車両に割り当てることが可能な自動運転車両乗り合わせ方法及び装置を提供する。
【解決手段】空港に到着する航空機の降機者が乗員として乗り合わせる車両1への降機者の割り当てを端末Dで行うにあたり、降機者が預け入れした荷物を受け取る時刻と降機者を紐付けし、荷物受け取り時刻が近しい降機者をグループ化して車両1に割り当てる。
【選択図】図8
特許請求の範囲
【請求項1】
空港に到着する航空機の降機者が乗員として乗り合わせる車両への前記降機者の割り当てを演算処理装置が行う車両乗り合わせ方法であって、
前記演算処理装置は、前記降機者が預け入れした荷物を受け取る時刻と前記降機者を紐付けし、荷物受け取り時刻が近しい前記降機者をグループ化して前記車両に割り当てることを特徴とする車両乗り合わせ方法。
続きを表示(約 490 文字)
【請求項2】
荷物を預け入れしない前記降機者で且つ前記荷物受け取り時刻に近しい所定時刻に空港内又はその近傍の所定の場所に来られる降機者を前記グループ化の対象に含めることを特徴とする請求項1に記載の車両乗り合わせ方法。
【請求項3】
前記降機者の目的地を方面毎に区分し、区分された方面毎に前記降機者を区分し、区分された方面が同じ前記降機者を前記グループ化の対象とすることを特徴とする請求項1に記載の車両乗り合わせ方法。
【請求項4】
前記預け入れする荷物の属性が共通又は類似する前記降機者を前記グループ化の対象とすることを特徴とする請求項1に記載の車両乗り合わせ方法。
【請求項5】
空港に到着する航空機の降機者が乗員として乗り合わせる車両への前記降機者の割り当てを行う演算処理装置を備えた車両乗り合わせ装置であって、
前記演算処理装置は、前記降機者が預け入れした荷物を受け取る時刻と前記降機者を紐付けし、荷物受け取り時刻が近しい前記降機者をグループ化して前記車両に割り当てることを特徴とする車両乗り合わせ装置。
発明の詳細な説明
【技術分野】
【0001】
本発明は、車両乗り合わせ方法及び装置に関する。
続きを表示(約 2,900 文字)
【背景技術】
【0002】
下記特許文献1では、空港内でユーザが第1航空機から第2航空機に乗り継ぐ際、第1航空機の降機位置に自動運転車両を配車し、第1航空機から降機したユーザが自動運転車両に乗り込んだ後に車両を自動運転して第2航空機の搭乗位置まで移動させる技術が開示されている。車両の乗員であるユーザは、搭乗位置に到着した車両から降りて第2航空機に乗り継ぐことができる。
【先行技術文献】
【特許文献】
【0003】
特開2020-194279号公報
【発明の概要】
【発明が解決しようとする課題】
【0004】
例えば、空港に到着した航空機から降りた降機者を車両に乗り合わせさせて同じような目的地に向けて運行するサービスが考えられる。その場合には、例えば、事前に車両への乗り合わせを予約したユーザ(降機者)を合理的に車両に割り当てる必要があるが、そうした車両乗り合わせ方法や乗り合わせ装置は未だ実施化されていない。
本発明は、空港に到着した航空機の降機者を合理的に車両に割り当てることが可能な車両乗り合わせ方法及び装置を提供することを目的とする。
【課題を解決するための手段】
【0005】
本発明の一態様は、空港に到着する航空機の降機者が乗員として乗り合わせる車両への降機者の割り当てを演算処理装置で行うにあたり、降機者が預け入れした荷物を受け取る時刻と降機者を紐付けし、荷物受け取り時刻が近しい降機者をグループ化して車両に割り当てることを要旨とする。
【発明の効果】
【0006】
本発明の一態様によれば、空港に到着した航空機から降機しても、荷物を預け入れした降機者は荷物を受け取るまでは空港から離れることができないのに対し、荷物受け取り時刻が近しい降機者をグループ化して車両に割り当てることにより、降機者を合理的に車両に割り当てることができる。
【図面の簡単な説明】
【0007】
本発明における自動運転乗り合い車両の運行管理システムの概略構成を示す全体図である。
図1における運営事業所と自動運転乗り合い車両の乗員となるユーザの通信システムの概略構成図である。
図1の自動運転乗り合い車両の概略構成図である。
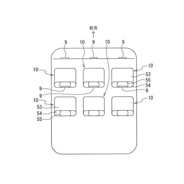
図3の自動運転乗り合い車両の座席を示す平面図である。
図2の演算処理装置で実行される演算処理のフローチャートである。
図5の演算処理で実行されるサブルーチンのフローチャートである。
図5の演算処理で実行されるサブルーチンのフローチャートである。
図5の演算処理で実行されるサブルーチンのフローチャートである。
図5の演算処理で実行されるサブルーチンのフローチャートである。
図5の演算処理で実行されるサブルーチンのフローチャートである。
図5の演算処理で実行されるサブルーチンのフローチャートである。
【発明を実施するための形態】
【0008】
以下、本発明の実施形態について、図面を参照しつつ説明する。なお、各図面は模式的なものであって、現実のものとは異なる場合がある。図1に示す運行管理システムでは、自動運転乗り合い車両(以下、単に車両とも呼ぶ)1を特定の運営事業所Oが運営管理することを前提としており、車両1は、規定された経路を規定された(凡その)日時に自動運転で運行される。自動運転は、原則として、運転者が不在である。この自動運転乗り合い車両1の運行管理の概要について説明する。この運行管理では、一般的な乗り合い運行の例として、乗車を希望するユーザが運営事業所Oに、希望する経路と日時などを連絡する。経路は、出発地と目的地が規定され、必要に応じて経由地が規定される。一般的な乗り合い運行では、経路は、現今の乗り合いバスのように予め規定されていてもよいし、ユーザがオーダーできるようにしてもよい。日時についても、現今の乗り合いバスのように予め規定されていてもよいし、ユーザがオーダーできるようにしてもよい。車両1には、同程度の日時で同程度の経路を希望する複数のユーザが乗り合い状態で乗車する。
【0009】
これを実現するため、ユーザは、例えば、スマートフォンやパーソナルコンピュータ(以下、PCとも呼ぶ)などの端末Tから運営事業所Oに連絡することができる(実際の通信には通信事業所が介在する)。また、運営事業所Oは車両1と通信を行うことができる。また、運営事業所Oは他の事業所C、この例では空港の航空事業所と通信を行うことができる。この実施形態では、例えば他の事業所(空港の航空事業所)Cから車両1の乗員となるユーザ(搭乗・降機者)の種々の情報を取得することができるように構成されている。また、車両1は、路側機などのインフラ設備Eと路車間通信を行うことができ、他の車両Mと車車間通信を行うこともできる。路車間通信や車車間通信では、信号情報や規制情報、渋滞や混雑などの道路情報を授受することができ、例えば、自車両1にとっての死角に存在する物体の情報なども取得することができる。運営事業所Oと車両1の通信も、路車間通信の一部に含まれる。
【0010】
図2は、乗員となるユーザの端末Tと運営事業所O内のPCなどの端末Dの間の通信システムの概略を示すものであるが、運営事業所O内の端末Dは、例えば他の事業所Cが管理するデータベースBとも通信を行うことができ、このデータベースBに、前述したユーザの情報が記憶されている。他の事業所Cが空港の航空事業所である場合、一般的に、ユーザは航空機の搭乗・降機者であり、ユーザのデータは、搭乗・降機する航空機の経路と出発・到着時刻、到着ゲート、預け入れした荷物が払い出されるサークルベルトの場所などの情報が含まれる。この実施形態は、航空機の搭乗・降機者となるユーザが空港に到着した後、そのユーザを乗り合い車両1に割り当てて目的地まで自動運転で運行することを目的とする。この目的のために、運営事業所Oでは、ユーザから乗車予約を依頼された際に、搭乗・降機する航空機の到着空港と到着時刻、到着ゲート、車両1に乗車した後の目的地、荷物を預け入れするか否かの情報、預け入れする荷物の名称や銘柄などを取得する。荷物の名称や銘柄には、例えば、ベビーカーや大型の楽器、自転車、ペット、家具などが挙げられ、これらは同時に(特殊な)荷物属性として記憶される。特殊でない「荷物属性」としては、例えば「手荷物」や「トランクケース」、「スーツケース」などが挙げられる。また、搭乗する航空機の便名が分かれば到着空港や到着ゲート、到着時刻も分かる。なお、端末Dはパーソナルコンピュータなどのコンピュータシステム(演算処理装置)であり、演算処理を行うプロセッサやプログラムやデータを記憶する記憶装置を備える。
(【0011】以降は省略されています)
この特許をJ-PlatPat(特許庁公式サイト)で参照する
関連特許
日産自動車株式会社
二次電池
1か月前
日産自動車株式会社
電動車両
25日前
日産自動車株式会社
電子機器
9日前
日産自動車株式会社
内燃機関
22日前
日産自動車株式会社
吸気装置
3日前
日産自動車株式会社
二次電池
1か月前
日産自動車株式会社
電池モジュール
1か月前
日産自動車株式会社
電池モジュール
1日前
日産自動車株式会社
ロータシャフト
17日前
日産自動車株式会社
ロータシャフト
17日前
日産自動車株式会社
電池モジュール
23日前
日産自動車株式会社
リチウム二次電池
22日前
日産自動車株式会社
車両用排気部構造
22日前
日産自動車株式会社
全固体電池システム
1日前
日産自動車株式会社
塗装方法及び自動車
24日前
日産自動車株式会社
エアレスタイヤ構造
9日前
日産自動車株式会社
ピックアップトラック
3日前
日産自動車株式会社
支援方法及び支援装置
3日前
日産自動車株式会社
エンジンのアンダカバー
1か月前
日産自動車株式会社
パワー半導体モジュール
1日前
株式会社ニフコ
締結構造
1か月前
日産自動車株式会社
車両用荷室における排熱構造
1か月前
日産自動車株式会社
車両乗り合わせ方法及び装置
2日前
日産自動車株式会社
相乗り可否判定方法及び装置
1か月前
日産自動車株式会社
車両制御装置及び車両制御方法
2日前
日産自動車株式会社
情報処理装置及び情報処理方法
1日前
日産自動車株式会社
運転支援方法及び運転支援装置
1か月前
日産自動車株式会社
運転支援方法及び運転支援装置
1か月前
日産自動車株式会社
情報提供方法及び情報提供装置
9日前
日産自動車株式会社
施錠制御方法及び施錠制御装置
1か月前
日産自動車株式会社
車両制御装置及び車両制御方法
2日前
日産自動車株式会社
衝突回避方法、及び衝突回避装置
22日前
日産自動車株式会社
物体検出方法、及び物体検出装置
22日前
日産自動車株式会社
車両制御方法および車両制御装置
1か月前
日産自動車株式会社
車両制御方法および車両制御装置
1か月前
日産自動車株式会社
車両制御方法および車両制御装置
1か月前
続きを見る
他の特許を見る