TOP
|
特許
|
意匠
|
商標
特許ウォッチ
Twitter
他の特許を見る
公開番号
2025172356
公報種別
公開特許公報(A)
公開日
2025-11-26
出願番号
2024077823
出願日
2024-05-13
発明の名称
支援方法及び支援装置
出願人
日産自動車株式会社
代理人
個人
,
個人
,
個人
主分類
G01C
21/34 20060101AFI20251118BHJP(測定;試験)
要約
【課題】ユーザの疲労軽減を考慮しつつ、複数の移動手段を利用して出発地から目的地に到達する経路候補を複数提示し、ユーザが、各径路候補の優位性を比較し得る支援方法及び支援装置を提供する。
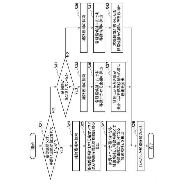
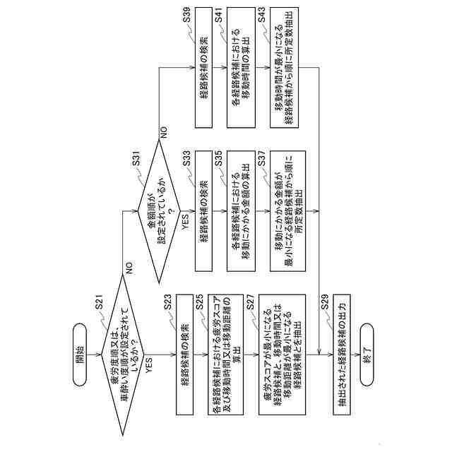
【解決手段】支援方法では、支援装置10は、複数の移動手段を利用して出発地から目的地に到達する複数の経路候補を検索する。支援装置10は、当該複数の経路候補をソートする基準として、疲労に関する項目が設定されている場合、当該複数の経路候補のうち、疲労に関するスコアが最小になる経路候補と、移動時間又は移動距離が最小になる経路候補とを出力する。
【選択図】図7
特許請求の範囲
【請求項1】
支援装置によって実行される支援方法であって、
出発地の情報と、目的地の情報と、前記出発地から前記目的地まで移動するのに利用する複数の移動手段の情報とを取得する取得ステップと、
複数の経路候補をソートする基準を設定する設定ステップと、
前記複数の移動手段を利用して、前記出発地から前記目的地に到達し得る前記複数の経路候補を検索する検索ステップと、
前記基準として、疲労に関する項目が設定されている場合、各経路候補おいて、前記複数の移動手段に含まれる前記疲労に関与する移動手段の利用時間又は利用距離に基づいた前記疲労に関するスコアの算出と、前記出発地から前記目的地までの移動時間又は移動距離の算出とを行う算出ステップと、
前記複数の経路候補から、前記疲労に関するスコアが最小になる経路候補と、前記移動時間又は移動距離が最小になる経路候補とを抽出する抽出ステップと、
前記抽出ステップにて抽出された前記経路候補を出力する出力ステップと、
を備える支援方法。
続きを表示(約 1,100 文字)
【請求項2】
前記疲労に関する項目において、前記疲労として、車両運転時に生じる疲労と、車両同乗時に生じる疲労とのうちの少なくとも一方が含まれる、請求項1に記載の支援方法。
【請求項3】
前記設定ステップにて、前記基準として、前記車両運転時に生じる疲労に関する項目が設定されている場合、前記算出ステップにて、各経路候補おいて、前記疲労に関与する移動手段を運転する時間又は距離に基づいて、前記疲労に関するスコアを算出する、請求項2に記載の支援方法。
【請求項4】
前記算出ステップにて、前記疲労に関与する移動手段が走行する道路態様、前記疲労に関与する移動手段を連続して運転する時間、及び前記疲労に関与する移動手段における運転支援機能の有無に基づいて、前記疲労に関するスコアを補正する、請求項3に記載の支援方法。
【請求項5】
前記設定ステップにて、前記基準として、前記車両同乗時に生じる疲労に関する項目が設定されている場合、前記算出ステップにて、各経路候補において、前記疲労に関与する移動手段に同乗する時間又は距離に基づいて、前記疲労に関するスコアを算出する、請求項2に記載の支援方法。
【請求項6】
前記算出ステップにて、前記疲労に関与する移動手段が走行する道路態様に基づいて、前記疲労に関するスコアを補正する、請求項5に記載の支援方法。
【請求項7】
前記抽出ステップにて、前記複数の経路候補のうち、前記疲労に関するスコアが最小になる経路候補から順に所定数の経路候補を抽出する、請求項1に記載の支援方法。
【請求項8】
前記取得ステップにて、利用する順番に前記複数の移動手段の情報を取得する、請求項1に記載の支援方法。
【請求項9】
前記設定ステップにて、前記基準として、金額に関する項目が設定されている場合、前記算出ステップにて、各径路候補において、前記出発地から前記目的地までの移動にかかる金額を算出し、
前記抽出ステップにて、前記複数の経路候補のうち、前記金額が最小になる経路候補から順に所定数の経路候補を抽出する、請求項1に記載の支援方法。
【請求項10】
前記設定ステップにて、前記基準として、時間に関する項目が選択されている場合、前記算出ステップにて、各経路候補において、前記出発地から前記目的地までの移動時間を算出し、
前記抽出ステップにて、前記複数の経路候補のうち、前記移動時間が最小になる経路候補から順に所定数の経路候補を抽出する、請求項1に記載の支援方法。
(【請求項11】以降は省略されています)
発明の詳細な説明
【技術分野】
【0001】
本発明は、支援方法及び支援装置に関するものである。
続きを表示(約 970 文字)
【背景技術】
【0002】
従来、目的地までの車両の走行経路を探索する技術が知られている。
【0003】
特許文献1に開示された技術では、運転者の技量及び疲労度を考慮して、目的地までの車両の走行経路が提示される。
【先行技術文献】
【特許文献】
【0004】
特開2019-132811号公報
【発明の概要】
【発明が解決しようとする課題】
【0005】
ユーザによっては、疲労を軽減するために、出発地から目的地に到達する経路の全てで車両を運転して移動するのではなく、経路の途中で鉄道などの別の移動手段を利用して移動したい、というニーズがある。
【0006】
この際、ユーザによっては、複数の経路候補の優位性を比較して、出発地から目的地に到達する経路を決定したい、というニーズもある。
【0007】
これらのニーズに応えるためには、ユーザの疲労軽減を考慮しつつ、複数の移動手段を利用して出発地から目的地に到達する経路候補を複数提示し、ユーザが、各径路候補の優位性を比較し得る必要がある。
【0008】
しかしながら、特許文献1に開示された技術では、ユーザが、目的地に到達する経路の全てで車両を運転して移動することを前提としているため、これらのニーズに応えることができない。
【0009】
本発明は、上記課題に鑑みてなされたものであり、その目的は、ユーザの疲労軽減を考慮しつつ、複数の移動手段を利用して出発地から目的地に到達する経路候補を複数提示し、ユーザが、各径路候補の優位性を比較し得る支援方法及び支援装置を提供することである。
【課題を解決するための手段】
【0010】
本発明の一態様に係る支援方法及び支援装置は、複数の移動手段を利用して出発地から目的地に到達する複数の経路候補を検索して、当該複数の経路候補をソートする基準として、疲労に関する項目が設定されている場合、当該複数の経路候補のうち、疲労に関するスコアが最小になる経路候補と、移動時間又は移動距離が最小になる経路候補とを出力する。
【発明の効果】
(【0011】以降は省略されています)
この特許をJ-PlatPat(特許庁公式サイト)で参照する
関連特許
日産自動車株式会社
二次電池
1か月前
日産自動車株式会社
保持機構
1か月前
日産自動車株式会社
電動車両
22日前
日産自動車株式会社
吸気装置
今日
日産自動車株式会社
二次電池
1か月前
日産自動車株式会社
内燃機関
19日前
日産自動車株式会社
電子機器
6日前
日産自動車株式会社
保持機構
1か月前
日産自動車株式会社
積層型電池
1か月前
日産自動車株式会社
面圧付与機構
1か月前
日産自動車株式会社
面圧付与機構
1か月前
日産自動車株式会社
ロータシャフト
14日前
日産自動車株式会社
電池モジュール
27日前
日産自動車株式会社
ロータシャフト
14日前
日産自動車株式会社
電池モジュール
20日前
日産自動車株式会社
車両用排気部構造
19日前
日産自動車株式会社
リチウム二次電池
1か月前
日産自動車株式会社
リチウム二次電池
19日前
日産自動車株式会社
エアレスタイヤ構造
6日前
日産自動車株式会社
塗装方法及び自動車
21日前
日産自動車株式会社
ピックアップトラック
今日
日産自動車株式会社
支援方法及び支援装置
今日
日産自動車株式会社
ギヤ装置のブリーザ構造
1か月前
日産自動車株式会社
エンジンのアンダカバー
27日前
株式会社ニフコ
締結構造
27日前
日産自動車株式会社
相乗り可否判定方法及び装置
1か月前
日産自動車株式会社
車両用荷室における排熱構造
1か月前
日産自動車株式会社
施錠制御方法及び施錠制御装置
29日前
日産自動車株式会社
運転支援方法及び運転支援装置
28日前
日産自動車株式会社
車載機能制御方法及び車載端末
1か月前
日産自動車株式会社
配車管理装置及び配車管理方法
1か月前
日産自動車株式会社
車両制御装置及び車両制御方法
1か月前
日産自動車株式会社
運転支援方法及び運転支援装置
27日前
日産自動車株式会社
画像処理方法及び画像処理装置
1か月前
日産自動車株式会社
画像表示方法及び画像表示装置
1か月前
日産自動車株式会社
情報提供方法及び情報提供装置
6日前
続きを見る
他の特許を見る