TOP
|
特許
|
意匠
|
商標
特許ウォッチ
Twitter
他の特許を見る
公開番号
2025172376
公報種別
公開特許公報(A)
公開日
2025-11-26
出願番号
2024077859
出願日
2024-05-13
発明の名称
ピックアップトラック
出願人
日産自動車株式会社
代理人
個人
,
個人
,
個人
主分類
B60J
7/00 20060101AFI20251118BHJP(車両一般)
要約
【課題】後席のリクライニングによる開放部からの雨・日差しの侵入を防止する。
【解決手段】ピックアップトラック10は、キャビン11の後部に、後席17をリクライニング時の開放部18,19を覆う幌構造20を備える。幌構造20は、キャビン11の天井12の左右のルーフレール13に取り付けられた一対の釣りレール21と、各釣りレール21と係合されて各釣りレール21に沿ってキャビン11の後方に向けて扇状に展開および収容可能な一対の幌31と、天井12にキャビン幅方向に沿って取り付けられた円筒状のカーテン格納バー40からキャビン11の後方に向けて水平展開および収容可能に設けられて釣りレール21のクリップ25に係合して展開姿勢を保持可能なカーテン41と、を有する。
【選択図】図1
特許請求の範囲
【請求項1】
キャビンのバックパネルの後方に荷台のパネルを有するとともに、キャビン後方の後席が前記バックパネルと一体で傾動するようにリクライニング可能なピックアップトラックであって、
前記キャビンの後部に、前記後席をリクライニング時の開放部を覆う幌構造を備え、
前記幌構造は、
前記キャビンの天井の左右のルーフレールに取り付けられた一対の釣りレールと、
前記キャビンの後部の左右に取り付けられて各釣りレールと係合されて各釣りレールに沿って前記キャビンの後方に向けて扇状に展開および収容可能に設けられた一対の幌と、
前記キャビンの天井にキャビン幅方向に沿って取り付けられたカーテン格納バーから前記キャビンの後方に向けて水平展開および収容可能に設けられて前記釣りレールの係合部に展開時の姿勢を保持するように係合可能なカーテンと、
を有することを特徴とするピックアップトラック。
続きを表示(約 820 文字)
【請求項2】
前記一対の幌は、前記キャビンの後部側に軸線を縦にして設けられた幌格納バーに沿って収容可能にそれぞれが取り付けられるとともに、前記キャビンの後方に向けて扇状に幌の布部が展開して、前記荷台のベッド外側に展開姿勢が保持される請求項1に記載のピックアップトラック。
【請求項3】
前記一対の釣りレールは、可撓性材質が用いられるとともに、前記幌の展開時の扇形状に沿うように前記ルーフレールから張り出され、
前記一対の幌は、前記一対の釣りレールに沿って展開および収容可能に設けられる請求項2に記載のピックアップトラック。
【請求項4】
前記一対の釣りレールの基端側は、各釣りレールの展開時に、前記ルーフレール側とのスライド移動方向での重畳部が残された係合支持構造を有する請求項3に記載のピックアップトラック。
【請求項5】
前記カーテンは、前記カーテン格納バーよりも上方に展開するように設けられ、前記一対の釣りレールの上面をガイドにして前記一対の釣りレールをその上側から覆うように張り出される請求項1~4のいずれか一項に記載のピックアップトラック。
【請求項6】
前記カーテンは、自身の左右側部に係合用の穴を有し、
前記カーテンが張り出したときに、前記一対の釣りレールの側面に設けられた係合部であるクリップに前記穴が係合可能に構成されている請求項5に記載のピックアップトラック。
【請求項7】
上面の開放部を覆う前記カーテンおよび左右の開放部を覆う前記一対の幌は、それぞれ手動で開閉される独立した構造であり、
前記一対の釣りレールは、各釣りレールの先端部が、前記ルーフレールから張り出されてベッド側に取り付られる際に、ベッド側に設けられた弾性部品に、張り出し姿勢が保持されるように取り付けられる請求項1に記載のピックアップトラック。
発明の詳細な説明
【技術分野】
【0001】
本発明は、後席をリクライニング可能なピックアップトラックに関する。
続きを表示(約 1,700 文字)
【背景技術】
【0002】
特許文献1には、トラックの荷台と車室との間のバックパネルとシートのシートバックとを一体形成し、シートバックとバックパネルを連動して後方に回動させることでリクライニングを可能としたピックアップトラックが開示されている。
【先行技術文献】
【特許文献】
【0003】
特開2000-142476号号公報
【発明の概要】
【発明が解決しようとする課題】
【0004】
しかし、特許文献1記載の技術では、後席のリクライニング時に、天井や左右が開いた開放部になるので、後席が雨や日差しにさらされるという問題がある。
【0005】
そこで、本発明は、このような問題点に着目してなされたものであって、後席をリクライニング可能なピックアップトラックにおいて、後席のリクライニング時における、開放部からの雨・日差しの侵入を防止し得るピックアップトラックを提供することを課題とする。
【課題を解決するための手段】
【0006】
上記課題を解決するために、本発明の一態様に係るピックアップトラックは、キャビンのバックパネルの後方に荷台のパネルを有するとともに、キャビン後方の後席が前記バックパネルと一体で傾動するようにリクライニング可能なピックアップトラックであって、前記キャビンの後部に、前記後席をリクライニング時の開放部を覆う幌構造を備え、前記幌構造は、前記キャビンの天井の左右のルーフレールに取り付けられた一対の釣りレールと、前記キャビンの後部の左右に取り付けられて各釣りレールと係合されて各釣りレールに沿って前記キャビンの後方に向けて扇状に展開および収容可能に設けられた一対の幌と、前記キャビンの天井にキャビン幅方向に沿って取り付けられたカーテン格納バーから前記キャビンの後方に向けて水平展開および収容可能に設けられて前記釣りレールの係合部に展開時の姿勢を保持するように係合可能なカーテンと、を有する。
【発明の効果】
【0007】
本発明によれば、後席をリクライニング時に、開放部を覆うことができる幌構造をキャビンの後方に設けたので、後席のリクライニングによる開放部からの雨・日差しの侵入を防止できる。
【図面の簡単な説明】
【0008】
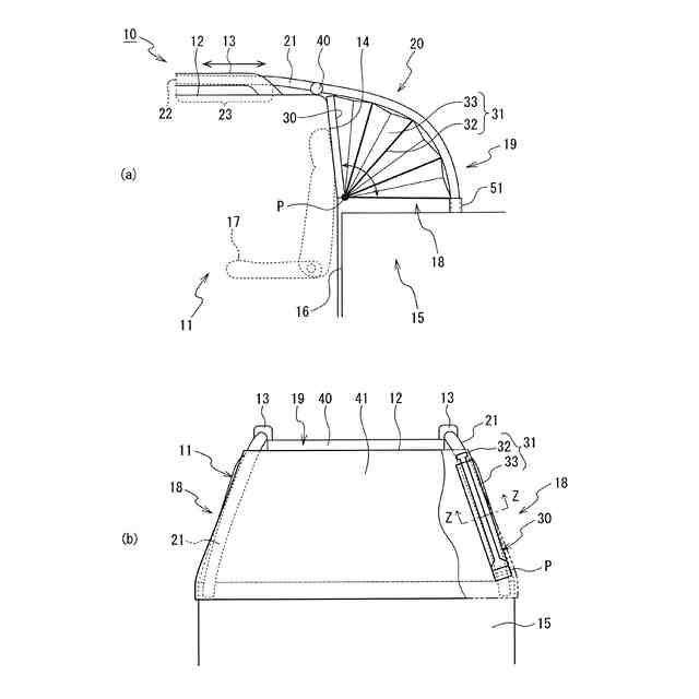
本発明の一態様に係るピックアップトラックのキャビン後方に装備される幌構造の一実施形態の説明図であり、同図(a)は車両左側から見た模式的側面図、(b)は(a)の模式図において車両後方から見た図である。
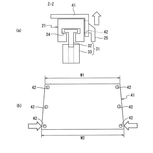
図1に示す幌構造の要部説明図であり、同図(a)は幌構造を構成する釣りレールの横断面図(図1のZ-Z断面)であり、(b)は幌構造を構成するカーテンを展開した状態を示す説明図である。
図1の幌構造の説明図であり、同図は、ピックアップトラックのキャビン後方を模式的斜視図にて示している。
【発明を実施するための形態】
【0009】
以下、本発明の一実施形態について、図面を適宜参照しつつ説明する。本実施形態のピックアップトラックは、キャビンのバックパネル後方に荷台パネルを有するとともに、キャビン後方の後席が、バックパネルと一体で傾動可能なリクライニング機構を有するものである。
なお、図面は模式的なものである。そのため、厚みと平面寸法との関係、比率等は現実のものとは異なることに留意すべきであり、図面相互間においても互いの寸法の関係や比率が異なる部分が含まれている。
また、以下に示す実施形態は、本発明の技術的思想を具体化するための装置や方法を例示するものであって、本発明の技術的思想は、構成部品の材質、形状、構造、配置等を下記の実施形態に特定するものではない。
【0010】
図1(a)に示すように、本実施形態のピックアップトラック10は、キャビン11のバックパネル14の後方に荷台15のパネル16を有する。本実施形態のピックアップトラック10は、キャビン11の後部に、後席17をリクライニング時の開放部18、19を覆う幌構造20が設けられている。
(【0011】以降は省略されています)
この特許をJ-PlatPat(特許庁公式サイト)で参照する
関連特許
個人
タイヤレバー
3か月前
個人
前輪キャスター
3か月前
個人
上部一体型自動車
1か月前
個人
タイヤ脱落防止構造
3か月前
個人
ルーフ付きトライク
3か月前
個人
空間形成装置
27日前
個人
マスタシリンダ
2か月前
日本精機株式会社
表示装置
3か月前
日本精機株式会社
表示装置
3か月前
日本精機株式会社
表示装置
3か月前
日本精機株式会社
表示装置
3か月前
日本精機株式会社
照明装置
22日前
個人
車両通過構造物
4か月前
個人
乗合路線バスの客室装置
4か月前
個人
常設収納型サンバイザー
1か月前
個人
円湾曲ホイール及び球体輪
4か月前
個人
回転窓ワイパー装置
27日前
日本精機株式会社
車載表示装置
2か月前
株式会社ニフコ
収納装置
2か月前
日本精機株式会社
車室演出装置
3か月前
株式会社ニフコ
照明装置
3か月前
株式会社豊田自動織機
産業車両
22日前
日本精機株式会社
画像投映装置
1か月前
日本精機株式会社
車載表示装置
1か月前
個人
音声ガイド、音声サービス
4か月前
株式会社豊田自動織機
産業車両
3か月前
日本精機株式会社
車載表示装置
1か月前
日本精機株式会社
車載表示装置
28日前
日本精機株式会社
車両用表示装置
1か月前
株式会社SUBARU
車両
1か月前
個人
音による速度計とプログラム
1か月前
日本精機株式会社
車両用報知装置
1か月前
日本精機株式会社
車両用投影装置
2か月前
日本精機株式会社
車両用投射装置
1か月前
日本精機株式会社
車両用表示装置
3か月前
井関農機株式会社
作業車両
2か月前
続きを見る
他の特許を見る