TOP
|
特許
|
意匠
|
商標
特許ウォッチ
Twitter
他の特許を見る
10個以上の画像は省略されています。
公開番号
2025141913
公報種別
公開特許公報(A)
公開日
2025-09-29
出願番号
2025039386
出願日
2025-03-12
発明の名称
半導体装置
出願人
住友電気工業株式会社
代理人
弁理士法人ITOH
主分類
H10D
30/47 20250101AFI20250919BHJP()
要約
【課題】放熱性を向上できる半導体装置を提供する。
【解決手段】半導体装置は、鉄原子を含有し、上面が窒素極性を有するバッファ層と、上面が窒素極性を有し、前記バッファ層の上のバリア層と、上面が窒素極性を有し、前記バリア層の上のチャネル層と、を有する。
【選択図】図1
特許請求の範囲
【請求項1】
鉄原子を含有し、上面が窒素極性を有するバッファ層と、
上面が窒素極性を有し、前記バッファ層の上のバリア層と、
上面が窒素極性を有し、前記バリア層の上のチャネル層と、
を有する、半導体装置。
続きを表示(約 640 文字)
【請求項2】
前記バリア層の厚さは、1nm以上50nm以下である、請求項1に記載の半導体装置。
【請求項3】
前記バッファ層の上面と前記チャネル層の下面との間の間隔は、1nm以上50nm以下である、請求項1に記載の半導体装置。
【請求項4】
前記チャネル層における鉄原子の濃度の平均値は、2×10
16
cm
-3
以下である、請求項1から請求項3のいずれか1項に記載の半導体装置。
【請求項5】
前記バッファ層における前記鉄原子の濃度の平均値は、5×10
17
cm
-3
以上である、請求項1から請求項3のいずれか1項に記載の半導体装置。
【請求項6】
前記バリア層の厚さは、1nm以上50nm以下であり、
前記チャネル層における鉄原子の濃度の平均値は、2×10
16
cm
-3
以下であり、
前記バッファ層における鉄原子の濃度の平均値は、5×10
17
cm
-3
以上である、請求項1に記載の半導体装置。
【請求項7】
前記バッファ層は、窒化ガリウム層であり、
前記バリア層は、窒化アルミニウムガリウム層であり、
前記チャネル層は、窒化ガリウム層である、請求項1から請求項3および請求項6のいずれか1項に記載の半導体装置。
発明の詳細な説明
【技術分野】
【0001】
本開示は、半導体装置に関する。
続きを表示(約 1,000 文字)
【背景技術】
【0002】
従来、窒化物半導体を用いた高電子移動度トランジスタ(high electron mobility transistor:HEMT)が提案されている。
【先行技術文献】
【特許文献】
【0003】
国際公開第2017/002317号
【発明の概要】
【発明が解決しようとする課題】
【0004】
近年、半導体装置の動作速度の向上に伴って発熱量が増加し、放熱性の向上の要請が高まっている。
【0005】
本開示は、放熱性を向上できる半導体装置を提供することを目的とする。
【課題を解決するための手段】
【0006】
本開示の半導体装置は、鉄原子を含有し、上面が窒素極性を有するバッファ層と、上面が窒素極性を有し、前記バッファ層の上のバリア層と、上面が窒素極性を有し、前記バリア層の上のチャネル層と、を有する。
【発明の効果】
【0007】
本開示によれば、放熱性を向上できる。
【図面の簡単な説明】
【0008】
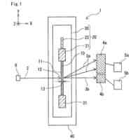
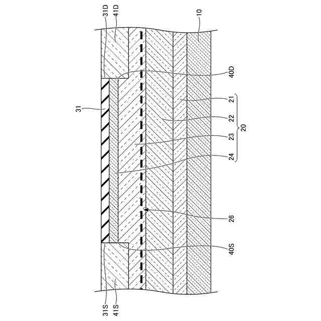
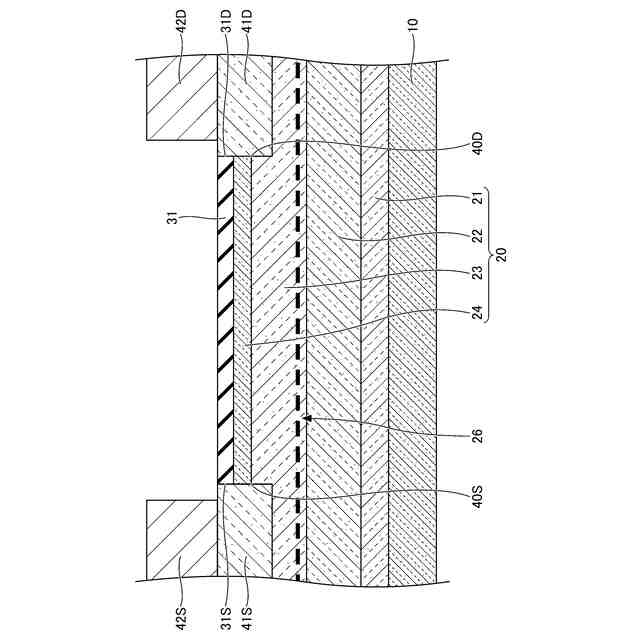
図1は、実施形態に係る半導体装置を示す断面図である。
図2は、実施形態に係る半導体装置の製造方法を示す断面図(その1)である。
図3は、実施形態に係る半導体装置の製造方法を示す断面図(その2)である。
図4は、実施形態に係る半導体装置の製造方法を示す断面図(その3)である。
図5は、実施形態に係る半導体装置の製造方法を示す断面図(その4)である。
図6は、実施形態に係る半導体装置の製造方法を示す断面図(その5)である。
図7は、実施形態に係る半導体装置の製造方法を示す断面図(その6)である。
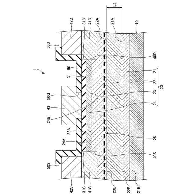
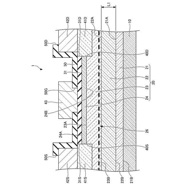
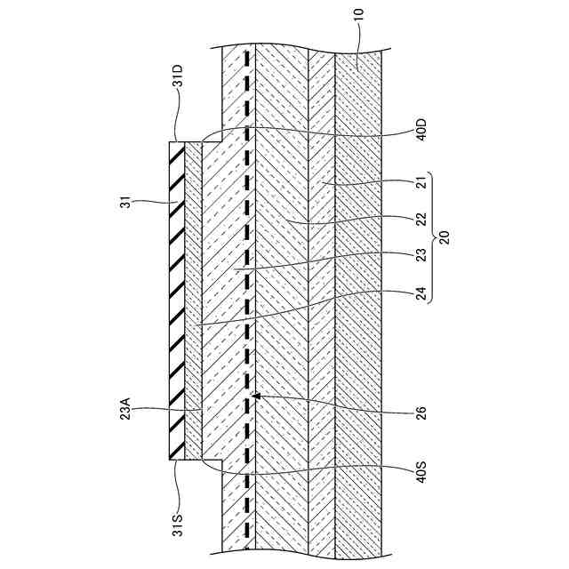
図8は、実施形態の変形例に係る半導体装置を示す断面図である。
図9は、窒化物半導体層の上面の極性とFe原子の濃度の分布との関係を示す図である。
【発明を実施するための形態】
【0009】
[本開示の実施形態の説明]
最初に本開示の実施態様を列記して説明する。
【0010】
〔1〕 本開示の一態様に係る半導体装置は、鉄原子を含有し、上面が窒素(N)極性を有するバッファ層と、上面が窒素極性を有し、前記バッファ層の上のバリア層と、上面が窒素極性を有し、前記バリア層の上のチャネル層と、を有する。
(【0011】以降は省略されています)
この特許をJ-PlatPat(特許庁公式サイト)で参照する
関連特許
住友電気工業株式会社
分析方法
今日
住友電気工業株式会社
空気ばね
8日前
住友電気工業株式会社
受光素子
6日前
住友電気工業株式会社
半導体装置
8日前
住友電気工業株式会社
OLT及び帯域割当方法
4日前
住友電気工業株式会社
半導体装置およびその製造方法
5日前
住友電気工業株式会社
要因分析装置および要因分析方法
今日
住友電気工業株式会社
受光素子、および受光素子の製造方法
8日前
住友電気工業株式会社
センサシステム、座席、及びセンサユニット
今日
住友電気工業株式会社
アクセスポイント装置および無線通信設定方法
4日前
住友電気工業株式会社
蓄電システム、電力供給システムおよび制御方法
8日前
株式会社オートネットワーク技術研究所
コネクタ
今日
株式会社オートネットワーク技術研究所
コネクタ
今日
株式会社オートネットワーク技術研究所
コネクタ
今日
株式会社オートネットワーク技術研究所
コネクタ装置
今日
株式会社オートネットワーク技術研究所
追加外装部品
8日前
株式会社オートネットワーク技術研究所
コネクタ装置
今日
株式会社オートネットワーク技術研究所
ワイヤハーネス
4日前
株式会社オートネットワーク技術研究所
バスバー締結構造
4日前
株式会社オートネットワーク技術研究所
バスバー締結構造
4日前
株式会社オートネットワーク技術研究所
車載機器の支持装置
8日前
株式会社オートネットワーク技術研究所
ジョイントコネクタ
4日前
住友電気工業株式会社
走行支援方法、走行支援装置、コンピュータプログラム、および走行支援システム
今日
株式会社オートネットワーク技術研究所
追加配線部材の配索構造
8日前
株式会社オートネットワーク技術研究所
配策構造及び配線ユニット
8日前
株式会社オートネットワーク技術研究所
ワイヤハーネスの配索構造
8日前
住友電気工業株式会社
占有状況通知方法、占有状況通知装置、コンピュータプログラム、および走行支援システム
今日
株式会社オートネットワーク技術研究所
ステータの製造方法及びステータ
4日前
株式会社オートネットワーク技術研究所
外装部品ユニットおよびカバー部材
8日前
株式会社オートネットワーク技術研究所
車載機器の支持装置および被ガイド体
8日前
株式会社オートネットワーク技術研究所
車両用ドア及び車両用ドアの交換用内装
8日前
株式会社オートネットワーク技術研究所
配線部材組付体及び追加配線部材組付モジュール
8日前
株式会社オートネットワーク技術研究所
配線部材組付体及び追加配線部材組付モジュール
8日前
株式会社オートネットワーク技術研究所
ワイヤーハーネス
7日前
住友電気工業株式会社
炭化珪素基板、炭化珪素基板の製造方法、炭化珪素エピタキシャル基板の製造方法、炭化珪素エピタキシャル基板、炭化珪素半導体装置の製造方法、および炭化珪素半導体装置
8日前
エイブリック株式会社
半導体装置
5日前
続きを見る
他の特許を見る