TOP
|
特許
|
意匠
|
商標
特許ウォッチ
Twitter
他の特許を見る
10個以上の画像は省略されています。
公開番号
2025141337
公報種別
公開特許公報(A)
公開日
2025-09-29
出願番号
2024041223
出願日
2024-03-15
発明の名称
車載機器の支持装置および被ガイド体
出願人
株式会社オートネットワーク技術研究所
,
住友電装株式会社
,
住友電気工業株式会社
代理人
個人
,
個人
,
個人
,
個人
主分類
B60R
16/02 20060101AFI20250919BHJP(車両一般)
要約
【課題】車載機器の後付けが可能であり、かつ、車載機器の取付位置の自由度を向上させる。
【解決手段】車載機器50の支持装置20は、車載機器50を含む被ガイド体40を支持する。車載機器50の支持装置20は、被ガイド体40を第1方向(X方向)に案内する第1ガイドレール21と、被ガイド体40を第1方向(X方向)と異なる第2方向(Y方向)に案内する第2ガイドレール22と、を備える。第1ガイドレール21から第2ガイドレール22に対して被ガイド体40がスライド移動可能なように、第1ガイドレール21が第2ガイドレール22に接続される。
【選択図】図4
特許請求の範囲
【請求項1】
車載機器を含む被ガイド体を支持する車載機器の支持装置であって、
前記被ガイド体を第1方向に案内する第1ガイドレールと、
前記被ガイド体を前記第1方向と異なる第2方向に案内する第2ガイドレールと、を備え、
前記第1ガイドレールから前記第2ガイドレールに対して前記被ガイド体がスライド移動可能なように、前記第1ガイドレールが前記第2ガイドレールに接続される、車載機器の支持装置。
続きを表示(約 1,700 文字)
【請求項2】
請求項1に記載の車載機器の支持装置であって、
前記第1ガイドレールは前記被ガイド体の一部がスライド可能な第1ガイド面を有し、
前記第2ガイドレールが前記被ガイド体の一部がスライド可能な第2ガイド面を有し、
前記第2ガイドレールが、前記第1ガイドレールに対して、前記第1ガイド面の延長上に前記第2ガイド面が位置するように接続される、車載機器の支持装置。
【請求項3】
請求項2に記載の車載機器の支持装置であって、
前記被ガイド体は、板状体と、前記第1ガイドレールの前記第1ガイド面および前記第2ガイドレールの前記第2ガイド面をスライドするスライド部と、前記板状体と前記スライド部とを接続する接続部と、を有し、
前記第1ガイドレールは、前記第1ガイド面に隣接する第1スリットを有し、
前記第2ガイドレールは、前記第2ガイド面に隣接し、前記第1スリットと連通する第2スリットを有し、
前記スライド部が前記第1ガイド面をスライドする状態で、前記接続部が前記第1スリットを上下方向に通過して前記板状体を支持し、
前記スライド部が前記第2ガイド面をスライドする状態で、前記接続部が前記第2スリットを上下方向に通過して前記板状体を支持する、車載機器の支持装置。
【請求項4】
請求項3に記載の車載機器の支持装置であって、
前記第2ガイドレールは、前記第1ガイドレールの前記第1方向の端部外側に配置され、
前記第2ガイドレールは、前記被ガイド体を外側から前記第1ガイドレールへ誘導する誘導路を有し、
前記誘導路は、外側から前記第2スリットに繋がる第3スリットを含む、車載機器の支持装置。
【請求項5】
請求項1ないし請求項4のいずれか1項に記載の車載機器の支持装置であって、
互いに平行な少なくとも2本の前記第1ガイドレールを備える、車載機器の支持装置。
【請求項6】
請求項1ないし請求項4のいずれか1項に記載の車載機器の支持装置あって、
互いに平行な少なくとも2本の前記第2ガイドレールを備える、車載機器の支持装置。
【請求項7】
請求項1ないし請求項4のいずれか1項に記載の車載機器の支持装置であって、
前記第1方向は車両の幅方向であり、
前記第2方向は前記車両の前後方向であり、
前記第1ガイドレールは、前記車両の前後方向においてドア開口部の範囲内に位置する、車載機器の支持装置。
【請求項8】
請求項7に記載の車載機器の支持装置であって、
前記第2ガイドレールは、前記車両の前後方向において前記ドア開口部の範囲内に位置するドア開口領域内部分と、前記車両の前後方向において前記ドア開口部の範囲外に位置するドア開口領域外部分とを含む、車載機器の支持装置。
【請求項9】
請求項1ないし請求項4のいずれか1項に記載の車載機器の支持装置であって、
前記第2ガイドレールは、前記被ガイド体が固定されるための複数の固定部を有する、車載機器の支持装置。
【請求項10】
第1方向に延びる第1ガイドレールと、前記第1ガイドレールと異なる第2方向に延びる第2ガイドレールとに案内される被ガイド体であって、
板状体と、
前記第1ガイドレールの第1ガイド面および前記第2ガイドレールの第2ガイド面をスライドするスライド部と、
前記板状体と前記スライド部とを接続する接続部と、を有し、
前記接続部は、前記スライド部が前記第1ガイド面をスライドする状態で、前記第1ガイド面の縁の外側を上下方向に通過して前記板状体を支持し、前記スライド部が前記第2ガイド面をスライドする状態で、前記第2ガイド面の縁の外側を上下方向に通過して前記板状体を支持する、被ガイド体。
(【請求項11】以降は省略されています)
発明の詳細な説明
【技術分野】
【0001】
本開示は、車載機器を含む被ガイド体を支持する車載機器の支持装置、および、被ガイド体に関する。
続きを表示(約 1,700 文字)
【背景技術】
【0002】
特許文献1は、車両の天井とルーフライナとの間に配置されるワイヤハーネス組付体を開示している。特許文献1のワイヤハーネス組付体は、防音材と、保護材と、複数のワイヤハーネスとを備えている。複数のワイヤハーネスは、防音材と保護剤との間に配置される。ワイヤハーネス組付体には、取付用窓部が形成されている。各種の電装機器が、取付用窓部内に配置される。
【先行技術文献】
【特許文献】
【0003】
特開2018-90229号公報
【発明の概要】
【発明が解決しようとする課題】
【0004】
車両の機能を追加したいという要望に応えるため、車載機器が後付け可能であることが望まれている。このように後付けされる車載機器の取付位置の自由度を向上させることが望まれている。
【0005】
そこで、本開示は、車載機器の後付けが可能であり、かつ、車載機器の取付位置の自由度を向上させることを目的とする。
【課題を解決するための手段】
【0006】
本開示の車載機器の支持装置は、車載機器を含む被ガイド体を支持する車載機器の支持装置であって、前記被ガイド体を第1方向に案内する第1ガイドレールと、前記被ガイド体を前記第1方向と異なる第2方向に案内する第2ガイドレールと、を備え、前記第1ガイドレールから前記第2ガイドレールに対して前記被ガイド体がスライド移動可能なように、前記第1ガイドレールが前記第2ガイドレールに接続される。
【0007】
また、本開示の被ガイド体は、第1方向に延びる第1ガイドレールと、前記第1ガイドレールと異なる第2方向に延びる第2ガイドレールとに案内される被ガイド体であって、板状体と、前記第1ガイドレールの第1ガイド面および前記第2ガイドレールの第2ガイド面をスライドするスライド部と、前記板状体と前記スライド部とを接続する接続部と、を有し、前記接続部は、前記スライド部が前記第1ガイド面をスライドする状態で、前記第1ガイド面の縁の外側を上下方向に通過して前記板状体を支持し、前記スライド部が前記第2ガイド面をスライドする状態で、前記第2ガイド面の縁の外側を上下方向に通過して前記板状体を支持する。
【発明の効果】
【0008】
本開示によれば、車載機器の後付けが可能であり、かつ、車載機器の取付位置の自由度を向上させることができる。
【図面の簡単な説明】
【0009】
図1は車載機器の支持装置が取り付けられる車両の一例を示す概略斜視図である。
図2は車両において車載機器の支持装置が取り付けられる位置を車両の側方から示す概略図である。
図3は本開示の車載機器の支持装置を上方から示す概略斜視図である。
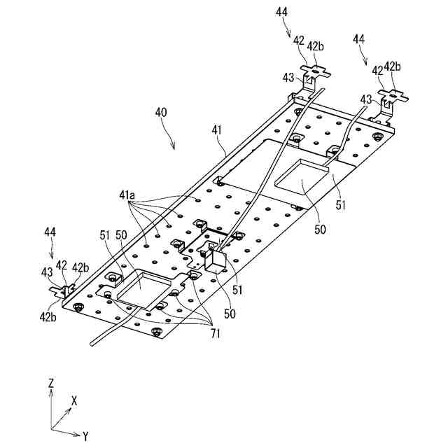
図4は本開示の車載機器の支持装置を下方から示す概略斜視図である。
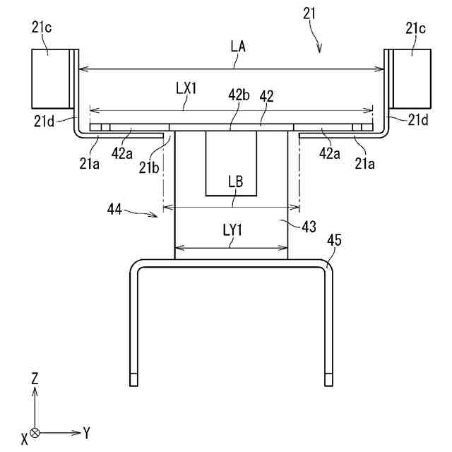
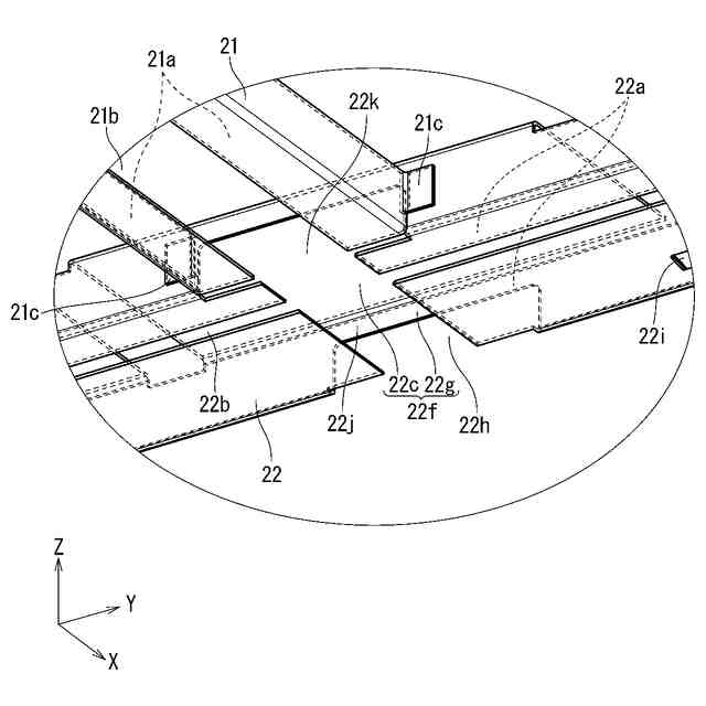
図5は第1ガイドレールと第2ガイドレールとの接続部分を拡大して示す概略斜視図である。
図6はスライド部と第1ガイドレールとの寸法の関係を示す説明図である。
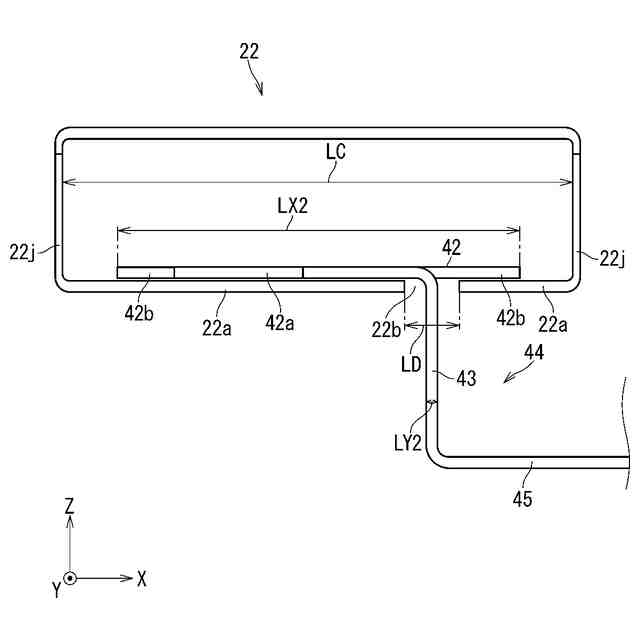
図7はスライド部と第2ガイドレールとの寸法の関係を示す説明図である。
図8は被ガイド体を上方から示す斜視図である。
図9は被ガイド体を下方から示す斜視図である。
図10は被ガイド体のスライド部を拡大して示す拡大斜視図である。
図11は車両に固定される車載機器の支持装置に対して被ガイド体が取り付けられる様子を示す概略斜視図である。
図12は図11における被ガイド体のスライド部を拡大して示す斜視図である。
図13はスライド部が車載機器の支持装置で移送される様子を下方から示す説明図である。
【発明を実施するための形態】
【0010】
[本開示の実施形態の説明]
最初に本開示の実施形態を列記して説明する。
(【0011】以降は省略されています)
この特許をJ-PlatPat(特許庁公式サイト)で参照する
関連特許
個人
カーテント
4か月前
個人
タイヤレバー
2か月前
個人
前輪キャスター
1か月前
個人
車窓用防虫網戸
4か月前
個人
上部一体型自動車
1日前
個人
タイヤ脱落防止構造
1か月前
個人
ホイルのボルト締結
3か月前
個人
車輪清掃装置
4か月前
個人
ルーフ付きトライク
1か月前
日本精機株式会社
表示装置
2か月前
井関農機株式会社
作業車両
3か月前
井関農機株式会社
作業車両
3か月前
日本精機株式会社
表示装置
2か月前
日本精機株式会社
表示装置
2か月前
個人
マスタシリンダ
8日前
日本精機株式会社
表示装置
1か月前
個人
車両通過構造物
2か月前
個人
キャンピングトライク
3か月前
個人
アクセルのソフトウェア
3か月前
個人
車両用スリップ防止装置
3か月前
個人
乗合路線バスの客室装置
2か月前
個人
キャンピングトレーラー
3か月前
個人
ワイパーゴム性能保持具
4か月前
株式会社豊田自動織機
産業車両
2か月前
個人
円湾曲ホイール及び球体輪
2か月前
井関農機株式会社
収穫作業車両
4か月前
株式会社クラベ
ヒータユニット
4か月前
個人
音声ガイド、音声サービス
2か月前
日本精機株式会社
車室演出装置
1か月前
個人
車載小物入れ兼雨傘収納具
3か月前
日本精機株式会社
車載表示装置
3か月前
株式会社ニフコ
収納装置
25日前
日本精機株式会社
車載表示装置
16日前
株式会社ニフコ
照明装置
1か月前
株式会社ニフコ
保持装置
3か月前
日本精機株式会社
車両用投影装置
3か月前
続きを見る
他の特許を見る