TOP
|
特許
|
意匠
|
商標
特許ウォッチ
Twitter
他の特許を見る
公開番号
2025143655
公報種別
公開特許公報(A)
公開日
2025-10-02
出願番号
2024042995
出願日
2024-03-19
発明の名称
半導体装置
出願人
エイブリック株式会社
代理人
主分類
H10D
1/47 20250101AFI20250925BHJP()
要約
【課題】半導体抵抗素子に隣接して高濃度不純物領域が形成された半導体装置であっても、半導体抵抗素子の抵抗値の変動を抑制することができる半導体装置を提供。
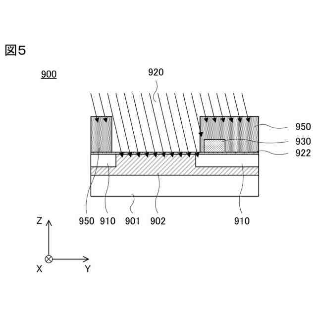
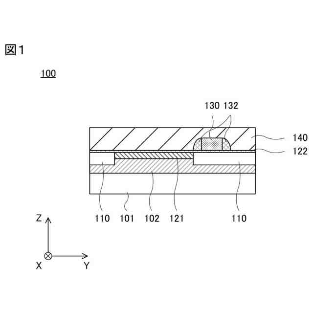
【解決手段】半導体装置100は、半導体基板101の表面に形成された高濃度不純物領域121と、高濃度不純物領域121に隣接して形成された素子分離領域110と、素子分離領域110の上層に形成された低濃度不純物領域を備えた半導体抵抗素子130と、を有する半導体装置であって、半導体抵抗素子130の側面にサイドスペーサ132を有する。
【選択図】図1
特許請求の範囲
【請求項1】
半導体基板の表面に形成された高濃度不純物領域と、
前記高濃度不純物領域に隣接して形成された素子分離領域と、
前記素子分離領域の上層に形成された低濃度不純物領域を備えた半導体抵抗素子と、
を有する半導体装置であって、
前記半導体抵抗素子の側面にサイドスペーサを有することを特徴とする半導体装置。
続きを表示(約 200 文字)
【請求項2】
前記サイドスペーサの端部は、平面視した際に前記高濃度不純物領域に接している請求項1に記載の半導体装置。
【請求項3】
前記サイドスペーサは、シリコン窒化膜で形成されている請求項1に記載の半導体装置。
【請求項4】
前記低濃度不純物領域は、中心部より前記サイドスペーサと接する側面の濃度が高い請求項1から4のいずれか1項に記載の半導体装置。
発明の詳細な説明
【技術分野】
【0001】
本発明は、半導体装置に関する。
続きを表示(約 1,500 文字)
【背景技術】
【0002】
ボルテージレギュレータなどの外部アナログ信号を処理するような半導体装置は、基準電圧回路やコンパレータなどのアナログ回路を備えている。このようなアナログ回路には、所望の電圧を得るために多結晶シリコンで形成した抵抗素子を複数直列に接続した抵抗分圧回路を用いる場合がある。近年は、半導体装置の高精度化に伴い抵抗分圧回路の電圧調整も高精度化の必要性が高まっている。
【0003】
一方、アナログ回路に用いるトランジスタなどの製造工程においては、フォトリソグラフィ技術を用いて形成したフォトレジストのパターンをマスクにし、イオン注入法を用いて半導体基板の表面における所定の領域に不純物を注入することが一般的である。
【0004】
フォトレジストのパターンの形成が正常に行われたかどうかは、半導体基板に形成した位置合わせマーク等を用いて確認されている。しかし、実際に不純物が注入された領域は、外観上確認できるパターンが半導体基板に残らないため、所定の領域に正しく注入されたかどうかを確認することは困難である。
【0005】
例えば、特許文献1には、イオン注入工程の重ね合わせ精度を、モニター素子を用いて評価することのできる半導体装置およびアライメント評価方法が記載されている。
【先行技術文献】
【特許文献】
【0006】
特開2008-198634号公報
【発明の概要】
【発明が解決しようとする課題】
【0007】
本発明の一つの側面では、半導体抵抗素子に隣接して高濃度不純物領域が形成された半導体装置であっても、半導体抵抗素子の抵抗値の変動を抑制することができる半導体装置を提供することを目的とする。
【課題を解決するための手段】
【0008】
本発明の一実施形態における半導体装置は、
半導体基板の表面に形成された高濃度不純物領域と、
前記高濃度不純物領域に隣接して形成された素子分離領域と、
前記素子分離領域の上層に形成された低濃度不純物領域を備えた半導体抵抗素子と、
を有する半導体装置であって、
前記半導体抵抗素子の側面にサイドスペーサを有する。
【発明の効果】
【0009】
本発明の一つの側面によれば、半導体抵抗素子に隣接して高濃度不純物領域が形成された半導体装置であっても、半導体抵抗素子の抵抗値の変動を抑制することができる半導体装置を提供することができる。
【図面の簡単な説明】
【0010】
図1は、本発明の第1の実施形態における半導体装置を示す概略断面図である。
図2は、本発明の第1の実施形態における半導体装置のN型高濃度不純物領域のイオン注入工程において+Y方向にずれが生じてフォトレジストが形成された状態を示す模式図である。
図3Aは、本発明の第2の実施形態における半導体装置を示す概略断面図である。
図3Bは、図3A中のA部の拡大図である。
図4は、従来の半導体装置の概略断面図である。
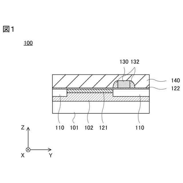
図5は、従来の半導体装置のN型高濃度不純物領域のイオン注入工程を示す模式図である。
図6は、従来の半導体装置のN型高濃度不純物領域のイオン注入工程において+Y方向にずれが生じてフォトレジストが形成された状態を示す模式図である。
【発明を実施するための形態】
(【0011】以降は省略されています)
この特許をJ-PlatPat(特許庁公式サイト)で参照する
関連特許
エイブリック株式会社
発振回路
1か月前
個人
積和演算用集積回路
10日前
サンケン電気株式会社
半導体装置
9日前
エイブリック株式会社
縦型ホール素子
1か月前
エイブリック株式会社
縦型ホール素子
1か月前
旭化成株式会社
発光素子
19日前
日機装株式会社
半導体発光装置
4日前
ローム株式会社
抵抗チップ
24日前
株式会社半導体エネルギー研究所
表示装置
1か月前
富士電機株式会社
半導体装置
1か月前
三菱電機株式会社
半導体装置
18日前
日亜化学工業株式会社
発光装置
1か月前
TDK株式会社
圧電素子
1か月前
日亜化学工業株式会社
発光装置
19日前
日亜化学工業株式会社
発光素子
1か月前
ローム株式会社
半導体集積回路
18日前
株式会社半導体エネルギー研究所
発光デバイス
4日前
ローム株式会社
窒化物半導体装置
1か月前
ローム株式会社
半導体装置
9日前
富士電機株式会社
半導体装置の製造方法
1か月前
ローム株式会社
半導体装置
25日前
ローム株式会社
半導体装置
23日前
ローム株式会社
窒化物半導体装置
24日前
株式会社半導体エネルギー研究所
発光デバイス
17日前
日亜化学工業株式会社
発光素子
9日前
株式会社カネカ
太陽電池モジュール
1か月前
大日本印刷株式会社
太陽電池
26日前
サンケン電気株式会社
発光装置
1か月前
日本電気株式会社
超伝導量子回路装置
1か月前
株式会社MARUWA
発光装置及び照明器具
1か月前
日亜化学工業株式会社
発光装置
11日前
日本ゼオン株式会社
構造体
11日前
ローム株式会社
光センサ
1か月前
日亜化学工業株式会社
発光装置
18日前
日亜化学工業株式会社
発光素子
9日前
今泉工業株式会社
光発電装置及びその製造方法
23日前
続きを見る
他の特許を見る