TOP
|
特許
|
意匠
|
商標
特許ウォッチ
Twitter
他の特許を見る
公開番号
2025141010
公報種別
公開特許公報(A)
公開日
2025-09-29
出願番号
2024040719
出願日
2024-03-15
発明の名称
空気ばね
出願人
住友電気工業株式会社
代理人
弁理士法人深見特許事務所
主分類
F16F
9/32 20060101AFI20250919BHJP(機械要素または単位;機械または装置の効果的機能を生じ維持するための一般的手段)
要約
【課題】押さえ部材を上面板に固定する締結ネジの脱落を抑制可能な空気ばねを提供する。
【解決手段】空気ばねは、上面板と、下面板と、ダイアフラムと、押さえ部材と、第1締結ネジと、摺動板と、を有している。下面板は、上面板に対面する。ダイアフラムは、上面板と下面板とを繋ぎ、且つ、上面板と下面板との間に内部空間を形成する。押さえ部材は、上面板とダイアフラムの開口端部とのシール部を覆う。第1締結ネジは、押さえ部材を上面板に固定する。摺動板は、上面板に取り付けられている。摺動板は、第1締結ネジを覆う。
【選択図】図1
特許請求の範囲
【請求項1】
上面板と、
前記上面板に対面する下面板と、
前記上面板と前記下面板とを繋ぎ、且つ、前記上面板と前記下面板との間に内部空間を形成するダイアフラムと、
前記上面板と前記ダイアフラムの開口端部とのシール部を覆う押さえ部材と、
前記押さえ部材を前記上面板に固定する第1締結ネジと、
前記上面板に取り付けられた摺動板と、を備え、
前記摺動板は、前記第1締結ネジを覆う、空気ばね。
続きを表示(約 770 文字)
【請求項2】
前記摺動板を前記上面板に固定する第2締結ネジをさらに備える、請求項1に記載の空気ばね。
【請求項3】
前記摺動板には、前記第1締結ネジの頂面を露出する貫通孔が設けられ、
前記貫通孔の内径は、前記頂面の外径よりも小さい、請求項1または請求項2に記載の空気ばね。
【請求項4】
前記ダイアフラムに埋め込まれたビードリングをさらに備え、
前記押さえ部材の外周端部は、前記ビードリングの内周端部よりも、径方向外側に位置している、請求項1または請求項2に記載の空気ばね。
【請求項5】
前記押さえ部材は、複数の円弧状部を含み、
前記上面板から前記下面板に向かう方向に見て、前記複数の円弧状部の各々の中心角は、30°以上120°以下である、請求項1または請求項2に記載の空気ばね。
【請求項6】
前記複数の円弧状部は、第1円弧状部と、第2円弧状部とを有し、
前記上面板から前記下面板に向かう方向に見て、前記第1円弧状部は、前記第2円弧状部に対向する、請求項5に記載の空気ばね。
【請求項7】
前記上面板から前記下面板に向かう方向において、前記摺動板の下面は、前記押さえ部材の下面よりも前記下面板に近い位置に配置されている、請求項1または請求項2に記載の空気ばね。
【請求項8】
前記押さえ部材は、鉄、ステンレス、アルミニウム合金、セラミック、チタン、銅合金、繊維強化プラスチック、および硬質ゴムのいずれかを含む、請求項1または請求項2に記載の空気ばね。
【請求項9】
前記押さえ部材は、前記ダイアフラムの下面に接する位置に配置されている、請求項1または請求項2に記載の空気ばね。
発明の詳細な説明
【技術分野】
【0001】
本開示は、空気ばねに関する。
続きを表示(約 1,300 文字)
【背景技術】
【0002】
鉄道車両において、車両走行時に車体に負荷される衝撃および振動を軽減するため、車体と台車間に空気ばねが搭載される。通常、空気ばねは、車体側にある上面板と、台車側にある下面板と、ダイアフラムとを有している。ダイアフラムは、上面板と下面板と繋いでいる。
【0003】
上面板とダイアフラムとの間においては、気密性を有するシール部が必要となる。シール部の方式は、上面板とダイアフラムとをねじで締結する締結方式と、空気ばねの内圧を利用するセルフシール方式に分けられる。特開2014-20478号公報(特許文献1)および特開2019-108919号公報(特許文献2)は、セルフシール方式を採用する空気ばねを開示している。
【先行技術文献】
【特許文献】
【0004】
特開2014-20478号公報
特開2019-108919号公報
【発明の概要】
【発明が解決しようとする課題】
【0005】
本開示の一態様の目的は、押さえ部材を上面板に固定する締結ネジの脱落を抑制可能な空気ばねを提供することである。
【課題を解決するための手段】
【0006】
本開示に係る空気ばねは、上面板と、下面板と、ダイアフラムと、押さえ部材と、第1締結ネジと、摺動板と、を備えている。下面板は、上面板に対面する。ダイアフラムは、上面板と下面板とを繋ぎ、且つ、上面板と下面板との間に内部空間を形成する。押さえ部材は、上面板とダイアフラムの開口端部とのシール部を覆う。第1締結ネジは、押さえ部材を上面板に固定する。摺動板は、上面板に取り付けられている。摺動板は、第1締結ネジを覆う。
【発明の効果】
【0007】
本開示の一態様によれば、押さえ部材を上面板に固定する締結ネジの脱落を抑制可能な空気ばねを提供することができる。
【図面の簡単な説明】
【0008】
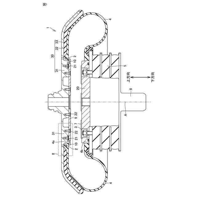
第1実施形態に係る空気ばねの構成を示す一部断面模式図である。
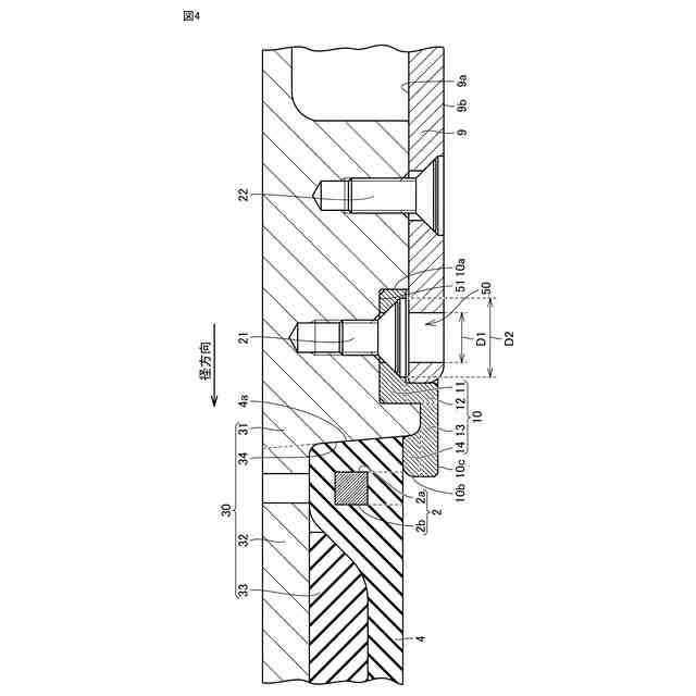
図1の領域IIの拡大模式図である。
第1実施形態に係る空気ばねの押さえ部材の構成を示す平面模式図である。
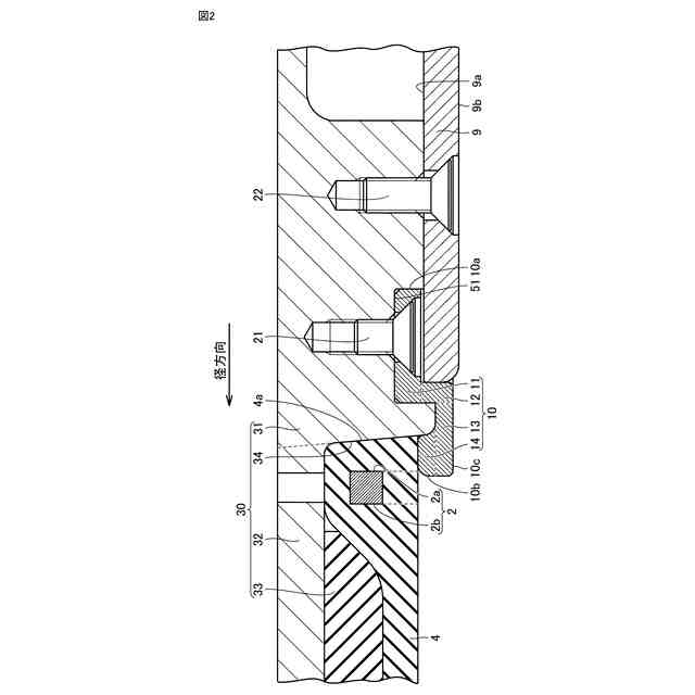
第2実施形態に係る空気ばねの構成を示す一部断面模式図である。
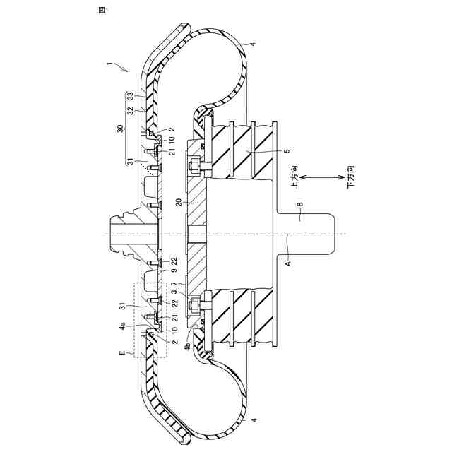
第3実施形態に係る空気ばねの構成を示す一部断面模式図である。
第4実施形態に係る空気ばねの押さえ部材の構成を示す平面模式図である。
【発明を実施するための形態】
【0009】
[実施形態の説明]
以下、本開示の実施態様を列記して説明する。
【0010】
(1)本開示に係る空気ばねは、上面板と、下面板と、ダイアフラムと、押さえ部材と、第1締結ネジと、摺動板と、を備えている。下面板は、上面板に対面する。ダイアフラムは、上面板と下面板とを繋ぎ、且つ、上面板と下面板との間に内部空間を形成する。押さえ部材は、上面板とダイアフラムの開口端部とのシール部を覆う。第1締結ネジは、押さえ部材を上面板に固定する。摺動板は、上面板に取り付けられている。摺動板は、第1締結ネジを覆う。
(【0011】以降は省略されています)
この特許をJ-PlatPat(特許庁公式サイト)で参照する
関連特許
個人
鍋虫ねじ
1か月前
個人
回転伝達機構
2か月前
個人
ホース保持具
5か月前
個人
紛体用仕切弁
1か月前
個人
差動歯車用歯形
3か月前
個人
ジョイント
18日前
個人
地震の揺れ回避装置
2か月前
株式会社不二工機
電磁弁
4か月前
個人
ナット
19日前
株式会社不二工機
電磁弁
3か月前
個人
吐出量監視装置
1か月前
カヤバ株式会社
ダンパ
3か月前
カヤバ株式会社
ダンパ
3か月前
カヤバ株式会社
緩衝器
3か月前
カヤバ株式会社
緩衝器
3か月前
柿沼金属精機株式会社
分岐管
1か月前
日東電工株式会社
断熱材
5か月前
株式会社ニフコ
クリップ
4日前
株式会社フジキン
ボールバルブ
3か月前
個人
固着具と固着具の固定方法
4か月前
個人
固着具と固着具の固定方法
4か月前
株式会社奥村組
制振機構
8日前
株式会社ノーリツ
分配弁
5か月前
アズビル株式会社
回転弁
12日前
株式会社ノーリツ
分配弁
5か月前
株式会社奥村組
制振機構
8日前
株式会社不二工機
電磁弁
1か月前
株式会社ノーリツ
分配弁
5か月前
株式会社タカギ
水栓装置
2か月前
株式会社ノーリツ
分配弁
4日前
個人
固着具と固着具の固定方法
4か月前
アイホン株式会社
電気機器
8日前
株式会社ケアコム
取付器具
2か月前
株式会社不二越
転がり軸受
1か月前
太陽工業株式会社
金属板結合方法
5か月前
個人
ワンウェイベアリング
2か月前
続きを見る
他の特許を見る