TOP
|
特許
|
意匠
|
商標
特許ウォッチ
Twitter
他の特許を見る
10個以上の画像は省略されています。
公開番号
2025147556
公報種別
公開特許公報(A)
公開日
2025-10-07
出願番号
2024047856
出願日
2024-03-25
発明の名称
センサシステム、座席、及びセンサユニット
出願人
住友電気工業株式会社
,
住友電装株式会社
,
株式会社オートネットワーク技術研究所
,
学校法人金沢工業大学
代理人
弁理士法人サンクレスト国際特許事務所
主分類
H02J
50/20 20160101AFI20250930BHJP(電力の発電,変換,配電)
要約
【課題】受電アンテナ回路の受信電力を高めることができる技術を提供する。
【解決手段】センサシステムは、車両内に配置される送電アンテナを有する給電装置と、前記車両内に配置される座席の一部を構成する、誘電体素材からなるクッション体と、前記座席に設けられるセンサと、前記クッション体の内部に配置され、前記送電アンテナからの送電電力を受電し前記センサへ与えられる電力を出力する受電アンテナ回路と、を有する。
【選択図】図1
特許請求の範囲
【請求項1】
車両内に配置される送電アンテナを有する給電装置と、
前記車両内に配置される座席の一部を構成する、誘電体素材からなるクッション体と、
前記座席に設けられるセンサと、
前記クッション体の内部に配置され、前記送電アンテナからの送電電力を受電し前記センサへ与えられる電力を出力する受電アンテナ回路と、を有する
センサシステム。
続きを表示(約 820 文字)
【請求項2】
前記クッション体は、
本体部と、
前記本体部の内部に設けられ、前記受電アンテナ回路を収容する内部空間と、を有する
請求項1に記載のセンサシステム。
【請求項3】
前記本体部は、前記送電アンテナ側の第1面と、前記第1面に対向する第2面と、を有し、
前記内部空間は、前記第2面寄りに設けられている
請求項2に記載のセンサシステム。
【請求項4】
前記内部空間の内面と、前記受電アンテナ回路の外面と、の間に、前記誘電体素材よりも誘電正接が低い絶縁層をさらに有する
請求項2に記載のセンサシステム。
【請求項5】
前記送電アンテナから放射される電波の波長をλとしたとき、前記絶縁層の厚みは、0.01λ以上、0.04λ以下である
請求項4に記載のセンサシステム。
【請求項6】
前記絶縁層は、発泡スチロール層を含む
請求項4または請求項5に記載のセンサシステム。
【請求項7】
前記絶縁層は、空気層を含む
請求項4または請求項5に記載のセンサシステム。
【請求項8】
前記内部空間に収容され、前記受電アンテナ回路を内部に収容することで前記絶縁層を画定する樹脂ケースをさらに備える
請求項4に記載のセンサシステム。
【請求項9】
前記受電アンテナ回路は、
アンテナ素子と、
前記アンテナ素子が実装されたアンテナ基板と、を有し、
前記アンテナ基板がフレキシブル基板である
請求項1に記載のセンサシステム。
【請求項10】
前記座席の一部は、ヘッドレストを含む
請求項1から請求項5、請求項8、および請求項9のいずれか一項に記載のセンサシステム。
(【請求項11】以降は省略されています)
発明の詳細な説明
【技術分野】
【0001】
本開示は、センサシステム、座席、及びセンサユニットに関する。
続きを表示(約 2,000 文字)
【背景技術】
【0002】
近年、乗用車等の車両においては、車両内の居室性向上を目的として、車両内の温度等車両内の状態を検知するセンサが配置されることがある。
このようなセンサを、有線によって給電しようとすると、配線が複雑になるとともにコストアップや重量増の要因となるおそれがある。そこで、センサに対して無線給電することが考えられる。
例えば、特許文献1には、電波により電力を送電する無線給電システムに関する技術が開示されている。
【先行技術文献】
【特許文献】
【0003】
特表2011-525098号公報
【発明の概要】
【発明が解決しようとする課題】
【0004】
センサに対して無線給電する場合、送電電力を受電しセンサへ電力を与える受電アンテナ回路が必要となる。
この受電アンテナ回路のアンテナ素子の大きさは、受信する電波の波長に依存する。無線給電による電波の周波数は、920GHzから数GHzである。この電波を受信するためのアンテナ素子の長さは、150mm程度となることがある。また、アンテナ素子の配置は、送電アンテナの位置によって制限されることがある。
車両内は比較的狭小であり、配置が制限されることを考慮すると、アンテナ素子を車両内に適切に配置することが困難な場合がある。
【0005】
ここで、アンテナ素子の長さを短くし受電アンテナ回路を小型化することは可能である。
しかし、この場合、アンテナ素子が無指向性となり、受信電力が低下してしまうという問題が生じる。
そこで、本開示では、受電アンテナ回路の受信電力を高めることができる技術の提供を目的とする。
【課題を解決するための手段】
【0006】
実施形態であるセンサシステムは、車両内に配置される送電アンテナを有する給電装置と、前記車両内に配置される座席の一部を構成する、誘電体素材からなるクッション体と、前記座席に設けられるセンサと、前記クッション体の内部に配置され、前記送電アンテナからの送電電力を受電し前記センサへ与えられる電力を出力する受電アンテナ回路と、を有する。
【発明の効果】
【0007】
本開示によれば、受電アンテナ回路の受信電力を高めることができる。
【図面の簡単な説明】
【0008】
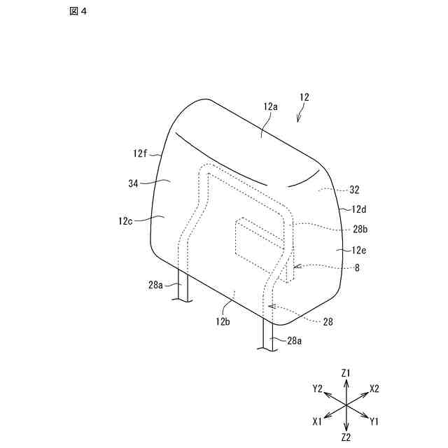
図1は、実施形態に係るセンサシステムを備える車両の一例を示す側面図である。
図2は、センサシステムと、車両の各部との関係を示す図である。
図3は、センサユニットの構成例を示すブロック図である。
図4は、第1実施形態に係るヘッドレストの斜視図である。
図5は、ヘッドレストの断面図である。
図6Aは、センサユニットの断面図である。
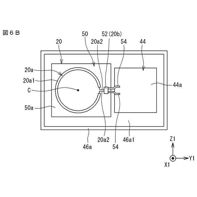
図6Bは、蓋を除いたときのセンサユニットをX1方向側から見たときの図である。
図7は、変形例に係るセンサユニットの断面図である。
図8は、他の変形例に係るセンサユニットの斜視図である。
図9は、第2実施形態に係るヘッドレストの断面図である。
図10は、ヘッドレストに対するレクテナの位置を説明するための図である。
図11Aは、距離Lを変化させたときのレクテナの利得の変化を示すグラフである。
図11Bは、幅Wを変化させたときのレクテナの利得の変化を示すグラフである。
図12は、クッション体のモデル内の絶縁層の厚みを説明するための図である。
図13は、絶縁層の厚みを変化させたときのレクテナの利得の変化を示すグラフである。
図14Aは、比較例1の指向特性を示すグラフである。
図14Bは、実施例1の指向特性を示すグラフである。
図15は、比較例2に係るヘッドレストの断面図である。
図16Aは、比較例2の指向特性を示すグラフである。
図16Bは、実施例2の指向特性を示すグラフである。
【発明を実施するための形態】
【0009】
最初に実施形態の内容を列記して説明する。
[実施形態の概要]
【0010】
(1)本開示の実施形態に係るセンサシステムは、車両内に配置される送電アンテナを有する給電装置と、前記車両内に配置される座席の一部を構成する、誘電体素材からなるクッション体と、前記座席に設けられるセンサと、前記クッション体の内部に配置され、前記送電アンテナからの送電電力を受電し前記センサへ与えられる電力を出力する受電アンテナ回路と、を有する。
(【0011】以降は省略されています)
この特許をJ-PlatPat(特許庁公式サイト)で参照する
関連特許
住友電気工業株式会社
コンタクタ治具および検査治具
1日前
住友電気工業株式会社
方法、超電導線材、および制御システム
4日前
住友電気工業株式会社
樹脂組成物、電線、樹脂組成物の製造方法、および電線の製造方法
1日前
株式会社オートネットワーク技術研究所
コネクタ装置
9日前
株式会社オートネットワーク技術研究所
コネクタ装置
9日前
株式会社オートネットワーク技術研究所
車載用制御装置
2日前
住友電工オプティフロンティア株式会社
光コネクタおよび光コネクタの取り付け方法
8日前
株式会社オートネットワーク技術研究所
筐体、および車両用充電装置
8日前
株式会社オートネットワーク技術研究所
端子材料および電気接続端子
4日前
株式会社オートネットワーク技術研究所
端子材料および電気接続端子
4日前
株式会社オートネットワーク技術研究所
端子材料および電気接続端子
8日前
株式会社オートネットワーク技術研究所
端子金具、実装基板及び基板装置
3日前
株式会社オートネットワーク技術研究所
金属部材および金属部材の製造方法
8日前
株式会社オートネットワーク技術研究所
電気接続箱、及び電気接続箱の製造方法
3日前
住友電気工業株式会社
出力制御ユニット、電力変換装置、電力変換システム、電池残量管理方法およびコンピュータプログラム
1日前
株式会社オートネットワーク技術研究所
車載更新システム、車載装置、及び車載ECU
4日前
株式会社オートネットワーク技術研究所
電線導体、絶縁電線、およびワイヤーハーネス
8日前
株式会社オートネットワーク技術研究所
クランプ、ワイヤハーネス及びクランプセット
1日前
株式会社オートネットワーク技術研究所
ワイヤハーネス
1日前
株式会社オートネットワーク技術研究所
シールド導電路
3日前
株式会社オートネットワーク技術研究所
ワイヤハーネス
1日前
個人
単極モータ
4日前
株式会社アイシン
ロータ
4日前
株式会社アイシン
ロータ
8日前
西部電機株式会社
充電装置
11日前
西部電機株式会社
充電装置
11日前
日本精機株式会社
サージ保護回路
11日前
トヨタ自動車株式会社
固定子
9日前
トヨタ自動車株式会社
製造装置
9日前
株式会社デンソー
回転機
2日前
個人
連続ガウス加速器形磁力増幅装置
11日前
株式会社ダイヘン
充電装置
8日前
株式会社アイシン
ステータ
8日前
株式会社アイシン
ステータ
8日前
株式会社アイシン
ステータ
8日前
個人
太陽エネルギー収集システム
9日前
続きを見る
他の特許を見る