TOP
|
特許
|
意匠
|
商標
特許ウォッチ
Twitter
他の特許を見る
公開番号
2025154082
公報種別
公開特許公報(A)
公開日
2025-10-10
出願番号
2024056887
出願日
2024-03-29
発明の名称
金属部材および金属部材の製造方法
出願人
株式会社オートネットワーク技術研究所
,
住友電装株式会社
,
住友電気工業株式会社
代理人
弁理士法人上野特許事務所
主分類
B21D
19/08 20060101AFI20251002BHJP(本質的には材料の除去が行なわれない機械的金属加工;金属の打抜き)
要約
【課題】ノッチや切欠き等、金属材料の一部を除去する構造を形成しなくても、割れ等の損傷の発生を抑えながら、金属の板材に曲げを加えて製造することができる金属部材、またそのような金属部材の製造方法を提供する。
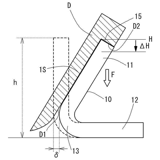
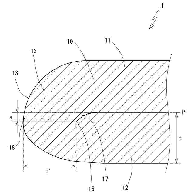
【解決手段】金属の板材10に密着曲げを施した曲げ部13を有し、前記板材10のうち、曲げを加えられていない箇所である2つの平坦部11,12が、前記曲げ部13を挟んで位置する方向を、上方および下方として、前記曲げ部13において、曲げの先端部16の上下方向の位置が、前記2つの平坦部11,12が相互に重ね合わせられた基準面Pの上下方向の位置に対して、ずれaを有している金属部材1とする。また、板材10のうち、曲げを加える箇所13を挟んで少なくとも一方側の部位11に、前記曲げを加える箇所13に向かって圧縮する力を加えながら、前記板材10に曲げを加える、金属部材の製造方法とする。
【選択図】図2
特許請求の範囲
【請求項1】
金属の板材に密着曲げを施した曲げ部を有し、
前記板材のうち、曲げを加えられていない箇所である2つの平坦部が、前記曲げ部を挟んで位置する方向を、上方および下方として、
前記曲げ部において、曲げの先端部の上下方向の位置が、前記2つの平坦部が相互に重ね合わせられた基準面の上下方向の位置に対して、ずれを有している、金属部材。
続きを表示(約 690 文字)
【請求項2】
前記ずれの大きさは、前記平坦部における前記板材の板厚の10%以上である、請求項1に記載の金属部材。
【請求項3】
前記曲げの先端部における前記板材の板厚が、前記平坦部における前記板材の板厚と比較して、減少していないか、減少量が20%以下に抑えられている、請求項1または請求項2に記載の金属部材。
【請求項4】
前記曲げ部の外表面に、割れが形成されていない、請求項1または請求項2に記載の金属部材。
【請求項5】
前記金属部材を前記曲げ部から前記平坦部が延びる方向に沿って上下方向に切断した断面において、前記曲げ部の外表面が、前記基準面上に中心を有する単一の円弧では近似できず、中心の位置が相互に異なる複数の円弧のつなぎ合わせによって近似される、請求項1または請求項2に記載の金属部材。
【請求項6】
金属の板材に曲げを加えた曲げ部を有し、
前記板材のうち、前記曲げ部となる箇所を挟んで少なくとも一方側の部位に、前記曲げ部の方向に向かって圧縮する力を加えながら、前記板材に曲げを加えて製造される、金属部材。
【請求項7】
電気接続端子を構成する、請求項1、請求項2、請求項6のいずれか1項に記載の金属部材。
【請求項8】
金属の板材に曲げを加えて金属部材を製造するに際し、
前記板材のうち、曲げを加える箇所を挟んで少なくとも一方側の部位に、前記曲げを加える箇所に向かって圧縮する力を加えながら、前記板材に曲げを加える、金属部材の製造方法。
発明の詳細な説明
【技術分野】
【0001】
本開示は、金属部材および金属部材の製造方法に関する。
続きを表示(約 1,800 文字)
【背景技術】
【0002】
近年、自動車内の電気接続部材等の分野において、省スペース化の観点から、小型の金属部材を、板材に対する曲げを含んで製造することが求められるようになっている。また、金属部材を構成する材料として、高強度の材料が使用されているようになっている。小型の金属部材を製造する際の金属材料の曲げ、また高強度の金属材料に対する曲げは、困難な工程となりやい。特に、急角度の曲げや複雑な形状への曲げを板材に対して行う場合に、曲げの困難性が高くなりやすい。急角度の曲げや複雑な形状への曲げの例として、電気接続端子等の金属部材の製造工程において求められる、板材の板面を180°曲げる密着曲げや、板材を箱型に曲げる箱曲げを挙げることができる。
【0003】
上記で例示した形態のように、困難な条件で金属の板材に曲げを加える場合に、曲げの箇所において、板面の割れ等、金属材料に損傷が生じやすくなる。割れ等の損傷の発生は、製造する金属部材の特性を確保する観点から、できる限り避ける必要がある。そこで、困難な条件で曲げを行う場合でも、板面の割れ等の金属材料の損傷が生じるのを避けるために、曲げの方法について様々な工夫がなされている。その種の工夫は、例えば特許文献1や特許文献2に開示されている。
【先行技術文献】
【特許文献】
【0004】
特開2003-25019号公報
特開2012-84487号公報
【発明の概要】
【発明が解決しようとする課題】
【0005】
上記のとおり、困難な条件で金属材料に曲げを加える場合でも、曲げ部に割れ等の損傷が生じないようにするために、様々な工夫がなされている。しかし、上に挙げた特許文献1では、曲げラインにノッチを形成すると共に、ノッチに対応して金属板の上面に外方へ円弧状に突出する凸部を形成したうえで、曲げを加えている。また、特許文献2では、曲げ加工に先立ち、金属材料に切欠を形成している。このように、損傷の回避のために、ノッチや切欠を設けるとすれば、曲げ加工の工程が煩雑になってしまうとともに、曲げ加工の適用対象が限られてしまう可能性もある。ノッチや切欠きの形成により、金属材料の一部を除去することで、製造される金属部材において、機械強度等、特性に影響を生じる場合もある。ノッチや切欠等、特殊な構造を金属材料に形成しなくても、割れ等の損傷の発生を抑えながら金属材料に曲げを加え、金属部材を製造できるようにすることが望まれる。
【0006】
以上に鑑み、ノッチや切欠き等、金属材料の一部を除去する構造を形成しなくても、割れ等の損傷の発生を抑えながら、金属の板材に曲げを加えて製造することができる金属部材、またそのような金属部材の製造方法を提供することを課題とする。
【課題を解決するための手段】
【0007】
本開示の第一の金属部材は、金属の板材に密着曲げを施した曲げ部を有し、前記板材のうち、曲げを加えられていない箇所である2つの平坦部が、前記曲げ部を挟んで位置する方向を、上方および下方として、前記曲げ部において、曲げの先端部の上下方向の位置が、前記2つの平坦部が相互に重ね合わせられた基準面の上下方向の位置に対して、ずれを有している。
【0008】
本開示の第二の金属部材は、金属の板材に曲げを加えた曲げ部を有し、前記板材のうち、前記曲げ部となる箇所を挟んで少なくとも一方側の部位に、前記曲げ部の方向に向かって圧縮する力を加えながら、前記板材に曲げを加えて製造される。
【0009】
本開示の金属部材の製造方法は、金属の板材に曲げを加えて金属部材を製造するに際し、前記板材のうち、曲げを加える箇所を挟んで少なくとも一方側の部位に、前記曲げを加える箇所に向かって圧縮する力を加えながら、前記板材に曲げを加える。
【発明の効果】
【0010】
本開示の第一の金属部材および第二の金属部材は、ノッチや切欠き等、金属材料の一部を除去する構造を形成しなくても、割れ等の損傷の発生を抑えながら、金属の板材に曲げを加えて製造することができる金属部材となる。また、本開示の金属部材の製造方法は、そのような金属部材の製造方法となる。
【図面の簡単な説明】
(【0011】以降は省略されています)
この特許をJ-PlatPat(特許庁公式サイト)で参照する
関連特許
個人
ヘッダー加工機
4か月前
日東精工株式会社
中空軸部品の製造方法
3か月前
日伸工業株式会社
プレス加工装置
3か月前
株式会社不二越
NC転造盤
3か月前
オムロン株式会社
導線折り曲げ治具
1か月前
トヨタ紡織株式会社
プレス金型
6か月前
東栄工業株式会社
ダブルデッキヘミング金型
3か月前
トヨタ紡織株式会社
プレス金型
4か月前
株式会社アマダ
曲げ金型
1か月前
トヨタ紡織株式会社
プレス装置
5か月前
株式会社西田製作所
パンチャーヘッド
5か月前
トヨタ紡織株式会社
プレス金型
23日前
工機ホールディングス株式会社
ニブラ
5か月前
日鉄建材株式会社
成形装置
2日前
株式会社トラバース
パンチング加工装置
5か月前
株式会社TMEIC
監視装置
5か月前
トヨタ自動車株式会社
打ち抜き加工方法
4か月前
株式会社アマダ
曲げ加工機
3か月前
フジテック株式会社
金属棒曲げ工具
4日前
浙江飛剣工貿有限公司
二重片口の製造方法
4か月前
トヨタ紡織株式会社
プレス金型装置
5か月前
株式会社三明製作所
転造装置
1か月前
ユニプレス株式会社
プレス加工装置
2か月前
ユニオンツール株式会社
転造ダイスセット
3か月前
トヨタ自動車株式会社
電磁鋼板の成形方法
3か月前
株式会社吉野機械製作所
プレス機械
3か月前
JFEスチール株式会社
熱延鋼板の製造方法
2か月前
株式会社アマダ
プレスブレーキ
2か月前
東京精密発條株式会社
金属板の曲げ加工装置
1か月前
株式会社TMEIC
誘導加熱装置
3か月前
株式会社TMEIC
制御システム
3か月前
トヨタ自動車株式会社
歯形を鍛造成形する方法
6か月前
トヨタ自動車株式会社
金属部材の製造方法
1か月前
共英製鋼株式会社
異形棒鋼の捻れ抑制方法
13日前
トヨタ自動車株式会社
鋼板部材及びその製造方法
1か月前
株式会社今井金箔
金属箔製造方法、及び、金属箔
1か月前
続きを見る
他の特許を見る