TOP
|
特許
|
意匠
|
商標
特許ウォッチ
Twitter
他の特許を見る
10個以上の画像は省略されています。
公開番号
2025159209
公報種別
公開特許公報(A)
公開日
2025-10-17
出願番号
2025137965,2022064436
出願日
2025-08-21,2022-04-08
発明の名称
ワイヤハーネス
出願人
株式会社オートネットワーク技術研究所
,
住友電装株式会社
,
住友電気工業株式会社
代理人
個人
,
個人
,
個人
主分類
H02G
3/04 20060101AFI20251009BHJP(電力の発電,変換,配電)
要約
【課題】ワイヤハーネスに簡易にノイズ対策を行うことができるようにすることを目的とする。
【解決手段】ワイヤハーネス30は、複数の配線50と、前記複数の配線50を扁平な形態に保つベース部材54と、前記ベース部材54に位置決めされ、前記複数の配線50のうち対象配線50Sを覆う金属箔72と、を備える。
【選択図】図5
特許請求の範囲
【請求項1】
複数の配線と、
前記複数の配線を扁平な形態に保つベース部材と、
前記ベース部材に位置決めされ、前記複数の配線のうち対象配線を覆う金属箔と、
を備え、
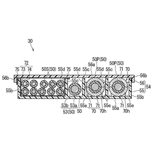
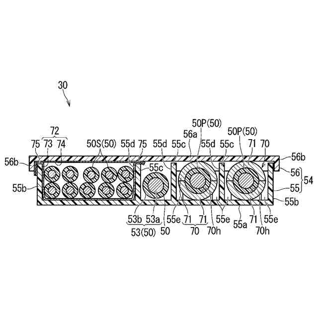
前記対象配線が収まる溝が形成された本体と、前記本体とは反対側から前記対象配線を覆う蓋とを有するプロテクタであり、
前記金属箔が、前記本体と前記対象配線との間に設けられると共に、前記蓋と前記対象配線との間に設けられており、
前記金属箔は、前記本体のうち前記溝の内面に沿う第1金属箔部分と、前記蓋に沿う第2金属箔部分とを含み、
前記第1金属箔部分の端部と前記第2金属箔部分の端部とが、前記溝の側壁と前記蓋との間に挟持されている、ワイヤハーネス。
続きを表示(約 750 文字)
【請求項2】
複数の配線と、
前記複数の配線を扁平な形態に保つベース部材と、
前記ベース部材に位置決めされ、前記複数の配線のうち対象配線を覆う金属箔と、
前記ベース部材に位置決めされ、前記複数の配線のうち前記対象配線とは別の第2の対象配線を覆う磁性体コアと、
を備え、
前記対象配線が収まる溝が形成された本体と、前記本体とは反対側から前記対象配線を覆う蓋とを有するプロテクタであり、
前記金属箔が、前記本体と前記対象配線との間に設けられると共に、前記蓋と前記対象配線との間に設けられており、
前記プロテクタの前記本体には、前記第2の対象配線が収まる第2の溝が形成されて、前記溝と前記第2の溝とが並行する部分において、前記磁性体コア及び前記金属箔が設けられている、ワイヤハーネス。
【請求項3】
請求項2に記載のワイヤハーネスであって、
前記プロテクタの前記本体には、前記対象配線及び前記第2の対象配線とは別の配線が収まる第3の溝が形成され、
前記溝と前記第2の溝との間に前記第3の溝が位置する、ワイヤハーネス。
【請求項4】
請求項1から請求項3のいずれか1項に記載のワイヤハーネスであって、
電気機器のコネクタに接続される機器用コネクタと、それぞれ相手側ワイヤハーネスのコネクタが接続される第1ハーネス用コネクタ及び第2ハーネス用コネクタとが設けられ、
前記複数の配線は、前記機器用コネクタから分岐して前記第1ハーネス用コネクタ及び前記第2ハーネス用コネクタに接続される複数の機器用配線を含み、
前記対象配線は、前記複数の機器用配線のうちの信号線を含む、ワイヤハーネス。
発明の詳細な説明
【技術分野】
【0001】
本開示は、ワイヤハーネスに関する。
続きを表示(約 1,200 文字)
【背景技術】
【0002】
特許文献1は、インパネハーネス、エンジンルームハーネス、ドアハーネス及びフロアハーネスを相互に電気的に接続する相互接続箱を開示している。
【先行技術文献】
【特許文献】
【0003】
特開2007-202352号公報
【発明の概要】
【発明が解決しようとする課題】
【0004】
ところでワイヤハーネスにノイズ対策が求められることがある。
【0005】
そこで、ワイヤハーネスに簡易にノイズ対策を行うことができるようにすることを目的とする。
【課題を解決するための手段】
【0006】
本開示のワイヤハーネスは、複数の配線と、前記複数の配線を扁平な形態に保つベース部材と、前記ベース部材に位置決めされ、前記複数の配線のうち対象配線を覆う金属箔と、を備える、ワイヤハーネスである。
【発明の効果】
【0007】
本開示によれば、ワイヤハーネスに簡易にノイズ対策を行うことができる。
【図面の簡単な説明】
【0008】
図1は車両におけるワイヤハーネスを含む配線システムを示す説明図である。
図2は実施形態にかかるワイヤハーネスが車両に配置された様子を示す斜視図である。
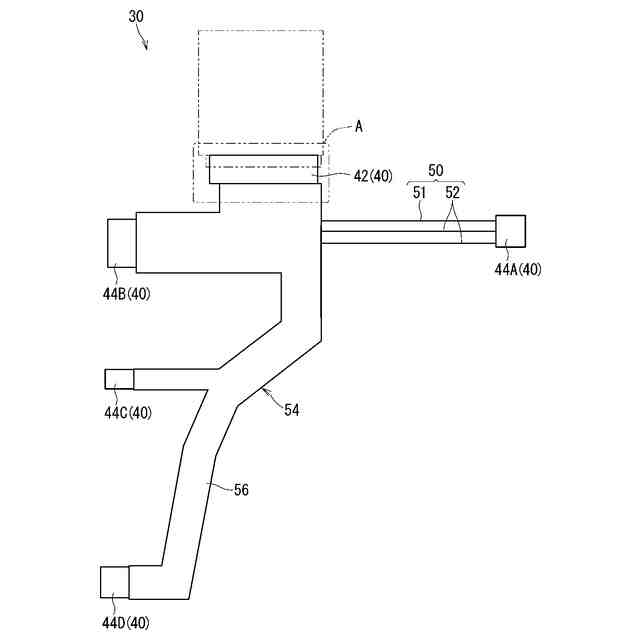
図3は実施形態にかかるワイヤハーネスを示す平面図である。
図4は図3の領域Aの拡大図である。
図5は図4のV-V線に沿った断面図である。
図6は第1変形例にかかるワイヤハーネスを示す平面図である。
図7は図6のVII-VII線に沿った断面図である。
図8は第2変形例にかかるワイヤハーネスを示す分解平面図である。
図9は第2変形例にかかるワイヤハーネスを示す側面図である。
図10は複数種のコネクタ及び複数の配線の接続関係を説明する図である。
図11は機器用コネクタ、第1ハーネス用コネクタ及び第2ハーネス用コネクタの接続関係を説明する図である。
図12は第3変形例にかかる配線及びベース部材を示す断面図である。
図13は複数の配線の分け方の一例を示す図である。
図14は複数の配線の分け方の別の例を示す図である。
図15は第4変形例にかかるワイヤハーネスを示す斜視図である。
図16は第4変形例にかかるワイヤハーネスを示す分解斜視図である。
図17は第5変形例にかかるワイヤハーネスを示す平面図である。
図18は第5変形例にかかるワイヤハーネスが車両に配置された様子を示す斜視図である。
【発明を実施するための形態】
【0009】
[本開示の実施形態の説明]
最初に本開示の実施態様を列記して説明する。
【0010】
本開示のワイヤハーネスは、次の通りである。
(【0011】以降は省略されています)
この特許をJ-PlatPat(特許庁公式サイト)で参照する
関連特許
個人
単極モータ
6日前
株式会社アイシン
ロータ
10日前
株式会社FUJI
制御盤
21日前
株式会社アイシン
ロータ
6日前
西部電機株式会社
充電装置
13日前
西部電機株式会社
充電装置
13日前
日本精機株式会社
サージ保護回路
13日前
トヨタ自動車株式会社
固定子
11日前
トヨタ自動車株式会社
回転子
17日前
個人
連続ガウス加速器形磁力増幅装置
13日前
ミサワホーム株式会社
居住設備
21日前
株式会社デンソー
回転機
4日前
トヨタ自動車株式会社
製造装置
11日前
個人
太陽エネルギー収集システム
11日前
東京瓦斯株式会社
通信装置
12日前
株式会社ミツバ
ブラシレスモータ
12日前
カヤバ株式会社
筒型リニアモータ
12日前
株式会社リコー
拡張アンテナ装置
24日前
株式会社ダイヘン
充電装置
10日前
株式会社ダイヘン
充電装置
10日前
株式会社ダイヘン
充電装置
10日前
株式会社アイシン
ステータ
10日前
株式会社アイシン
ステータ
10日前
株式会社アイシン
ステータ
10日前
株式会社アイシン
ステータ
10日前
株式会社ダイヘン
充電装置
10日前
トヨタ自動車株式会社
被膜形成装置
11日前
株式会社kaisei
発電システム
6日前
日産自動車株式会社
ステータ
18日前
ユタカ電業株式会社
ケーブルダクト
21日前
ニチコン株式会社
AC入力検出回路
17日前
トヨタ自動車株式会社
ロータ
19日前
ASTI株式会社
電力変換装置
11日前
株式会社デンソー
電力変換装置
5日前
東京瓦斯株式会社
給電システム
12日前
NTN株式会社
モータユニット
21日前
続きを見る
他の特許を見る