TOP
|
特許
|
意匠
|
商標
特許ウォッチ
Twitter
他の特許を見る
10個以上の画像は省略されています。
公開番号
2025158323
公報種別
公開特許公報(A)
公開日
2025-10-17
出願番号
2024060748
出願日
2024-04-04
発明の名称
クランプ、ワイヤハーネス及びクランプセット
出願人
株式会社オートネットワーク技術研究所
,
住友電装株式会社
,
住友電気工業株式会社
代理人
個人
,
個人
,
個人
,
個人
主分類
H02G
3/30 20060101AFI20251009BHJP(電力の発電,変換,配電)
要約
【課題】ワイヤハーネスの交換をしやすくすることを目的とする。
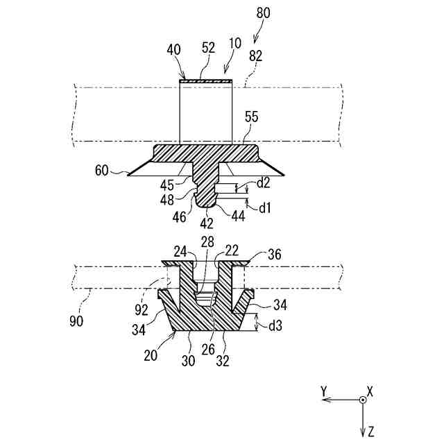
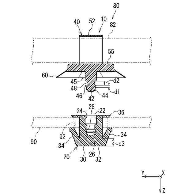
【解決手段】クランプは、車体側部品とハーネス側部品とを備える。前記車体側部品は、取付受部と係止爪とを含む。前記ハーネス側部品は、取付部とハーネス固定部とを含む。前記取付受部に取付前の前記取付部は、取付方向に沿う一方向きの力を受けて前記取付受部に取付け可能である。前記取付受部に取付後の前記取付部は、前記取付方向に沿う他方向きの力を受けて前記取付受部から取外し可能である。前記車体側部品と前記ハーネス側部品とが取付いた状態で、前記係止爪が車体の係止孔に係止可能である。前記車体側部品と前記ハーネス側部品とが取付き、かつ、前記係止爪が前記係止孔に係止した状態で、前記取付受部と前記取付部とが取外されることによって、前記車体側部品と、前記ハーネス側部品とに分離可能である。
【選択図】図4
特許請求の範囲
【請求項1】
ワイヤハーネスを車体に固定するクランプであって、
車体側部品と、
前記車体側部品に着脱可能に取付けられているハーネス側部品と、
を備え、
前記車体側部品は、取付受部と、前記車体に形成された係止孔に係止する係止爪とを含み、
前記ハーネス側部品は、前記取付受部に取付けられている取付部と、前記ワイヤハーネスに固定されるハーネス固定部とを含み、
前記取付受部に取付前の前記取付部は、取付方向に沿う一方向きの力を受けて前記取付受部に取付け可能であると共に、前記取付受部に取付後の前記取付部は、前記取付方向に沿う他方向きの力を受けて前記取付受部から取外し可能であり、
前記車体側部品と前記ハーネス側部品とが取付いた状態で、前記係止爪が前記係止孔に係止可能であり、
前記車体側部品と前記ハーネス側部品とが取付き、かつ、前記係止爪が前記係止孔に係止した状態で、前記取付受部と前記取付部とが取外されることによって、前記車体側部品と、前記ハーネス側部品とに分離可能である、クランプ。
続きを表示(約 2,000 文字)
【請求項2】
請求項1に記載のクランプであって、
前記取付方向は、前記係止爪を前記係止孔に係止させる係止方向に沿う方向である、クランプ。
【請求項3】
請求項2に記載のクランプであって、
前記取付部は、前記ハーネス固定部から前記取付方向に沿って突出する挿入部と、前記挿入部よりも前記取付方向と交差する方向に広がる第1凸部とを有し、
前記係止爪は、前記係止方向に沿って延びる柱部と、前記柱部の一端から突出する爪部と、前記柱部の他端から突出するフランジとを有し、
前記取付受部は、前記柱部の他端から前記一端に向けて形成されて前記挿入部が挿入される取付孔と、前記取付孔の内面に形成されて前記第1凸部と係止する第2凸部とを有し、
前記車体側部品及び前記ハーネス側部品の少なくとも一方が弾性変形することによって、前記第1凸部が前記第2凸部を前記取付方向に沿って通過可能であると共に、通過後に前記車体側部品及び前記ハーネス側部品の前記少なくとも一方が弾性復帰し、
前記第1凸部が前記第2凸部を前記取付方向に沿って前記一方向きに通過した後に、前記第2凸部が前記挿入部のうち前記第1凸部よりも基端側の周囲に位置する、クランプ。
【請求項4】
請求項3に記載のクランプであって、
前記第2凸部は、前記第1凸部よりも前記取付方向に厚い、クランプ。
【請求項5】
請求項4に記載のクランプであって、
前記第1凸部は、前記挿入部の先端側から基端側に向けて前記挿入部からの突出寸法が徐々に大きくなる、クランプ。
【請求項6】
請求項1から請求項5のいずれか1項に記載のクランプであって、
前記車体側部品と前記ハーネス側部品との間に介在するジョイント部品をさらに備え、
前記ジョイント部品は、前記取付部に相当する形状に形成されて前記取付受部に取付けられているジョイント取付部と、前記ジョイント取付部から延びる連結板部と、前記連結板部に形成されて前記取付部が取付けられているジョイント取付受部とを含み、
前記取付部と前記ジョイント取付部とが前記取付方向と交差する方向に離れている、クランプ。
【請求項7】
請求項1から請求項5のいずれか1項に記載のクランプであって、
前記車体側部品と前記ハーネス側部品との間に介在するジョイント部品をさらに備え、
前記ジョイント部品は、前記取付部に相当する形状に形成されて前記取付受部に取付けられているジョイント取付部と、前記ジョイント取付部から延びる連結板部と、前記連結板部に形成されて前記取付部が取付けられているジョイント取付受部とを含み、
1つの前記連結板部に複数の前記ジョイント取付受部が形成されると共に、前記ハーネス側部品が複数設けられ、
複数の前記ジョイント取付受部それぞれに前記ハーネス側部品が取付けられている、クランプ。
【請求項8】
請求項1から請求項5のいずれか1項に記載のクランプと、
前記ハーネス固定部に固定されたワイヤハーネス本体と、
を備える、ワイヤハーネス。
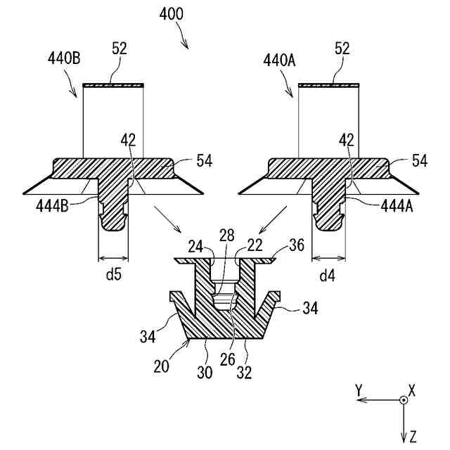
【請求項9】
ワイヤハーネスを車体に固定するクランプセットであって、
第1のハーネス側部品と、
第2のハーネス側部品と、
前記第1のハーネス側部品と前記第2のハーネス側部品とのうちいずれか一方が選択的に取付けられた車体側部品と、
を備え、
前記車体側部品は、取付受部と、前記車体に形成された係止孔に係止する係止爪とを有し、
前記第1のハーネス側部品と前記第2のハーネス側部品とのそれぞれは、前記取付受部に取付けられている取付部と、前記ワイヤハーネスに固定されるハーネス固定部とを有し、
前記取付受部に取付前の前記取付部は、取付方向に沿う一方向きの力を受けて前記取付受部に取付け可能であると共に、前記取付受部に取付後の前記取付部は、前記取付方向に沿う他方向きの力を受けて前記取付受部から取外し可能であり、
前記車体側部品と前記第1又は第2のハーネス側部品とが取り付いた状態で、前記係止爪が前記係止孔に係止可能であり、
前記車体側部品と前記第1又は第2のハーネス側部品とが取り付き、かつ、前記係止爪が前記係止孔に係止した状態で、前記取付受部と前記取付部とが取り外されて、前記車体側部品と、前記第1又は第2のハーネス側部品とに分離可能であり、
前記第1のハーネス側部品における前記取付受部と前記取付部との取付強度が、前記第2のハーネス側部品における前記取付受部と前記取付部との取付強度よりも強い、クランプセット。
発明の詳細な説明
【技術分野】
【0001】
本開示は、クランプ、ワイヤハーネス及びクランプセットに関する。
続きを表示(約 1,200 文字)
【背景技術】
【0002】
特許文献1は、車体の係止孔に係止する係止爪と、係止孔への係止爪の係止状態を解除するロック解除部とを備える配索物固定用クランプを開示している。
【先行技術文献】
【特許文献】
【0003】
特開2004-248421号公報
【発明の概要】
【発明が解決しようとする課題】
【0004】
配索物固定用クランプでは、配索物の交換時などにクランプの係止爪を再度、車体の係止孔に係止させる必要がある。
【0005】
そこで、ワイヤハーネスの交換をしやすくすることを目的とする。
【課題を解決するための手段】
【0006】
本開示のクランプは、ワイヤハーネスを車体に固定するクランプであって、車体側部品と、前記車体側部品に着脱可能に取付けられているハーネス側部品と、を備え、前記車体側部品は、取付受部と、前記車体に形成された係止孔に係止する係止爪とを含み、前記ハーネス側部品は、前記取付受部に取付けられている取付部と、前記ワイヤハーネスに固定されるハーネス固定部とを含み、前記取付受部に取付前の前記取付部は、取付方向に沿う一方向きの力を受けて前記取付受部に取付け可能であると共に、前記取付受部に取付後の前記取付部は、前記取付方向に沿う他方向きの力を受けて前記取付受部から取外し可能であり、前記車体側部品と前記ハーネス側部品とが取付いた状態で、前記係止爪が前記係止孔に係止可能であり、前記車体側部品と前記ハーネス側部品とが取付き、かつ、前記係止爪が前記係止孔に係止した状態で、前記取付受部と前記取付部とが取外されることによって、前記車体側部品と、前記ハーネス側部品とに分離可能である、クランプである。
【発明の効果】
【0007】
本開示によれば、ワイヤハーネスの交換をしやすくなる。
【図面の簡単な説明】
【0008】
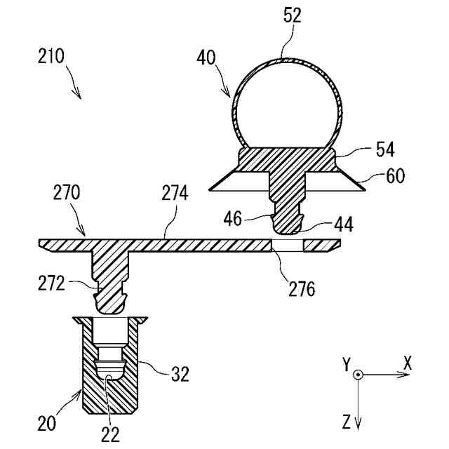
図1は実施形態1にかかるクランプを示す正面図である。
図2は同クランプを示す分解斜視図である。
図3は図1のIII-III線に沿った断面図である。
図4は同クランプを示す分解断面図である。
図5は実施形態2にかかるクランプを示す正面図である。
図6は同クランプを示す断面図である。
図7は実施形態3にかかるクランプを示す正面図である。
図8は同クランプを示す断面図である。
図9は実施形態4にかかるクランプセットを示す断面図である。
【発明を実施するための形態】
【0009】
[本開示の実施形態の説明]
最初に本開示の実施態様を列記して説明する。
【0010】
本開示のクランプは、次の通りである。
(【0011】以降は省略されています)
この特許をJ-PlatPat(特許庁公式サイト)で参照する
関連特許
個人
単極モータ
6日前
株式会社アイシン
ロータ
6日前
株式会社アイシン
ロータ
10日前
日本精機株式会社
サージ保護回路
13日前
西部電機株式会社
充電装置
13日前
西部電機株式会社
充電装置
13日前
トヨタ自動車株式会社
回転子
17日前
トヨタ自動車株式会社
固定子
11日前
トヨタ自動車株式会社
製造装置
11日前
株式会社デンソー
回転機
4日前
個人
連続ガウス加速器形磁力増幅装置
13日前
株式会社アイシン
ステータ
10日前
株式会社ダイヘン
充電装置
10日前
株式会社アイシン
ステータ
10日前
株式会社ダイヘン
充電装置
10日前
株式会社アイシン
ステータ
10日前
カヤバ株式会社
筒型リニアモータ
12日前
株式会社ダイヘン
充電装置
10日前
株式会社アイシン
ステータ
10日前
個人
太陽エネルギー収集システム
11日前
東京瓦斯株式会社
通信装置
12日前
株式会社ミツバ
ブラシレスモータ
12日前
株式会社ダイヘン
充電装置
10日前
株式会社kaisei
発電システム
6日前
ニチコン株式会社
AC入力検出回路
17日前
日産自動車株式会社
ステータ
18日前
トヨタ自動車株式会社
ロータ
19日前
トヨタ自動車株式会社
被膜形成装置
11日前
東京瓦斯株式会社
給電システム
12日前
株式会社デンソー
電力変換装置
5日前
株式会社大林組
可搬式充電設備
18日前
株式会社ミツバ
回転電機
10日前
株式会社ミツバ
回転電機
3日前
ASTI株式会社
電力変換装置
11日前
株式会社デンソー
電力変換装置
17日前
株式会社ダイヘン
電力変換装置
13日前
続きを見る
他の特許を見る