TOP
|
特許
|
意匠
|
商標
特許ウォッチ
Twitter
他の特許を見る
公開番号
2025156853
公報種別
公開特許公報(A)
公開日
2025-10-15
出願番号
2024059575
出願日
2024-04-02
発明の名称
電気接続箱、及び電気接続箱の製造方法
出願人
株式会社オートネットワーク技術研究所
,
住友電装株式会社
,
住友電気工業株式会社
代理人
個人
,
個人
主分類
H02G
3/16 20060101AFI20251007BHJP(電力の発電,変換,配電)
要約
【課題】放熱性及び沿面距離を確保しつつ大型化を抑制可能とした電気接続箱を提供すること。
【解決手段】電気接続箱10は、貫通孔23が設けられた底部21を有する下側ケース20と、下側ケース20に組み付けられる上側ケース30と、下側ケース20及び上側ケース30の内部に収容されるリレー40と、リレー40に接続されるバスバー60と、貫通孔23を塞ぐように底部21上に配置されつつ、上面がバスバー60に接触される絶縁フィルム70と、絶縁フィルム70に接触されつつ貫通孔23を貫通するように設けられ、外部冷却部材90に接触される放熱シート80とを備える。絶縁フィルム70は、絶縁フィルム70の縁部71から貫通孔23の開口端23aまで底部21上に配置されることでバスバー60と外部冷却部材90との間の沿面距離の一部を構成する沿面距離構成部73を有する。
【選択図】図2
特許請求の範囲
【請求項1】
貫通孔が設けられた底部を有する下側ケースと、
前記下側ケースに組み付けられる上側ケースと、
前記下側ケース及び前記上側ケースの内部に収容される電気回路部品と、
前記電気回路部品に接続されるバスバーと、
前記貫通孔を塞ぐように前記底部上に配置されつつ、上面が前記バスバーに接触される絶縁フィルムと、
前記絶縁フィルムに接触されつつ前記貫通孔を貫通するように設けられ、外部冷却部材に接触される放熱シートと、を備え、
前記絶縁フィルムは、前記絶縁フィルムの縁部から前記貫通孔の開口端まで前記底部上に配置されることで前記バスバーと前記外部冷却部材との間の沿面距離の一部を構成する沿面距離構成部を有する、
電気接続箱。
続きを表示(約 650 文字)
【請求項2】
前記バスバーは、前記絶縁フィルムの縁部と面一となるように前記絶縁フィルムと接触されている、
請求項1に記載の電気接続箱。
【請求項3】
前記下側ケースは、前記沿面距離構成部を含む経路を前記バスバーと前記外部冷却部材との間の沿面距離とすべく、前記絶縁フィルムの縁部と対向するように立設される壁部を有する、
請求項1に記載の電気接続箱。
【請求項4】
前記電気回路部品を複数備え、
前記底部において前記電気回路部品同士の間の位置には、固定用孔が設けられ、
前記上側ケースは、前記固定用孔を貫通して前記外部冷却部材に対して固定される固定部を有する、
請求項1に記載の電気接続箱。
【請求項5】
前記電気回路部品を複数備え、
前記絶縁フィルムは、前記電気回路部品の各々に対応した複数の部品対応部を有する、
請求項1に記載の電気接続箱。
【請求項6】
請求項1に記載の電気接続箱の製造方法であって、
前記下側ケースに対して前記絶縁フィルムを固定するフィルム固定工程と、
前記上側ケースに対して前記電気回路部品及び前記バスバーを固定する回路固定工程と、
前記フィルム固定工程及び前記回路固定工程の後、前記バスバーと前記絶縁フィルムとが接触するように、前記下側ケースと前記上側ケースとを組み付けるケース組付工程と、を備えた、
電気接続箱の製造方法。
発明の詳細な説明
【技術分野】
【0001】
本開示は、電気接続箱、及び電気接続箱の製造方法に関するものである。
続きを表示(約 2,000 文字)
【背景技術】
【0002】
従来、電気接続箱としては、樹脂ケースと、樹脂ケースに保持されるリレー等の電気回路部品とを備えたものがある(例えば、特許文献1参照)。この電気回路部品には、バスバーが接続される。そして、バスバーは、絶縁フィルム及び放熱シートを介して車両本体におけるシャーシ等の外部冷却部材に接触されることで、放熱性が良好に確保されている。
【先行技術文献】
【特許文献】
【0003】
特開2014-79093号公報
【発明の概要】
【発明が解決しようとする課題】
【0004】
しかしながら、上記のような電気接続箱では、バスバーと外部冷却部材との間の沿面距離が絶縁フィルム及び放熱シートの厚さと同じであるため、バスバーと外部冷却部材との間の絶縁性を確保できない虞があった。また、例えば、単に絶縁フィルムをバスバーの下面から大きく突出させると、全体が大型化してしまう。
【0005】
本開示の目的は、放熱性及び沿面距離を確保しつつ大型化を抑制可能とした電気接続箱、及び電気接続箱の製造方法を提供することにある。
【課題を解決するための手段】
【0006】
本開示の電気接続箱は、貫通孔が設けられた底部を有する下側ケースと、前記下側ケースに組み付けられる上側ケースと、前記下側ケース及び前記上側ケースの内部に収容される電気回路部品と、前記電気回路部品に接続されるバスバーと、前記貫通孔を塞ぐように前記底部上に配置されつつ、上面が前記バスバーに接触される絶縁フィルムと、前記絶縁フィルムに接触されつつ前記貫通孔を貫通するように設けられ、外部冷却部材に接触される放熱シートと、を備え、前記絶縁フィルムは、前記絶縁フィルムの縁部から前記貫通孔の開口端まで前記底部上に配置されることで前記バスバーと前記外部冷却部材との間の沿面距離の一部を構成する沿面距離構成部を有する。
【発明の効果】
【0007】
本開示の電気接続箱、及び電気接続箱の製造方法によれば、放熱性及び沿面距離を確保しつつ大型化を抑制できる。
【図面の簡単な説明】
【0008】
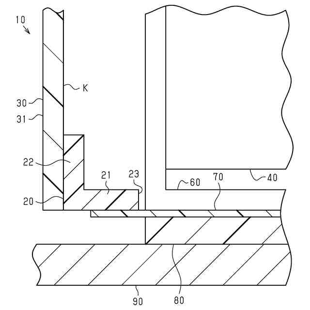
図1は、一実施形態における電気接続箱の模式断面図である。
図2は、一実施形態における電気接続箱の一部拡大模式断面図である。
図3は、一実施形態における電気接続箱の製造方法を説明するための模式断面図である。
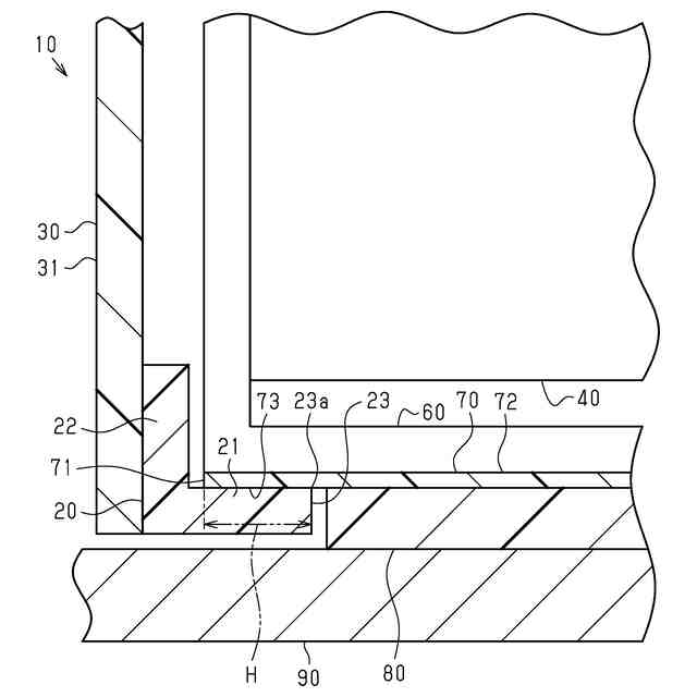
図4は、比較例における電気接続箱の一部拡大模式断面図である。
【発明を実施するための形態】
【0009】
[本開示の実施形態の説明]
最初に本開示の実施態様を列記して説明する。
本開示の電気接続箱は、
[1]貫通孔が設けられた底部を有する下側ケースと、前記下側ケースに組み付けられる上側ケースと、前記下側ケース及び前記上側ケースの内部に収容される電気回路部品と、前記電気回路部品に接続されるバスバーと、前記貫通孔を塞ぐように前記底部上に配置されつつ、上面が前記バスバーに接触される絶縁フィルムと、前記絶縁フィルムに接触されつつ前記貫通孔を貫通するように設けられ、外部冷却部材に接触される放熱シートと、を備え、前記絶縁フィルムは、前記絶縁フィルムの縁部から前記貫通孔の開口端まで前記底部上に配置されることで前記バスバーと前記外部冷却部材との間の沿面距離の一部を構成する沿面距離構成部を有する。
【0010】
同構成によれば、バスバーは、絶縁フィルム及び放熱シートを介して外部冷却部材に接触されるため、放熱性が良好に確保される。また、絶縁フィルムは、絶縁フィルムの縁部から貫通孔の開口端まで下側ケースの底部上に配置されることでバスバーと外部冷却部材との間の沿面距離の一部を構成する沿面距離構成部を有するため、沿面距離を確保しつつ大型化を抑制できる。すなわち、絶縁フィルムは、自身の縁部から貫通孔の開口端までの範囲に沿面距離構成部を有する。よって、例えば、バスバーと外部冷却部材との間に単に絶縁フィルム及び放熱シートが介在されて沿面距離が絶縁フィルム及び放熱シートの厚さと同じである構成に比べて、沿面距離を長く確保することができる。また、例えば、バスバーを貫通孔の下方に露出させつつ絶縁フィルムをバスバーの下面に貼り付ける場合では、沿面距離を確保するために、例えば、バスバーから絶縁フィルムを大きく突出させる必要が生じる。これにより、例えば、下側ケース及び上側ケースの内部に無駄な大きな空間が生じることになるとともに、電気接続箱が大型化してしまうが、これを抑えることができる。
(【0011】以降は省略されています)
この特許をJ-PlatPat(特許庁公式サイト)で参照する
関連特許
個人
電気を重力で発電装置
13日前
キヤノン電子株式会社
モータ
20日前
キヤノン電子株式会社
モータ
12日前
コーセル株式会社
電源装置
21日前
トヨタ自動車株式会社
モータ
12日前
トヨタ自動車株式会社
固定子の加熱装置
23日前
ローム株式会社
モータドライバ回路
7日前
日産自動車株式会社
ロータシャフト
7日前
日産自動車株式会社
ロータシャフト
7日前
トヨタ自動車株式会社
ステータの製造装置
13日前
個人
非対称鏡像力を有する4層PWB電荷搬送体
7日前
トヨタ紡織株式会社
ロータの製造装置
21日前
株式会社明治ゴム化成
ワイヤレス給電用部品
22日前
トヨタ自動車株式会社
可変界磁ロータ
15日前
株式会社アイシン
電力変換装置
12日前
個人
電線盗難防止方法及び電線盗難防止装置
20日前
株式会社マキタ
電動作業機
20日前
ニデック株式会社
回転電機
12日前
株式会社豊田自動織機
電力供給システム
12日前
ルネサスエレクトロニクス株式会社
半導体装置
12日前
豊田合成株式会社
車両用非接触充電装置
12日前
トヨタ自動車株式会社
車両照合システム
20日前
大阪瓦斯株式会社
充放電中継装置
13日前
大阪瓦斯株式会社
充放電中継装置
13日前
株式会社豊田中央研究所
分散電源システム
7日前
個人
電動自動車用同期電動機の変速方法と駆動制御装置
14日前
株式会社日立産機システム
電力変換装置
20日前
パナソニック株式会社
分電盤
12日前
パナソニック株式会社
分電盤
12日前
株式会社日立産機システム
キュービクル
15日前
三菱電機株式会社
保護リレー
21日前
パナソニック株式会社
分電盤
12日前
パナソニック株式会社
分電盤
12日前
株式会社日立産機システム
電力変換装置
14日前
キヤノン株式会社
振動型アクチュエータ及び電子機器
12日前
ローム株式会社
電源制御装置
7日前
続きを見る
他の特許を見る