TOP
|
特許
|
意匠
|
商標
特許ウォッチ
Twitter
他の特許を見る
公開番号
2025167318
公報種別
公開特許公報(A)
公開日
2025-11-07
出願番号
2024071813
出願日
2024-04-25
発明の名称
振動型アクチュエータ及び電子機器
出願人
キヤノン株式会社
代理人
個人
主分類
H02N
2/04 20060101AFI20251030BHJP(電力の発電,変換,配電)
要約
【課題】推力向上と小型の維持とが両立される振動型アクチュエータを提供する。
【解決手段】振動型アクチュエータ1は、圧電素子7と、圧電素子7の上方に配置され、上面に突起部6bを有する弾性体6と、を有する振動体2と、突起部6bと加圧力により加圧接触する接触体3と、複数の柱状部4bを有し、振動体2を支持する支持部材4と、を備え、振動体2は、弾性体3の下方に、柱状部と4b接触可能な延出部8bを持つ板状部材8を有する。
【選択図】 図2
特許請求の範囲
【請求項1】
電気機械エネルギー変換素子と、
前記電気機械エネルギー変換素子の上方に配置され、上面に突起部を有する弾性体と、
を有する振動体と、
前記突起部と加圧力により加圧接触する接触体と、
複数の柱状部を有し、前記振動体を支持する支持部材と、
を備え、
前記振動体は、前記弾性体の下方に、前記柱状部と接触可能な延出部を持つ板状部材を有する、
振動型アクチュエータ。
続きを表示(約 820 文字)
【請求項2】
前記板状部材は、前記電気機械エネルギー変換素子と前記弾性体との間に配置される、
請求項1に記載の振動型アクチュエータ。
【請求項3】
前記板状部材は、前記電気機械エネルギー変換素子の下方に配置される、
請求項1に記載の振動型アクチュエータ。
【請求項4】
2つの前記板状部材を有しており、
前記2つの前記板状部材は、所定の間隔をおいて並列して配置される、
請求項3に記載の振動型アクチュエータ。
【請求項5】
前記振動体の厚み方向において、前記柱状部の上面と前記接触体の前記突起部との接触面との間に所定の間隔が保たれる、
請求項1に記載の振動型アクチュエータ。
【請求項6】
前記振動体の厚み方向において、前記板状部材の上面と前記接触体の前記突起部との接触面との間隔は、前記柱状部の上面と前記接触面との間隔よりも大きい、
請求項1に記載の振動型アクチュエータ。
【請求項7】
平面視において、前記板状部材の前記延出部が設けられた端部が前記弾性体の端部から突出している、
請求項1に記載の振動型アクチュエータ。
【請求項8】
平面視において、前記板状部材の前記延出部が設けられた端部が前記電気機械エネルギー変換素子の端部から突出している、
請求項1に記載の振動型アクチュエータ。
【請求項9】
前記振動体は、前記支持部材に遊嵌状態で保持される、
請求項1に記載の振動型アクチュエータ。
【請求項10】
前記振動体が前記支持部材に載置された際に、前記延出部と前記柱状部との間に隙間が形成されて前記延出部と前記柱状部とが非接触状態となる、
請求項9に記載の振動型アクチュエータ。
(【請求項11】以降は省略されています)
発明の詳細な説明
【技術分野】
【0001】
本開示は、振動型アクチュエータ及び電子機器に関するものである。
続きを表示(約 1,400 文字)
【背景技術】
【0002】
従来、例えば特許文献1において、矩形の振動体の表面に突起部が形成され、振動体が接触体との加圧接触状態を保持する支持部材を備える形態の振動型アクチュエータが開示されている。
【0003】
特許文献1に記載の振動型アクチュエータでは、振動体を構成する矩形の弾性体に設けられている延出部が、柱状の突起を備えた支持部材により支持される。この振動体については、一般にはそのサイズを大きくすることで振動型アクチュエータの出力を増加させることが可能であるが、全体のサイズの増大化を招くことが欠点となる。そのため、弾性体に形成される突起部の高さにより、振動型アクチュエータの性能が調整される。突起部の高さを低くすることにより、最大速度は低下する一方で高推力を得易くなる。
【先行技術文献】
【特許文献】
【0004】
特開2019-198658号公報
【発明の概要】
【発明が解決しようとする課題】
【0005】
しかしながら、特許文献1の構成において、高推力化のために弾性体に形成される突起部の高さを低くした場合、接触体と支持部材の柱状部とが干渉する虞があるため、この突起部の高さを低くすることに制約が生じる。
【0006】
本開示は、上記の課題に鑑みてなされたものであり、小型化と高推力化とを両立する振動型アクチュエータを提供することを目的とする。
【課題を解決するための手段】
【0007】
本開示の振動型アクチュエータは、電気機械エネルギー変換素子と、前記電気機械エネルギー変換素子の上方に配置され、上面に突起部を有する弾性体と、を有する振動体と、前記突起部と加圧力により加圧接触する接触体と、複数の柱状部を有し、前記振動体を支持する支持部材と、を備え、前記振動体は、前記弾性体の下方に、前記柱状部と接触可能な延出部を持つ板状部材を有する。
【発明の効果】
【0008】
本開示によれば、小型化と高推力化とを両立する振動型アクチュエータを実現することができる。
【図面の簡単な説明】
【0009】
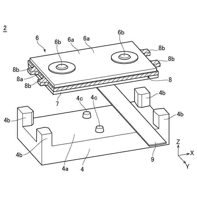
第1実施形態に係る振動型アクチュエータの概略構成を示す斜視図である。
図1に示した振動体及び支持部材を分解して示す斜視図である。
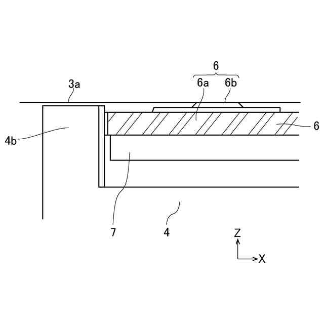
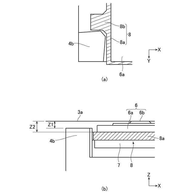
振動体、支持部材の柱状部、及び接触体の関係を表す部分拡大図である。
第2の実施形態の振動型アクチュエータにおける振動体及び支持部材を示す分解斜視図である。
振動体、柱状部、及び接触体の関係を表す部分拡大図である。
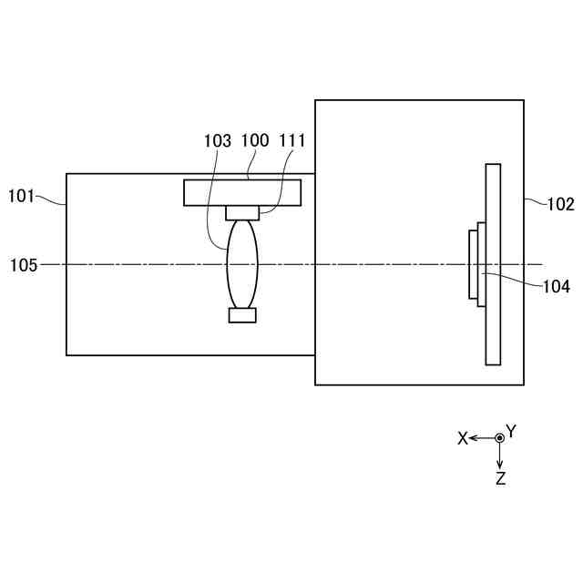
第3の実施形態による、第1または第2の実施形態の振動型アクチュエータを適用した撮像装置の構成を示す模式図である。
比較例による振動型アクチュエータの主要部品を示す斜視図である。
比較例における振動体と支持部材との関係を示す部分拡大図である。
【発明を実施するための形態】
【0010】
-諸実施形態における振動型アクチュエータの基本的構成-
具体的に諸実施形態を開示するにあたり、本開示における振動型アクチュエータの基本的構成について説明する。
(【0011】以降は省略されています)
この特許をJ-PlatPat(特許庁公式サイト)で参照する
関連特許
キヤノン株式会社
撮像装置
3日前
キヤノン株式会社
表示装置
3日前
キヤノン株式会社
撮像装置
3日前
キヤノン株式会社
撮像装置
10日前
キヤノン株式会社
表示装置
10日前
キヤノン株式会社
表示装置
10日前
キヤノン株式会社
撮像装置
3日前
キヤノン株式会社
撮像装置
3日前
キヤノン株式会社
記録装置
4日前
キヤノン株式会社
記録装置
4日前
キヤノン株式会社
電子機器
3日前
キヤノン株式会社
撮像装置
3日前
キヤノン株式会社
二次電池
5日前
キヤノン株式会社
撮像装置
10日前
キヤノン株式会社
表示装置
10日前
キヤノン株式会社
発光装置
10日前
キヤノン株式会社
インク容器
4日前
キヤノン株式会社
映像表示装置
4日前
キヤノン株式会社
検査システム
10日前
キヤノン株式会社
画像記録装置
5日前
キヤノン株式会社
画像形成装置
5日前
キヤノン株式会社
画像形成装置
10日前
キヤノン株式会社
画像形成装置
3日前
キヤノン株式会社
二成分現像剤
10日前
キヤノン株式会社
画像形成装置
11日前
キヤノン株式会社
情報処理装置
3日前
キヤノン株式会社
画像形成装置
3日前
キヤノン株式会社
インク補充用パウチ
10日前
キヤノン株式会社
発光装置及び測距装置
10日前
キヤノン株式会社
測距装置及び測距方法
3日前
キヤノン株式会社
発光装置及び測距装置
10日前
キヤノン株式会社
レンズ装置及び撮像装置
4日前
キヤノン株式会社
表示光学系および表示装置
3日前
キヤノン株式会社
ズームレンズ及び撮像装置
5日前
キヤノン株式会社
ズームレンズ及び撮像装置
10日前
キヤノン株式会社
レンズ装置および撮像装置
4日前
続きを見る
他の特許を見る