TOP
|
特許
|
意匠
|
商標
特許ウォッチ
Twitter
他の特許を見る
10個以上の画像は省略されています。
公開番号
2025176339
公報種別
公開特許公報(A)
公開日
2025-12-04
出願番号
2024082416
出願日
2024-05-21
発明の名称
レンズ装置及び撮像装置
出願人
キヤノン株式会社
代理人
個人
,
個人
,
個人
,
個人
主分類
G02B
7/04 20210101AFI20251127BHJP(光学)
要約
【課題】駆動効率を落とすことなく小型ながら十分な強度が確保されたレンズ装置を提供する。
【解決手段】レンズ鏡筒1は、ベース601と、レンズ401を保持し光軸方向ODに移動可能にベースによって保持される鏡筒ユニット404と、鏡筒ユニットを駆動する駆動機構800と、を備える。駆動機構は、鏡筒ユニットに固定されたコイル424aと、ベースに保持された駆動機構部801と、を有する。ベースは、鏡筒ユニットを挿入する開口部601sが設けられている。光軸方向に関して開口部の側から見たときに、ベースの一部分が駆動機構部より手前に配置されるようにベースの一部分と駆動機構部の一部分とが重なる。
【選択図】図4
特許請求の範囲
【請求項1】
保持筒と、
レンズを保持し光軸方向に移動可能に前記保持筒によって保持される移動部材と、
前記移動部材を駆動する駆動機構と、
を備え、
前記駆動機構は、
前記移動部材に固定されたコイルと、
前記保持筒に保持された磁性体部と、
を有し、
前記保持筒は、前記移動部材を挿入する開口部が設けられており、
前記光軸方向に関して前記開口部の側から見たときに、前記保持筒の一部分が前記磁性体部より手前に配置されるように前記保持筒の前記一部分と前記磁性体部の一部分とが重なることを特徴とするレンズ装置。
続きを表示(約 1,400 文字)
【請求項2】
前記磁性体部は、
前記コイルの内側に前記コイルの内周部から離間して配置される第一の磁性体部と、
前記コイルの外周部に対向し前記コイルの前記外周部から離間して配置される複数の磁石と、
前記複数の磁石をそれぞれ保持する複数の第二の磁性体部と、
前記光軸方向に関して前記第一の磁性体部の一方の側に配置され前記第一の磁性体部と前記複数の第二の磁性体部とを磁気的に接合する第三の磁性体部と、
前記光軸方向に関して前記第一の磁性体部の他方の側に配置され前記第一の磁性体部と前記複数の第二の磁性体部とを磁気的に接合する第四の磁性体部と、
を有し、
前記第三の磁性体部は、前記光軸方向に関して前記第一の磁性体部の前記一方の側で前記保持筒と前記光軸方向に当接して配置され、
前記光軸方向に関して前記第一の磁性体部の前記他方の側から見たときに、前記保持筒の一部分が前記複数の第二の磁性体部より手前に配置されるように前記保持筒の前記一部分と前記複数の第二の磁性体部とが重なることを特徴とする請求項1に記載のレンズ装置。
【請求項3】
前記保持筒は、前記複数の第二の磁性体部が見えるように前記保持筒の外周部に穴部が設けられていることを特徴とする請求項2に記載のレンズ装置。
【請求項4】
前記穴部は、前記複数の磁石及び前記複数の第二の磁性体部のそれぞれを通すことができる大きさを有することを特徴とする請求項3に記載のレンズ装置。
【請求項5】
前記保持筒の外側から前記穴部を前記光軸方向に直交する方向に見たときに、前記保持筒の一部分が前記第四の磁性体部より手前に配置されるように前記保持筒の前記一部分と前記第四の磁性体部とが重なることを特徴とする請求項3に記載のレンズ装置。
【請求項6】
前記保持筒は、前記光軸方向における前記複数の第二の磁性体部の位置をそれぞれ規制する複数の第一の規制部を有することを特徴とする請求項2に記載のレンズ装置。
【請求項7】
前記保持筒は、前記光軸方向に直交する方向における前記複数の第二の磁性体部の位置をそれぞれ規制する複数の第二の規制部を有することを特徴とする請求項2に記載のレンズ装置。
【請求項8】
前記第一の磁性体部の一方の端部は、前記保持筒によって保持され、
前記レンズ装置は、前記第一の磁性体部の他方の端部を保持する保持部材を更に有し、
前記保持部材を前記保持筒に固定する固定部は、前記光軸方向に関して前記第一の磁性体部の前記他方の側から見たときに、前記固定部が前記第二の磁性体部より手前に配置されるように前記固定部と前記第二の磁性体部とが重なることを特徴とする請求項2に記載のレンズ装置。
【請求項9】
前記複数の第二の磁性体部は、前記保持筒、前記第三の磁性体部及び前記第四の磁性体部の少なくとも一つと接着剤により固定されていることを特徴とする請求項2に記載のレンズ装置。
【請求項10】
前記第三の磁性体部は、前記第一の磁性体部が配置される側から固定部材により前記保持筒に固定されることを特徴とする請求項2に記載のレンズ装置。
(【請求項11】以降は省略されています)
発明の詳細な説明
【技術分野】
【0001】
本発明は、レンズを保持し移動可能な移動部材を有するレンズ装置及び撮像装置に関する。
続きを表示(約 2,100 文字)
【背景技術】
【0002】
ビデオカメラやデジタルカメラ等の撮像装置(光学機器)に用いられるレンズ装置において、レンズ及びレンズを保持する鏡筒を光軸方向に駆動する駆動機構が用いられる。レンズ装置は、大きなレンズを用いることで光学性能の向上が可能になる。従来よりも大きなレンズを動かすために、例えば、マグネットとコイルを用いて駆動力を発生する駆動機構が提案されている。特許文献1は、レンズ装置の内部でレンズを保持する鏡筒の外周部上に設けられた駆動機構を開示している。特許文献1には、コイルの中心をマグネットの中心よりも外側にオフセットすることで、レンズ装置を大型化することなくより大きな駆動機構をレンズ装置の内部に収めることが開示されている。
【先行技術文献】
【特許文献】
【0003】
特開2020-64284号公報
国際公開第2023/048001号
【発明の概要】
【発明が解決しようとする課題】
【0004】
しかし、特許文献1に開示された駆動機構では、コイルの両側に配置されたマグネットの中心を結ぶ線がコイルの中心からずれているので、駆動機構の効率が低下する。駆動機構の効率を低下させないように駆動機構をレンズ装置に取り付けるためには、特許文献2に示すように、駆動機構を保持する保持筒に大きな開口を設ける必要がある。しかし、保持筒に大きな開口を設けると、保持筒の強度が十分に確保できず、組立時に、温度環境の変化時に、又は衝撃を受けた時に、レンズの倒れが発生し、光学性能が低下する可能性がある。そこで、保持筒の強度を確保するために保持筒の外径を大きくする必要があり、レンズ装置が大型化する。
【0005】
本発明は、駆動効率を落とすことなく、小型ながら十分な強度が確保されたレンズ装置を提供する。
【課題を解決するための手段】
【0006】
本発明の一態様によるレンズ装置は、保持筒と、レンズを保持し光軸方向に移動可能に前記保持筒によって保持される移動部材と、前記移動部材を駆動する駆動機構と、を備え、前記駆動機構は、前記移動部材に固定されたコイルと、前記保持筒に保持された磁性体部と、を有し、前記保持筒は、前記移動部材を挿入する開口部が設けられており、前記光軸方向に関して前記開口部の側から見たときに、前記保持筒の一部分が前記磁性体部より手前に配置されるように前記保持筒の前記一部分と前記磁性体部の一部分とが重なることを特徴とする。
【0007】
本発明の別の態様によるレンズ装置は、保持筒と、レンズを保持し光軸方向に移動可能に前記保持筒によって保持される移動部材と、前記移動部材に固定されたコイルと、前記コイルの内側に前記コイルの内周部から離間して配置される第一の磁性体部と、前記コイルの外周部に対向し前記コイルの前記外周部から離間して配置される複数の磁石と、前記複数の磁石をそれぞれ保持する複数の第二の磁性体部と、前記光軸方向に関して前記第一の磁性体部の一方の側に配置され前記第一の磁性体部と前記複数の第二の磁性体部とを磁気的に接合する第三の磁性体部と、前記光軸方向に関して前記第一の磁性体部の他方の側に配置され前記第一の磁性体部と前記複数の第二の磁性体部とを磁気的に接合する第四の磁性体部と、を有し、前記移動部材は、前記光軸方向に関して前記コイルの一方の側に配置され前記コイルの一方の端部を覆う第一の覆い部と、前記光軸方向に関して前記コイルの他方の側に配置され前記コイルの他方の端部を覆う第二の覆い部と、を有することを特徴とする。
【発明の効果】
【0008】
本発明によれば、駆動効率を落とすことなく、小型ながら十分な強度が確保されたレンズ装置を提供することができる。
【図面の簡単な説明】
【0009】
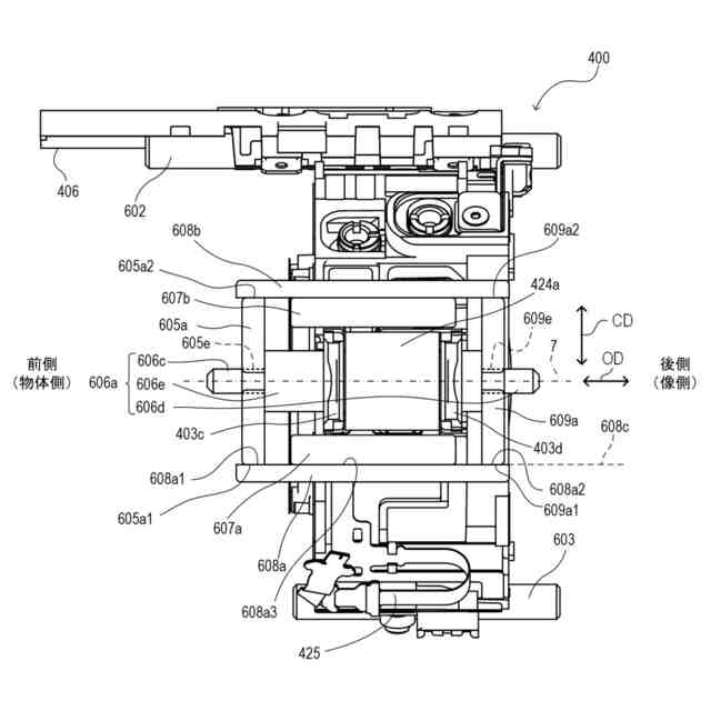
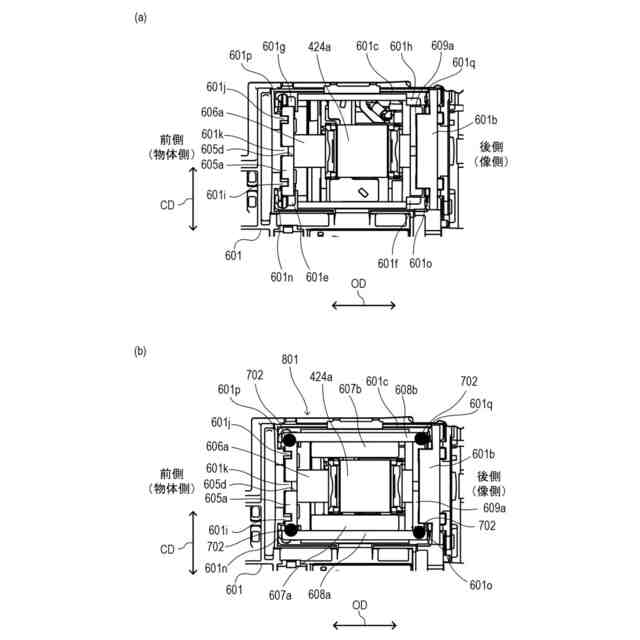
実施例1の撮像装置の断面図。
実施例1の第四群ユニットの斜視図。
実施例1の第四群ユニットの平面図。
実施例1の駆動機構部を保持するベースの斜視図。
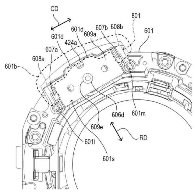
実施例1の駆動機構部の説明図。
実施例1の駆動機構部が組み込まれたベースを後側から見た図。
実施例1の駆動機構部とつなぎ部の関係を示す模式図。
実施例1のバックヨーク、前側ベースヨーク及び後側ベースヨークの当接位置の関係を説明する模式図。
実施例1のコイルと鏡筒ベースの保持の関係を示す断面図。
実施例2の駆動機構部の斜視図。
実施例3の駆動機構部とつなぎ部の関係を示す模式図。
実施例4の駆動機構部とつなぎ部の関係を示す模式図。
実施例5の駆動機構部とつなぎ部の関係を示す模式図。
【発明を実施するための形態】
【0010】
以下に、本発明の好ましい実施の形態を、添付の図面に基づいて詳細に説明する。
【実施例】
(【0011】以降は省略されています)
特許ウォッチbot のツイートを見る
この特許をJ-PlatPat(特許庁公式サイト)で参照する
関連特許
キヤノン株式会社
容器
1か月前
キヤノン株式会社
容器
1か月前
キヤノン株式会社
トナー
28日前
キヤノン株式会社
トナー
1か月前
キヤノン株式会社
記録装置
28日前
キヤノン株式会社
現像装置
1か月前
キヤノン株式会社
撮像装置
今日
キヤノン株式会社
撮像装置
今日
キヤノン株式会社
撮像装置
今日
キヤノン株式会社
撮像装置
1か月前
キヤノン株式会社
記録装置
1日前
キヤノン株式会社
撮像装置
28日前
キヤノン株式会社
記録装置
1日前
キヤノン株式会社
定着装置
21日前
キヤノン株式会社
雲台装置
28日前
キヤノン株式会社
記録装置
21日前
キヤノン株式会社
撮像装置
1か月前
キヤノン株式会社
二次電池
2日前
キヤノン株式会社
測距装置
1か月前
キヤノン株式会社
記録装置
1か月前
キヤノン株式会社
撮像装置
1か月前
キヤノン株式会社
電子機器
28日前
キヤノン株式会社
記録装置
28日前
キヤノン株式会社
定着装置
21日前
キヤノン株式会社
表示装置
1か月前
キヤノン株式会社
表示装置
7日前
キヤノン株式会社
撮像装置
7日前
キヤノン株式会社
撮像装置
9日前
キヤノン株式会社
電子機器
23日前
キヤノン株式会社
撮像装置
7日前
キヤノン株式会社
表示装置
7日前
キヤノン株式会社
表示装置
7日前
キヤノン株式会社
定着装置
21日前
キヤノン株式会社
発光装置
7日前
キヤノン株式会社
電子機器
28日前
キヤノン株式会社
定着装置
15日前
続きを見る
他の特許を見る