TOP
|
特許
|
意匠
|
商標
特許ウォッチ
Twitter
他の特許を見る
公開番号
2025176619
公報種別
公開特許公報(A)
公開日
2025-12-04
出願番号
2024082898
出願日
2024-05-21
発明の名称
レンズ装置および撮像装置
出願人
キヤノン株式会社
代理人
個人
,
個人
,
個人
,
個人
,
個人
主分類
G02B
7/02 20210101AFI20251127BHJP(光学)
要約
【課題】 本発明は、ティルト効果またはシフト効果を有するレンズ装置において、操作性を向上させることを目的とする。
【解決手段】 本発明のレンズ装置は、複数の光学素子を有し、被写体像を撮像素子へ結像する光学系と、複数の光学素子のうち、少なくとも1つの光学素子であって、光学系の光軸に直交する方向に移動することで、撮像素子の撮像面に対してピント面を傾けるティルト光学素子と、複数の光学素子のうち、少なくとも1つの光学素子であって、光学系の光軸に沿った方向に移動することで撮像素子に合焦するフォーカス光学素子と、光軸を中心に回転することでティルト光学素子の移動を操作するティルト操作環と、光軸を中心に回転することでフォーカス光学素子の移動を操作するフォーカス操作環とを有し、ティルト操作環とフォーカス操作環が光軸に沿った方向に並んで配置されていることを特徴とする。
【選択図】 図1
特許請求の範囲
【請求項1】
複数の光学素子を有し、被写体像を撮像素子へ結像する光学系と、
前記複数の光学素子のうち、少なくとも1つの光学素子であって、前記光学系の光軸に直交する方向に移動することで、前記撮像素子の撮像面に対してピント面を傾けるティルト光学素子と、
前記複数の光学素子のうち、少なくとも1つの光学素子であって、前記光学系の光軸に沿った方向に移動することで前記撮像素子に合焦するフォーカス光学素子と、
前記光軸を中心に回転することで前記ティルト光学素子の移動を操作するティルト操作環と、
前記光軸を中心に回転することで前記フォーカス光学素子の移動を操作するフォーカス操作環とを有し、
前記ティルト操作環と前記フォーカス操作環が前記光軸に沿った方向に並んで配置されていることを特徴とするレンズ装置。
続きを表示(約 760 文字)
【請求項2】
前記ティルト光学素子は、前記光軸に直交する一方向に偏芯するように移動することを特徴とする請求項1に記載のレンズ装置。
【請求項3】
前記ティルト操作環と前記フォーカス操作環よりも前記光軸に沿った方向において像面側に三脚座が配置されていることを特徴とする請求項1に記載のレンズ装置。
【請求項4】
前記複数の光学素子を保持する鏡筒の一部を前記光軸を中心に回転させるレボルビング機構を有し、
前記レボルビング機構は前記三脚座よりも前記光軸に沿った方向において像面側に配置されていることを特徴とする請求項3に記載のレンズ装置。
【請求項5】
前記複数の光学素子を保持する鏡筒の一部を前記光軸に直交する方向に移動させるシフト機構を有し、
前記シフト機構は前記三脚座よりも前記光軸に沿った方向において像面側に配置されていることを特徴とする請求項3に記載のレンズ装置。
【請求項6】
前記ティルト操作環と前記フォーカス操作環は前記光軸に沿った方向に隣接して配置されていることを特徴とする請求項1に記載のレンズ装置。
【請求項7】
前記ティルト操作環は前記フォーカス操作環よりも前記光軸に沿った方向において像面側に配置されていることを特徴とする請求項1に記載のレンズ装置。
【請求項8】
前記光軸を中心に回転することで前記レンズ装置の焦点距離を変更可能なズーム操作環を有することを特徴とする請求項1に記載のレンズ装置。
【請求項9】
請求項1から8のいずれか1項に記載のレンズ装置と、
前記レンズ装置を介して被写体を撮像する撮像素子を有することを特徴とする撮像装置。
発明の詳細な説明
【技術分野】
【0001】
本明細書の開示は、レンズ装置および撮像装置に関する。
続きを表示(約 1,300 文字)
【背景技術】
【0002】
近年、一眼レフカメラ等の撮像装置においては、さまざまな用途に応じた撮像が求められている。その一つに、撮像光学系の光軸に対して傾いた物体面に対して全面的にピントを合わせるように被写体面を傾けるティルト効果を有する光学系が要望されている。
【0003】
特許文献1では、撮影光学系を支持する鏡筒の一部を光軸に対して倒す、もしくは偏芯する鏡筒変形により、被写体面を光軸に対して傾けるティルト効果や構図をシフトさせるシフト効果を得るレンズ装置が提案されている。
【0004】
特許文献2では、撮像光学系の一部のレンズ群を光軸の直交方向に駆動させることで、ティルト効果とシフト効果を得る光学系が提案されている。
【先行技術文献】
【特許文献】
【0005】
特開2019-8061号公報
特開2019-90952号公報
【発明の概要】
【発明が解決しようとする課題】
【0006】
特許文献2のようなレンズ群を光軸の直交方向に駆動させることでティルト効果またはシフト効果を得る光学系を有するレンズ装置、および撮像装置において、操作性の向上が望まれている。
【課題を解決するための手段】
【0007】
本発明の実施形態に係るレンズ装置は、複数の光学素子を有し、被写体像を撮像素子へ結像する光学系と、前記複数の光学素子のうち、少なくとも1つの光学素子であって、前記光学系の光軸に直交する方向に移動することで、前記撮像素子の撮像面に対してピント面を傾けるティルト光学素子と、前記複数の光学素子のうち、少なくとも1つの光学素子であって、前記光学系の光軸に沿った方向に移動することで前記撮像素子に合焦するフォーカス光学素子と、前記光軸を中心に回転することで前記ティルト光学素子の移動を操作するティルト操作環と、前記光軸を中心に回転することで前記フォーカス光学素子の移動を操作するフォーカス操作環とを有し、前記ティルト操作環と前記フォーカス操作環が前記光軸に沿った方向に並んで配置されていることを特徴とするレンズ装置。
【発明の効果】
【0008】
ティルト効果またはシフト効果を得る光学系を有するレンズ装置、および撮像装置において、操作性を向上させることができる。
【図面の簡単な説明】
【0009】
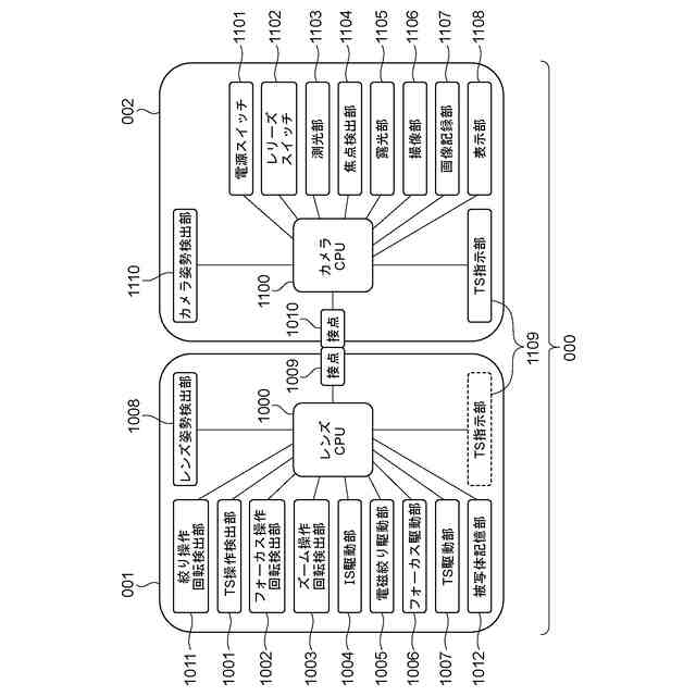
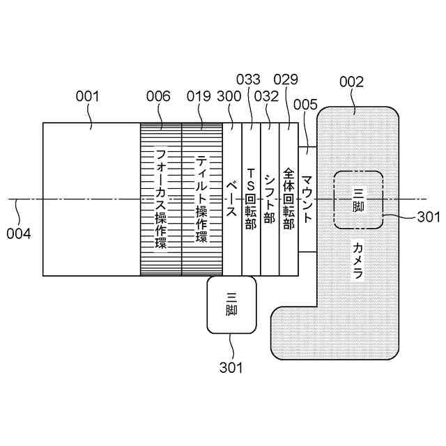
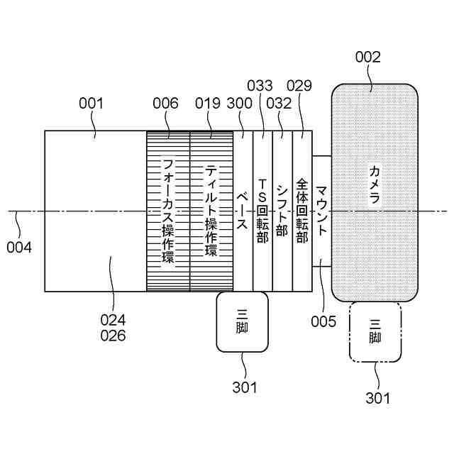
カメラシステムを構成するレンズ装置及びカメラ本体を表す図。
レンズ装置及びカメラ本体を含むカメラシステムの電気的構成図。
シャインプルーフの原理を示す図。
レンズ装置およびカメラ本体を示す模式図。
撮影準備の手順を示したフローチャート。
シフト時のレンズ装置およびカメラ本体を示す模式図。
レボルビング時のレンズ装置およびカメラ本体を示す模式図。
【発明を実施するための形態】
【0010】
以下、本発明の例示的な実施形態を、図面に基づいて詳細に説明する。なお、各図において、同一の部材については同一の参照番号を付し、重複する説明は省略する。
(【0011】以降は省略されています)
この特許をJ-PlatPat(特許庁公式サイト)で参照する
関連特許
キヤノン株式会社
容器
1か月前
キヤノン株式会社
容器
1か月前
キヤノン株式会社
トナー
1か月前
キヤノン株式会社
トナー
28日前
キヤノン株式会社
撮像装置
7日前
キヤノン株式会社
撮像装置
今日
キヤノン株式会社
表示装置
7日前
キヤノン株式会社
撮像装置
7日前
キヤノン株式会社
二次電池
2日前
キヤノン株式会社
表示装置
1か月前
キヤノン株式会社
定着装置
21日前
キヤノン株式会社
雲台装置
28日前
キヤノン株式会社
撮像装置
28日前
キヤノン株式会社
現像装置
1か月前
キヤノン株式会社
定着装置
21日前
キヤノン株式会社
電子機器
23日前
キヤノン株式会社
記録装置
21日前
キヤノン株式会社
表示装置
今日
キヤノン株式会社
発光装置
7日前
キヤノン株式会社
撮像装置
今日
キヤノン株式会社
撮像装置
今日
キヤノン株式会社
撮像装置
今日
キヤノン株式会社
撮像装置
23日前
キヤノン株式会社
記録装置
1日前
キヤノン株式会社
定着装置
21日前
キヤノン株式会社
撮像装置
1か月前
キヤノン株式会社
記録装置
1日前
キヤノン株式会社
撮像装置
1か月前
キヤノン株式会社
撮像装置
1か月前
キヤノン株式会社
記録装置
1か月前
キヤノン株式会社
表示装置
7日前
キヤノン株式会社
撮像装置
今日
キヤノン株式会社
表示装置
7日前
キヤノン株式会社
記録装置
28日前
キヤノン株式会社
現像容器
1か月前
キヤノン株式会社
測距装置
1か月前
続きを見る
他の特許を見る