TOP
|
特許
|
意匠
|
商標
特許ウォッチ
Twitter
他の特許を見る
公開番号
2025156812
公報種別
公開特許公報(A)
公開日
2025-10-15
出願番号
2024059505
出願日
2024-04-02
発明の名称
端子金具、実装基板及び基板装置
出願人
株式会社オートネットワーク技術研究所
,
住友電装株式会社
,
住友電気工業株式会社
代理人
弁理士法人グランダム特許事務所
主分類
H01R
12/58 20110101AFI20251007BHJP(基本的電気素子)
要約
【課題】端子金具を半田によって回路基板に固定する前の状態において、端子金具を単独で回路基板に仮保持できるようにする。
【解決手段】第2回路基板50と対向するように配置される第1回路基板11に取り付けられる端子金具20であって、第2回路基板50に設けた雌形端子54に接続される端子接続部21と、第1回路基板11のスルーホール13に挿入された状態で半田Sによって固着される基板接続部25と、第1回路基板11と対向するように形成された突起部33,39とを有し、突起部33,39が第1回路基板11に当接することによって、第1回路基板11に対する端子接続部21の傾きが規制されるとともに、スルーホール13に対する基板接続部25の挿入深さが一定深さに規制される。
【選択図】図1
特許請求の範囲
【請求項1】
第2回路基板と対向するように配置される第1回路基板に取り付けられる端子金具であって、
前記第2回路基板に設けた相手側端子に接続される端子接続部と、
前記第1回路基板のスルーホールに挿入された状態で半田によって固着される基板接続部と、
前記第1回路基板と対向するように形成された突起部とを有し、
前記突起部が前記第1回路基板に当接することによって、前記第1回路基板に対する前記端子接続部の傾きが規制されるとともに、前記スルーホールに対する前記基板接続部の挿入深さが一定深さに規制される端子金具。
続きを表示(約 750 文字)
【請求項2】
前記基板接続部は、互いに離隔した一対の前記スルーホールに個別に挿入される一対の挿入部を有している請求項1に記載の端子金具。
【請求項3】
前記突起部が前記一対の挿入部の両方に形成されている請求項2に記載の端子金具。
【請求項4】
前記一対の挿入部は、
互いに平行をなす一対の板状をなす挿入基部と、
少なくとも一方の前記挿入基部から延出した部位を、他方の前記挿入部側へ折り返して前記少なくとも一方の挿入基部に重ねた形態の板状の折返部と、を有し、
前記突起部は、前記少なくとも一方の挿入基部から前記折返部とは反対側へ突出している請求項2又は請求項3に記載の端子金具。
【請求項5】
前記端子接続部は、密着折り返し状をなす一対の平板部を有し、
前記一対の挿入部は、一方の前記平板部から延出した第1挿入部と、他方の前記平板部から延出した第2挿入部とを含み、
前記第1挿入部は、前記一方の平板部に対して面一状に連なる平板形状をなし、
前記第2挿入部は、前記第1挿入部から離隔するように屈曲した形状をなしている請求項2又は請求項3に記載の端子金具。
【請求項6】
前記突起部は、前記第1挿入部の一部を叩き出した形態の第1突起部と、前記第2挿入部から片持ち状に延出した形態の第2突起部とを含む請求項5に記載の端子金具。
【請求項7】
第2回路基板と対向するように配置される第1回路基板と、
請求項1に記載の前記端子金具と、を備えている実装基板。
【請求項8】
第2回路基板と、
請求項7に記載の前記実装基板と、を備えている基板装置。
発明の詳細な説明
【技術分野】
【0001】
本開示は、端子金具、実装基板及び基板装置に関するものである。
続きを表示(約 1,300 文字)
【背景技術】
【0002】
特許文献1には、基板に対して基板用端子を半田付けで取り付けた端子付き基板が開示されている。基板用端子は第1カバー部材に取り付けられている。半田付けする前の状態では、第1カバー部材の突出部を基板に当接させることによって、基板用端子を基板に対して自立するようになっている。
【先行技術文献】
【特許文献】
【0003】
特開2016-100215号公報
【発明の概要】
【発明が解決しようとする課題】
【0004】
特許文献1のものは、半田付けの前に基板用端子を基板に自立させる手段として、第1カバー部材を用いている。第1カバー部材は、基板の実装面を覆うように配置されるため、第1カバー部材の投影面積の分だけ、基板の実装面における有効面積が小さくなる。
【0005】
第1の開示の端子金具及び第2の開示の基板用コネクタは、上記のような事情に基づいて完成されたものであって、端子金具を半田によって回路基板に固定する前の状態において、端子金具を単独で回路基板に仮保持できるようにすることを目的とする。
【課題を解決するための手段】
【0006】
第1の開示の端子金具は、
第2回路基板と対向するように配置される第1回路基板に取り付けられる端子金具であって、
前記第2回路基板に設けた相手側端子に接続される端子接続部と、
前記第1回路基板のスルーホールに挿入された状態で半田によって固着される基板接続部と、
前記第1回路基板と対向するように形成された突起部とを有し、
前記突起部が前記第1回路基板に当接することによって、前記第1回路基板に対する前記端子接続部の傾きが規制されるとともに、前記スルーホールに対する前記基板接続部の挿入深さが一定深さに規制される。
【0007】
第2の開示の実装基板は、
第2回路基板と対向するように配置される第1回路基板と、
第1の開示に記載の前記端子金具と、を備えている。
【0008】
第3の開示の基板装置は、
第2回路基板と、
第2の開示に記載の前記実装基板と、を備えている。
【発明の効果】
【0009】
第1~第3の開示によれば、端子金具を半田によって第1回路基板に固定する前の状態において、端子金具を単独で第1回路基板に仮保持することができる。
【図面の簡単な説明】
【0010】
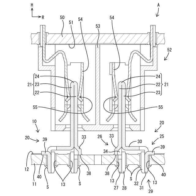
図1は、実施例1の基板装置の断面図である。
図2は、第1回路基板の平面図である。
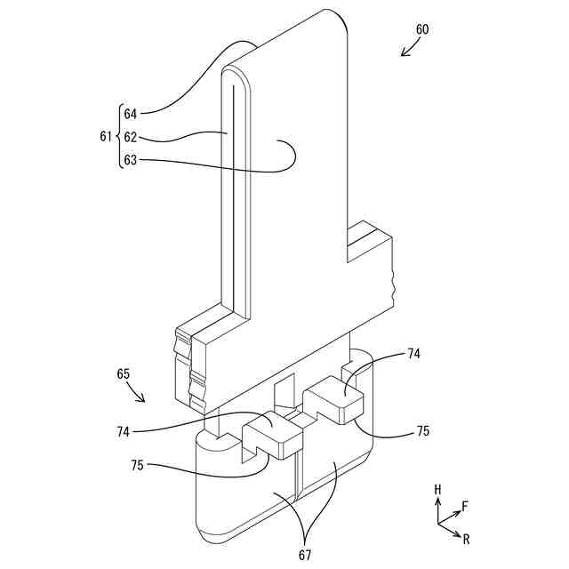
図3は、端子金具を斜め右後方から視た斜視図である。
図4は、端子金具を斜め左後方から視た斜視図である。
図5は、実施例2の端子金具を斜め右後方から視た斜視図である。
図6は、実施例2の端子金具を斜め右後方から視た斜視図である。
【発明を実施するための形態】
(【0011】以降は省略されています)
この特許をJ-PlatPat(特許庁公式サイト)で参照する
関連特許
個人
フレキシブル電気化学素子
10日前
日本発條株式会社
積層体
21日前
株式会社ユーシン
操作装置
10日前
ローム株式会社
半導体装置
19日前
ローム株式会社
半導体装置
19日前
ローム株式会社
半導体装置
19日前
ローム株式会社
半導体装置
17日前
個人
防雪防塵カバー
21日前
日新イオン機器株式会社
イオン源
6日前
ローム株式会社
半導体装置
12日前
株式会社GSユアサ
蓄電設備
10日前
株式会社GSユアサ
蓄電装置
17日前
株式会社ホロン
冷陰極電子源
4日前
オムロン株式会社
電磁継電器
11日前
個人
半導体パッケージ用ガラス基板
20日前
株式会社GSユアサ
蓄電設備
10日前
株式会社GSユアサ
蓄電装置
21日前
株式会社ホロン
冷陰極電子源
17日前
太陽誘電株式会社
全固体電池
17日前
太陽誘電株式会社
コイル部品
10日前
トヨタ自動車株式会社
バッテリ
11日前
日東電工株式会社
積層体
11日前
サクサ株式会社
電池の固定構造
10日前
ノリタケ株式会社
熱伝導シート
10日前
トヨタ自動車株式会社
蓄電装置
10日前
日本特殊陶業株式会社
保持装置
17日前
日本特殊陶業株式会社
保持装置
21日前
ローム株式会社
電子装置
21日前
トヨタ自動車株式会社
二次電池
21日前
日本特殊陶業株式会社
保持装置
17日前
日本特殊陶業株式会社
保持装置
19日前
TDK株式会社
電子部品
17日前
株式会社デンソー
電子装置
21日前
日本特殊陶業株式会社
電極
17日前
日本製紙株式会社
導電性フィルム
11日前
日本製紙株式会社
導電性フィルム
11日前
続きを見る
他の特許を見る