TOP
|
特許
|
意匠
|
商標
特許ウォッチ
Twitter
他の特許を見る
10個以上の画像は省略されています。
公開番号
2025140137
公報種別
公開特許公報(A)
公開日
2025-09-29
出願番号
2024039325
出願日
2024-03-13
発明の名称
受光素子、および受光素子の製造方法
出願人
住友電気工業株式会社
代理人
個人
主分類
H10F
77/00 20250101AFI20250919BHJP()
要約
【課題】光の損失を低減することが可能な受光素子および受光素子の製造方法を提供する。
【解決手段】シリコン層を有する基板と、III-V族化合物半導体で形成され、前記シリコン層に接合されたフォトダイオードと、を具備し、前記シリコン層は導波路を有し、前記フォトダイオードは、第1半導体層と、光吸収層と、第2半導体層と、を含み、前記第1半導体層は前記シリコン層に接触し、前記光吸収層および前記第2半導体層は、前記第1半導体層の前記シリコン層とは反対の面に、この順番で積層され、前記第1半導体層は第1の導電型を有し、前記第2半導体層は第2の導電型を有し、前記第1半導体層は、突出部と第1スラブ部とを有し、前記突出部は前記第1スラブ部に接続され、前記第1スラブ部から前記導波路と重なる位置に突出する受光素子。
【選択図】 図1B
特許請求の範囲
【請求項1】
シリコン層を有する基板と、
III-V族化合物半導体で形成され、前記シリコン層に接合されたフォトダイオードと、を具備し、
前記シリコン層は導波路を有し、
前記フォトダイオードは、第1半導体層と、光吸収層と、第2半導体層と、を含み、
前記第1半導体層は前記シリコン層に接触し、
前記光吸収層および前記第2半導体層は、前記第1半導体層の前記シリコン層とは反対の面に、この順番で積層され、
前記第1半導体層は第1の導電型を有し、
前記第2半導体層は第2の導電型を有し、
前記第1半導体層は、突出部と第1スラブ部とを有し、
前記突出部は前記第1スラブ部に接続され、前記第1スラブ部から前記導波路と重なる位置に突出する受光素子。
続きを表示(約 1,000 文字)
【請求項2】
前記突出部は第1テーパ部を有し、
前記第1テーパ部は、前記導波路の延伸方向に沿って先細りの形状を有する請求項1に記載の受光素子。
【請求項3】
前記突出部の長さは2μm以上である請求項1または請求項2に記載の受光素子。
【請求項4】
前記突出部の先端は曲面である請求項1または請求項2に記載の受光素子。
【請求項5】
前記フォトダイオードはメサを有し、
前記メサは、前記光吸収層および前記第2半導体層を含み、前記第1スラブ部の上に位置し、前記導波路の延伸方向において前記突出部に対向する請求項1または請求項2に記載の受光素子。
【請求項6】
前記メサは第2テーパ部を有し、
前記第2テーパ部は、前記導波路の延伸方向に沿って先細りの形状を有する請求項5に記載の受光素子。
【請求項7】
前記第2テーパ部の長さは5μm以上である請求項6に記載の受光素子。
【請求項8】
前記シリコン層は、凹部および第2スラブ部を有し、
前記凹部は前記第2スラブ部より窪んだ部分であり、前記導波路の両側に位置し、
前記導波路は前記第2スラブ部の端部に接続され、
前記フォトダイオードの前記第1スラブ部は前記第2スラブ部に接合されている請求項5に記載の受光素子。
【請求項9】
前記第2スラブ部は前記第1スラブ部より外にせり出し、
前記導波路は前記突出部より外にせり出している請求項8に記載の受光素子。
【請求項10】
基板のシリコン層に、III-V族化合物半導体で形成されたフォトダイオードを接合する工程と、
前記フォトダイオードにスラブ部および突出部を形成する工程と、を有し、
前記シリコン層は導波路を有し、
前記フォトダイオードは、第1半導体層と、光吸収層と、第2半導体層と、を含み、
前記第1半導体層は前記シリコン層に接触し、
前記光吸収層および前記第2半導体層は、前記第1半導体層の前記シリコン層とは反対の面に、この順番で積層され、
前記第1半導体層は第1の導電型を有し、
前記第2半導体層は第2の導電型を有し、
前記第1半導体層は、前記突出部と前記スラブ部とを有し、
前記突出部は前記スラブ部に接続され、前記スラブ部から前記導波路と重なる位置に突出する受光素子の製造方法。
発明の詳細な説明
【技術分野】
【0001】
本開示は受光素子、および受光素子の製造方法に関するものである。
続きを表示(約 3,500 文字)
【背景技術】
【0002】
III-V族化合物半導体で形成されたフォトダイオードを、導波路を形成したSOI(Silicon On Insulator)基板(シリコンフォトニクス)などの基板に接合することで、ハイブリッド型の受光素子を形成することができる(例えば非特許文献1)。フォトダイオードは、導波路を伝搬した光を吸収し、電気信号を出力する。
【先行技術文献】
【非特許文献】
【0003】
Ye Wang,et al. “High-Power Photodiodes With 65 GHz Bandwidth Heterogeneously Integrated Onto Silicon-on-Insulator Nano-Waveguides” IEEE Journal of Selected Topics in Quantum Electronics,Vol.24,No.2,6000206,March/April,2018
【発明の概要】
【発明が解決しようとする課題】
【0004】
基板の導波路と、接合されたフォトダイオードとの間で、光の損失が発生する。光の損失を低減することで、受光感度を高めることができる。そこで、光の損失を低減することが可能な受光素子および受光素子の製造方法を提供することを目的とする。
【課題を解決するための手段】
【0005】
本開示に係る受光素子は、シリコン層を有する基板と、III-V族化合物半導体で形成され、前記シリコン層に接合されたフォトダイオードと、を具備し、前記シリコン層は導波路を有し、前記フォトダイオードは、第1半導体層と、光吸収層と、第2半導体層と、を含み、前記第1半導体層は前記シリコン層に接触し、前記光吸収層および前記第2半導体層は、前記第1半導体層の前記シリコン層とは反対の面に、この順番で積層され、前記第1半導体層は第1の導電型を有し、前記第2半導体層は第2の導電型を有し、前記第1半導体層は、突出部と第1スラブ部とを有し、前記突出部は前記第1スラブ部に接続され、前記第1スラブ部から前記導波路と重なる位置に突出する。
【発明の効果】
【0006】
本開示によれば、光の損失を低減することが可能な受光素子および受光素子の製造方法を提供することが可能である。
【図面の簡単な説明】
【0007】
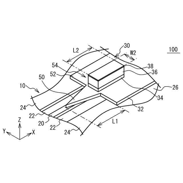
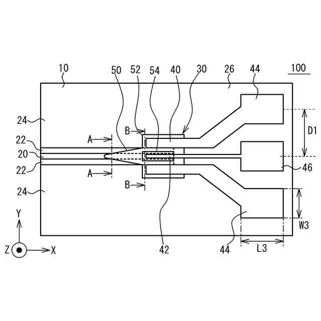
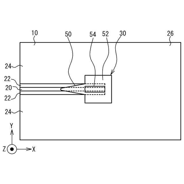
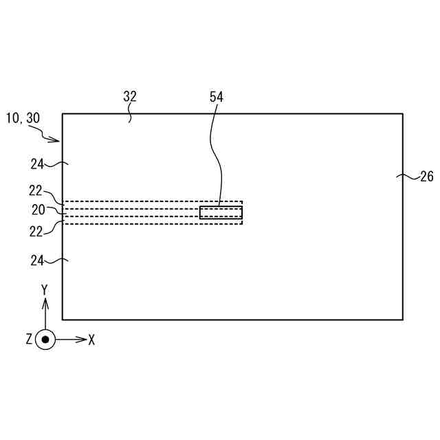
図1Aは第1実施形態に係る受光素子を例示する上面図である。
図1Bは受光素子を例示する斜視図である。
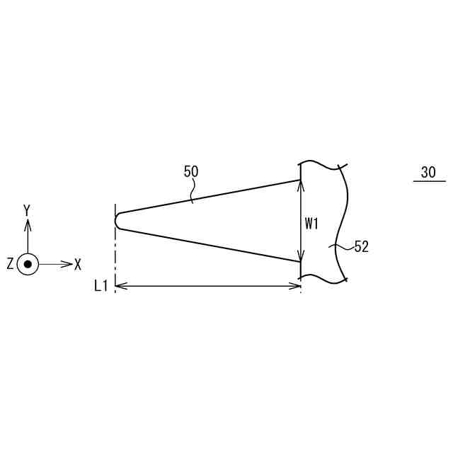
図1Cは突出部を拡大した図である。
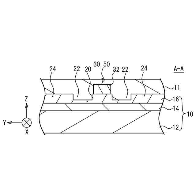
図2Aは受光素子を例示する断面図である。
図2Bは受光素子を例示する断面図である。
図3は光の損失を例示する図である。
図4Aは受光素子の製造方法を例示する平面図である。
図4Bは受光素子の製造方法を例示する平面図である。
図4Cは受光素子の製造方法を例示する平面図である。
図5Aは変形例1に係る受光素子の突出部を例示する平面図である。
図5Bは変形例2に係る受光素子の突出部を例示する平面図である。
図5Cは変形例3に係る受光素子の突出部を例示する平面図である。
図5Dは変形例4に係る受光素子の突出部を例示する平面図である。
図6Aは第2実施形態に係る受光素子を例示する斜視図である。
図6Bは光の損失を例示する図である。
図7は第3実施形態に係る受光素子を例示する斜視図である。
【発明を実施するための形態】
【0008】
[本開示の実施形態の説明]
最初に本開示の実施形態の内容を列記して説明する。
【0009】
本開示の一形態は、(1)シリコン層を有する基板と、III-V族化合物半導体で形成され、前記シリコン層に接合されたフォトダイオードと、を具備し、前記シリコン層は導波路を有し、前記フォトダイオードは、第1半導体層と、光吸収層と、第2半導体層と、を含み、前記第1半導体層は前記シリコン層に接触し、前記光吸収層および前記第2半導体層は、前記第1半導体層の前記シリコン層とは反対の面に、この順番で積層され、前記第1半導体層は第1の導電型を有し、前記第2半導体層は第2の導電型を有し、前記第1半導体層は、突出部と第1スラブ部とを有し、前記突出部は前記第1スラブ部に接続され、前記第1スラブ部から前記導波路と重なる位置に突出する受光素子である。フォトダイオードが突出部を有するため、導波路とフォトダイオードとの界面において、光が反射および散乱されにくい。光の損失を低減することができる。
(2)上記(1)において、前記突出部は第1テーパ部を有し、前記第1テーパ部は、前記導波路の延伸方向に沿って先細りの形状を有してもよい。光が導波路からフォトダイオードへと徐々に遷移する。光の損失を効果的に低減することができる。
(3)上記(1)または(2)において、前記突出部の長さは2μm以上でもよい。光の損失を低減することができる。
(4)上記(1)から(3)のいずれかにおいて、前記突出部の先端は曲面でもよい。光が反射しにくいため、光の損失を低減することができる。
(5)上記(1)から(4)のいずれかにおいて、前記フォトダイオードはメサを有し、前記メサは、前記光吸収層および前記第2半導体層を含み、前記第1スラブ部の上に位置し、前記導波路の延伸方向において前記突出部に対向してもよい。光は導波路を伝搬し、突出部においてフォトダイオードに遷移し、メサの光吸収層に吸収される。フォトダイオードが光を検出することができる。
(6)上記(5)において、前記メサは第2テーパ部を有し、前記第2テーパ部は、前記導波路の延伸方向に沿って先細りの形状を有してもよい。光の損失を低減することができる。
(7)上記(6)において、前記第2テーパ部の長さは5μm以上でもよい。光の損失を低減することができる。
(8)上記(5)において、前記シリコン層は、凹部および第2スラブ部を有し、前記凹部は前記第2スラブ部より窪んだ部分であり、前記導波路の両側に位置し、前記導波路は前記第2スラブ部の端部に接続され、前記フォトダイオードの前記第1スラブ部は前記第2スラブ部に接合されてもよい。光は第2スラブ部上のフォトダイオードに吸収される。光を検知することができる。
(9)上記(8)において、前記第2スラブ部は前記第1スラブ部より外にせり出し、前記導波路は前記突出部より外にせり出してもよい。凹部にエッチャントなどの液体が侵入した場合でも、フォトダイオードの下面が液体に接触しにくい。下面からのエッチングを防ぐことができる。
(10)基板のシリコン層に、III-V族化合物半導体で形成されたフォトダイオードを接合する工程と、前記フォトダイオードにスラブ部および突出部を形成する工程と、を有し、前記シリコン層は導波路を有し、前記フォトダイオードは、第1半導体層と、光吸収層と、第2半導体層と、を含み、前記第1半導体層は前記シリコン層に接触し、前記光吸収層および前記第2半導体層は、前記第1半導体層の前記シリコン層とは反対の面に、この順番で積層され、前記第1半導体層は第1の導電型を有し、前記第2半導体層は第2の導電型を有し、前記第1半導体層は、前記突出部と前記スラブ部とを有し、前記突出部は前記スラブ部に接続され、前記スラブ部から前記導波路と重なる位置に突出する受光素子の製造方法である。フォトダイオードが突出部を有するため、導波路とフォトダイオードとの界面において、光が反射および散乱されにくい。光の損失を低減することができる。
【0010】
[本開示の実施形態の詳細]
本開示の実施形態に係る受光素子および受光素子の製造方法の具体例を、以下に図面を参照しつつ説明する。なお、本開示はこれらの例示に限定されるものではなく、特許請求の範囲によって示され、特許請求の範囲と均等の意味および範囲内でのすべての変更が含まれることが意図される。
(【0011】以降は省略されています)
この特許をJ-PlatPat(特許庁公式サイト)で参照する
関連特許
住友電気工業株式会社
受光素子
3日前
住友電気工業株式会社
半導体装置
5日前
住友電気工業株式会社
OLT及び帯域割当方法
1日前
住友電気工業株式会社
半導体装置およびその製造方法
2日前
住友電気工業株式会社
アクセスポイント装置および無線通信設定方法
1日前
株式会社オートネットワーク技術研究所
ワイヤハーネス
1日前
株式会社オートネットワーク技術研究所
バスバー締結構造
1日前
株式会社オートネットワーク技術研究所
バスバー締結構造
1日前
株式会社オートネットワーク技術研究所
ジョイントコネクタ
1日前
株式会社オートネットワーク技術研究所
車載機器の支持装置
5日前
株式会社オートネットワーク技術研究所
追加配線部材の配索構造
5日前
株式会社オートネットワーク技術研究所
ワイヤハーネスの配索構造
5日前
株式会社オートネットワーク技術研究所
ステータの製造方法及びステータ
1日前
株式会社オートネットワーク技術研究所
車載機器の支持装置および被ガイド体
5日前
株式会社オートネットワーク技術研究所
ワイヤーハーネス
4日前
エイブリック株式会社
半導体装置
1か月前
エイブリック株式会社
半導体装置
2日前
富士電機株式会社
半導体装置
23日前
富士電機株式会社
半導体装置
1か月前
富士電機株式会社
半導体装置
5日前
富士電機株式会社
半導体装置
1か月前
富士電機株式会社
半導体装置
1か月前
富士電機株式会社
半導体装置
1か月前
三菱電機株式会社
半導体装置
1か月前
AGC株式会社
太陽電池モジュール
8日前
三菱電機株式会社
半導体装置
1か月前
国立大学法人 和歌山大学
光検出器
1か月前
ミツミ電機株式会社
センサ装置
1か月前
株式会社半導体エネルギー研究所
半導体装置
1か月前
キヤノン株式会社
有機発光素子
15日前
日亜化学工業株式会社
発光素子
3日前
ミツミ電機株式会社
半導体装置
2日前
株式会社半導体エネルギー研究所
半導体装置
1か月前
日亜化学工業株式会社
発光装置
23日前
株式会社半導体エネルギー研究所
半導体装置
24日前
住友電気工業株式会社
半導体装置
15日前
続きを見る
他の特許を見る