TOP
|
特許
|
意匠
|
商標
特許ウォッチ
Twitter
他の特許を見る
10個以上の画像は省略されています。
公開番号
2025143689
公報種別
公開特許公報(A)
公開日
2025-10-02
出願番号
2024043047
出願日
2024-03-19
発明の名称
半導体装置
出願人
ミツミ電機株式会社
代理人
個人
,
個人
主分類
H10D
89/60 20250101AFI20250925BHJP()
要約
【課題】ダイオードの破壊を抑制する半導体装置を提供する。
【解決手段】半導体装置100は、半導体基板10と、半導体基板上の、ESD保護回路50、内部回路52、入出力端子Ts及び電源端子T1、T2と、を備える。ESD保護回路は、ダイオードD1、D2及びESD保護素子54を備えている。ダイオードD1のカソードは電源端子T1に接続され、アノードは入出力端子に接続される。ダイオードD2のカソードは入出力端子Tsに接続され、アノードは電源端子T2に接続される。ESD保護素子は、電源端子間で、ダイオードD1、D2に並列に接続されており、NMOSFETであるトランジスタF1、F2を有する。トランジスタF1のドレインは電源端子T1に接続し、ソースとゲートとは接続する。トランジスタF2のドレインはトランジスタF1のソースに接続し、トランジスタF2のソースは、電源端子T2に接続し、ソースとゲートとは接続する。
【選択図】図1
特許請求の範囲
【請求項1】
第1導電型の半導体基板と、
前記半導体基板上に設けられる第1電源端子と、
前記半導体基板上に設けられる第2電源端子と、
前記半導体基板上に設けられる入出力端子と、
前記第2電源端子に接続される配線と、
前記半導体基板の周縁部における前記半導体基板内に設けられ、前記第1導電型であり、前記第1電源端子に接続される第1ガードリングと、
前記半導体基板内に設けられ、前記第1導電型であり、前記第1ガードリングに接続される第2ガードリングと、
前記半導体基板内に設けられ、前記第2ガードリングに囲まれ、前記第1導電型とは異なる第2導電型であるウエル領域と、
前記ウエル領域内に設けられ、一端が前記第1電源端子に接続され、他端が前記入出力端子に接続される第1ダイオードと、
前記ウエル領域内に設けられ、一端が前記入出力端子に接続され、他端が前記第2電源端子に接続される第2ダイオードと、
前記半導体基板上に設けられ、前記第1電源端子と前記第2電源端子との間において前記第1ダイオードと前記第2ダイオードとに並列に接続される保護素子と、
を備え、
前記第2ガードリングのうち前記第2ダイオードを囲む部分には、前記第1電源端子に接続される第1コンタクトは接続されておらず、
前記配線は、前記囲む部分に囲まれた前記ウエル領域のうち前記第1ガードリングと反対側の1/2の箇所において前記第2ダイオードに接続される、
半導体装置。
続きを表示(約 920 文字)
【請求項2】
前記第2ダイオードは、
前記ウエル領域内に設けられ前記第1導電型である第1領域と、
前記ウエル領域内に設けられ、前記第1領域と前記ウエル領域の一部を挟み対向し、前記第2導電型である第2領域と、
を備え、
前記半導体装置は、前記第2領域と前記配線とを接続する第2コンタクトを備え、
前記第2コンタクトのうち前記第2電源端子に電気的に最も近い部分は前記1/2の箇所に設けられている請求項1に記載の半導体装置。
【請求項3】
前記第2コンタクトのうち前記第2電源端子に電気的に最も近い部分は、前記第2コンタクトのうち前記第1ガードリングから最も遠い請求項2に記載の半導体装置。
【請求項4】
前記第1領域及び前記第2領域は前記第1ガードリングの延伸する方向に交差する方向に延伸して設けられ、
前記第2領域は前記交差する方向に延伸して設けられ、
前記第2コンタクトは、前記交差する方向に配列されている請求項2または3に記載の半導体装置。
【請求項5】
前記保護素子は、トランジスタを備える、請求項1から3のいずれか一項に記載の半導体装置。
【請求項6】
前記保護素子は、前記第2電源端子に接続されるソースと、前記第1電源端子に接続されるドレインと、を有するFETを備える、請求項1から3のいずれか一項に記載の半導体装置。
【請求項7】
前記第1電源端子に供給される電圧は前記第2電源端子に供給される電圧より高く、
前記第1導電型はN型であり、
前記第2導電型はP型であり、
前記第1ダイオードの前記一端及び前記他端は、それぞれカソード及びアノードであり、
前記第2ダイオードの前記一端及び前記他端は、それぞれカソード及びアノードである、
請求項1から3のいずれか一項に記載の半導体装置。
【請求項8】
前記第1ダイオードおよび第2ダイオードの少なくとも一方は、直列に複数接続されている、請求項1から3のいずれか一項に記載の半導体装置。
発明の詳細な説明
【技術分野】
【0001】
本開示は、半導体装置に関する。
続きを表示(約 2,200 文字)
【背景技術】
【0002】
MOS(Metal Oxide Semiconductor)トランジスタを有する半導体装置において、静電放電(ESD:Electrostatic Discharge)等のサージから回路を保護するため、保護回路を設けることが知られている。保護回路をガードリング内に設けることが知られている(例えば、特許文献1)。
【先行技術文献】
【特許文献】
【0003】
特開2008-177246号公報
【発明の概要】
【発明が解決しようとする課題】
【0004】
ESD保護回路として、ダイオードと、ダイオードと並列に接続されるESD保護素子とを用いる場合に、ESDサージによりダイオードが破壊してしまうことがある。
【0005】
本開示は、ダイオードの破壊を抑制できる半導体装置を提供する。
【課題を解決するための手段】
【0006】
本開示の実施形態によれば、半導体装置は、第1導電型の半導体基板と、前記半導体基板上に設けられる第1電源端子と、前記半導体基板上に設けられる第2電源端子と、前記半導体基板上に設けられる入出力端子と、前記第2電源端子に接続される配線と、前記半導体基板の周縁部における前記半導体基板内に設けられ、前記第1導電型であり、前記第1電源端子に接続される第1ガードリングと、前記半導体基板内に設けられ、前記第1導電型であり、前記第1ガードリングに接続される第2ガードリングと、前記半導体基板内に設けられ、前記第2ガードリングに囲まれ、前記第1導電型とは異なる第2導電型であるウエル領域と、前記ウエル領域内に設けられ、一端が前記第1電源端子に接続され、他端が前記入出力端子に接続される第1ダイオードと、前記ウエル領域内に設けられ、一端が前記入出力端子に接続され、他端が前記第2電源端子に接続される第2ダイオードと、前記半導体基板上に設けられ、前記第1電源端子と前記第2電源端子との間において前記第1ダイオードと前記第2ダイオードとに並列に接続される保護素子と、を備え、前記第2ガードリングのうち前記第2ダイオードを囲む部分には、前記第1電源端子に接続される第1コンタクトは接続されておらず、前記配線は、前記囲む部分に囲まれた前記ウエル領域のうち前記第1ガードリングと反対側の1/2の箇所において前記第2ダイオードに接続される。
【発明の効果】
【0007】
本開示によれば、ダイオードの破壊を抑制できることができる。
【図面の簡単な説明】
【0008】
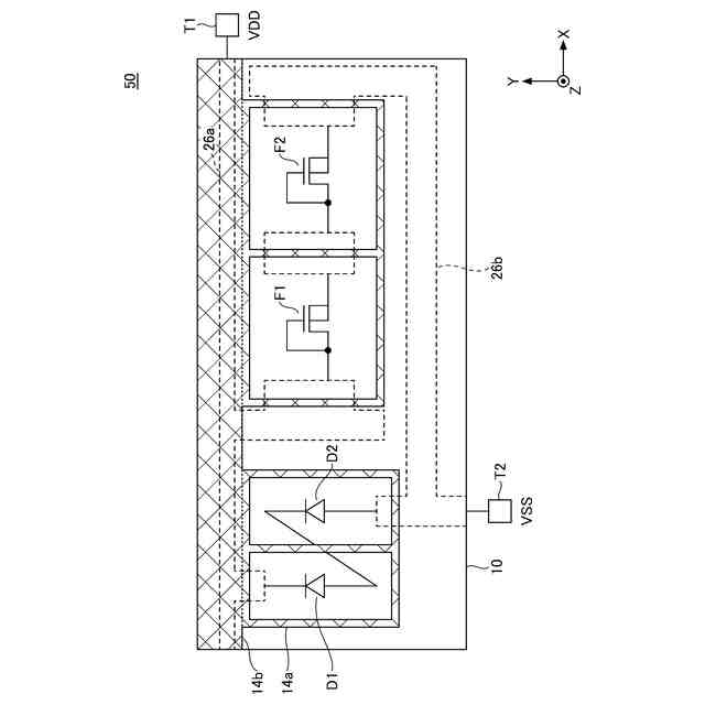
図1は、第1実施形態に係る半導体装置のブロック図である。
図2は、第1実施形態に係る半導体装置のブロック図である。
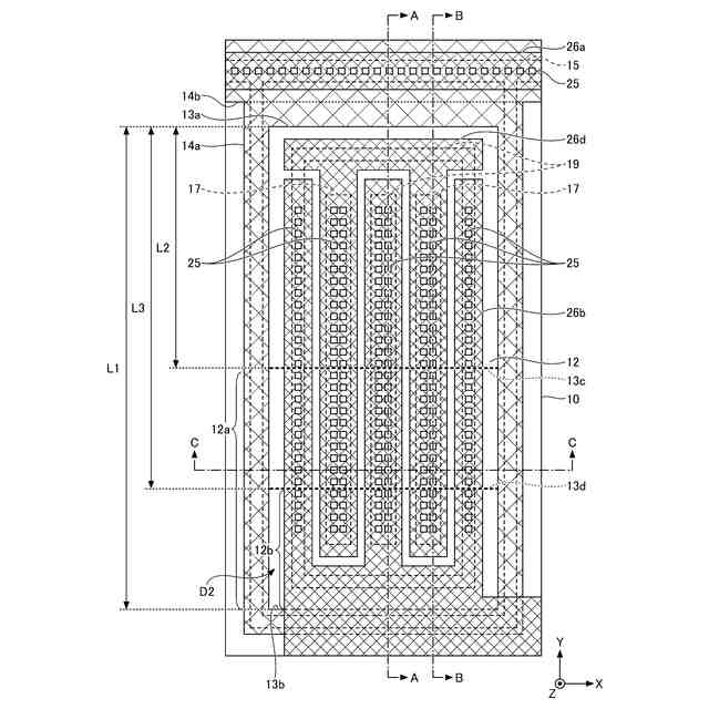
図3は、第1実施形態に係る半導体装置におけるESD保護回路の平面模式図である。
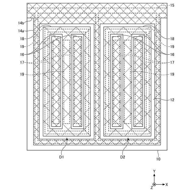
図4は、図3のダイオード付近を拡大した平面図である。
図5は、図3のダイオード付近を拡大した平面図である。
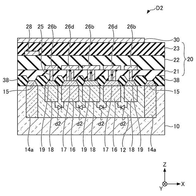
図6は、図4および図5のダイオードD2付近を拡大した平面図である。
図7は、図6のA-A断面図である。
図8は、図6のB-B断面図である。
図9は、図6のC-C断面図である。
図10は、第1比較例に係る半導体装置のダイオードD2の断面図である。
図11は、第2比較例に係る半導体装置のダイオードの平面図である。
図12は、第2比較例に係る半導体装置のダイオードD2の断面図である。
図13は、第1実施形態に係る半導体装置のダイオードD2の断面図である。
図14(a)および図14(b)は、それぞれ第1比較例および第1実施形態における時間に対する電圧及び電流を示す図である。
図15(a)から図15(c)は、第1比較例における電流の流れを説明する回路図である。
図16(a)から図16(c)は、第1比較例における電流の流れを示す断面図である。
図17は、第1実施形態および第1比較例における電圧に対するESD耐量を示す図である。
図18は、第2実施形態に係る半導体装置のブロック図である。
図19は、第2実施形態におけるダイオード付近を拡大した平面図である。
【発明を実施するための形態】
【0009】
以下、図面を参照して本開示を実施するための形態について詳細に説明する。下記の実施形態は、発明の技術思想を具体化するための例示であり、本開示を記載された構成や数値に限定するものではない。なお、各図面において、同一構成部分には同一符号を付し、重複した説明を適宜省略する場合がある。各図面が示す各部材の大きさ、位置関係等は、発明の理解を容易にするために誇張して描かれている場合がある。
【0010】
(第1実施形態)
図1は、第1実施形態に係る半導体装置のブロック図である。図1に示すように、第1実施形態に係る半導体装置100は、半導体基板10、ESD保護回路50、内部回路52、入出力端子Ts、電源端子T1およびT2を備えている。ESD保護回路50、内部回路52、入出力端子Ts、電源端子T1およびT2は、半導体基板10上に設けられている。
(【0011】以降は省略されています)
この特許をJ-PlatPat(特許庁公式サイト)で参照する
関連特許
ミツミ電機株式会社
音響変換装置
1か月前
ミツミ電機株式会社
音響変換装置
1か月前
ミツミ電機株式会社
音響変換装置
1か月前
ミツミ電機株式会社
超音波風速計
1か月前
ミツミ電機株式会社
多方向入力装置
12日前
ミツミ電機株式会社
多方向入力装置
12日前
ミツミ電機株式会社
多方向入力装置
12日前
ミツミ電機株式会社
半導体装置の製造方法
18日前
ミツミ電機株式会社
圧力検出素子及び圧力センサ
11日前
ミツミ電機株式会社
充電制御装置、及び、電池パック
1か月前
ミツミ電機株式会社
超音波風速計、及び風速測定方法
1か月前
ミツミ電機株式会社
駆動装置、カメラモジュールおよびカメラ搭載装置
1か月前
ミツミ電機株式会社
駆動装置、カメラモジュールおよびカメラ搭載装置
1か月前
ミツミ電機株式会社
DC-DCコンバータおよび電源用半導体集積回路
1か月前
ミツミ電機株式会社
羽根駆動装置、カメラモジュール及びカメラ搭載装置
19日前
ミツミ電機株式会社
モーター、羽根駆動装置、カメラモジュール及びカメラ搭載装置
19日前
個人
積和演算用集積回路
1か月前
サンケン電気株式会社
半導体装置
1か月前
エイブリック株式会社
縦型ホール素子
1か月前
日機装株式会社
半導体発光装置
26日前
旭化成株式会社
発光素子
1か月前
エイブリック株式会社
縦型ホール素子
1か月前
ローム株式会社
半導体装置
10日前
ローム株式会社
抵抗チップ
1か月前
株式会社半導体エネルギー研究所
表示装置
10日前
株式会社半導体エネルギー研究所
表示装置
1か月前
三菱電機株式会社
半導体装置
5日前
富士電機株式会社
半導体装置
1か月前
株式会社東芝
半導体装置
18日前
三菱電機株式会社
半導体装置
18日前
三菱電機株式会社
半導体装置
1か月前
ローム株式会社
半導体集積回路
1か月前
日亜化学工業株式会社
発光装置
1か月前
日亜化学工業株式会社
発光装置
1か月前
富士電機株式会社
半導体装置の製造方法
1か月前
ローム株式会社
半導体装置
3日前
続きを見る
他の特許を見る