TOP
|
特許
|
意匠
|
商標
特許ウォッチ
Twitter
他の特許を見る
10個以上の画像は省略されています。
公開番号
2025136118
公報種別
公開特許公報(A)
公開日
2025-09-19
出願番号
2024034331
出願日
2024-03-06
発明の名称
有機発光素子
出願人
キヤノン株式会社
代理人
個人
,
個人
主分類
H10K
50/19 20230101AFI20250911BHJP()
要約
【課題】高効率で耐久性に優れた有機発光素子を提供する。
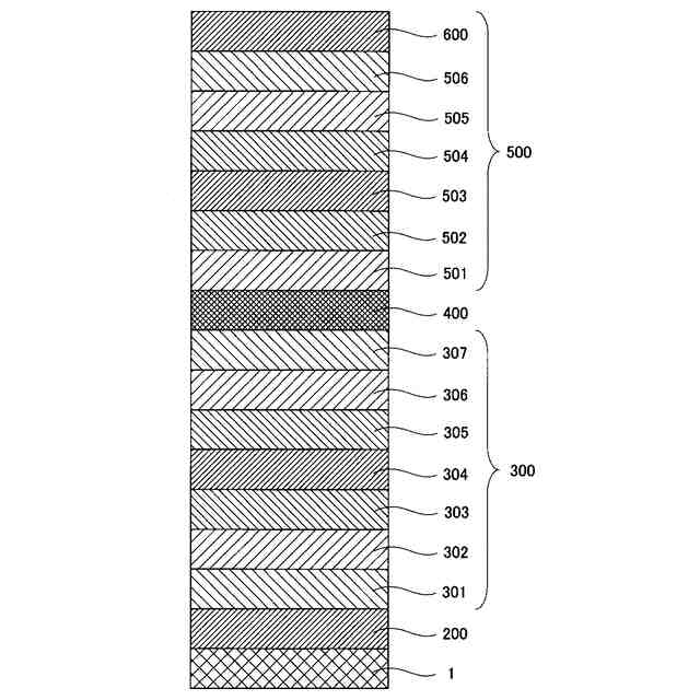
【解決手段】第1の電極200、第1の発光ユニット300、電荷発生層400、第2の発光ユニット500、第2の電極600をこれらの順で有し、第1の発光ユニット300は、第1の有機層303、第1の発光層304、第2の有機層305をこれらの順で互いに隣接して有し、第1の発光ユニット300が正孔注入性を示す。
【選択図】図1
特許請求の範囲
【請求項1】
第1の電極、第1の発光ユニット、電荷発生層、第2の発光ユニット、第2の電極をこれらの順で有し、前記第1の発光ユニットは、第1の有機層、第1の発光層、第2の有機層をこれらの順で互いに隣接して有し、
前記第1の有機層は有機化合物Aを、前記第1の発光層は有機化合物Bを、前記第2の有機層は有機化合物Cを有し、下記式[1]で表される関係を満たすことを特徴とする有機発光素子。
ΔLUMO1≧0 [1]
ΔLUMO1=LUMO(C)-LUMO(B)
LUMO(B):有機化合物BのLUMO準位
LUMO(C):有機化合物CのLUMO準位
続きを表示(約 1,200 文字)
【請求項2】
前記有機発光素子が、式[1-1]で表される関係を満たすことを特徴とする請求項1に記載の有機発光素子。
ΔHOMO1<ΔLUMO1、且つΔLUMO1≧0 [1-1]
ΔHOMO1=HOMO(B)-HOMO(A)
HOMO(A):有機化合物AのHOMO準位
HOMO(B):有機化合物BのHOMO準位
【請求項3】
前記第2の発光ユニットは、第3の有機層、第2の発光層、第3の発光層、第4の有機層をこれらの順で有し、前記第3の有機層と前記第2の発光層、前記第3の発光層と前記第4の有機層はそれぞれ互いに隣接し、
前記第3の発光層は有機化合物Fと有機化合物Hを有し、下記式[2]で表される関係を満たすことを特徴とする請求項1又は2に記載の有機発光素子。
HOMO(H)<HOMO(F) [2]
HOMO(F):有機化合物FのHOMO準位
HOMO(H):有機化合物HのHOMO準位
【請求項4】
前記第2の発光ユニットは、第3の有機層、第2の発光層、第3の発光層、第4の有機層をこれらの順で有し、前記第3の有機層と前記第2の発光層、前記第3の発光層と前記第4の有機層はそれぞれ互いに隣接し、
前記第3の発光層は有機化合物F及び有機化合物Hを有し、下記式[3]で表される関係を満たすことを特徴とする請求項1又は2に記載の有機発光素子。
LUMO(F)<LUMO(H) [3]
LUMO(F):有機化合物FのLUMO準位
LUMO(H):有機化合物HのLUMO準位
【請求項5】
前記第3の発光層は、下記式[3-1]で表される関係を満たすことを特徴とする請求項4に記載の有機発光素子。
LUMO(H)-LUMO(F)≧0.2eV [3-1]
【請求項6】
前記第1の発光層、前記第2の発光層、及び前記第3の発光層は蛍光発光材料を含むことを特徴とする請求項3に記載の有機発光素子。
【請求項7】
前記第1の発光層は蛍光発光材料を、前記第2の発光層及び前記第3の発光層は燐光発光材料を含むことを特徴とする請求項3に記載の有機発光素子。
【請求項8】
前記第1の発光層は、自由回転可能な結合が全て炭素からなる化合物を含むことを特徴とする請求項1又は2に記載の有機発光素子。
【請求項9】
前記第1の発光層は、ホールトラップをアシストする材料を含むことを特徴とする請求項1又は2に記載の有機発光素子。
【請求項10】
前記第1の発光層は、ピレン誘導体、ペリレン誘導体、アントラセン誘導体、フルオランテン誘導体の中から選択される少なくとも一つを含むことを特徴とする請求項1又は2に記載の有機発光素子。
(【請求項11】以降は省略されています)
発明の詳細な説明
【技術分野】
【0001】
本発明は、有機発光素子と、該有機発光素子を有する各種機器、装置に関する。
続きを表示(約 2,600 文字)
【背景技術】
【0002】
有機エレクトロルミネッセンス素子(以下、「有機EL素子」又は「有機発光素子」とも称する)は、陽極と陰極と、これらの電極間に配置されている発光層を含む有機化合物層に通電することにより発光する素子である。
近年、1つの発光層の中に赤色、緑色、青色に発光する発光材料を有して白色発光する単色有機発光素子に加えて、赤色、緑色、青色それぞれに発光する発光層を積層した積層有機発光素子が開発されている。積層有機発光素子は、発光層が一層のみの単層有機発光素子と比べて駆動電圧が高くなる傾向があるため、電荷発生層もしくは中間電極と呼ばれる中間層を設ける構造が知られているが、係る中間層は他の有機層に比べて劣化しやすい場合があり、係る中間層の劣化は高電圧化や低効率化、耐久性の低下に繋がるため、安定な電荷発生層の開発が求められている。
特許文献1には、電荷発生層を有し、下層においてはLUMO、電荷発生層においてはHOMO及びLUMOが規定されており、電荷発生層とその隣接層間でのエネルギーレベルを規定した構成が記載されている。また、特許文献2には、電荷発生層を有し、発光層及び電子ブロック層のLUMO準位差を規定した構成が記載されている。
【先行技術文献】
【特許文献】
【0003】
特開2022-117963号公報
特開2023-029747号公報
【発明の概要】
【発明が解決しようとする課題】
【0004】
しかしながら、特許文献1に記載された積層有機発光素子は電荷発生層を有し、下層(陽極-電荷発生層間の層)においては第一材料や第二材料によるLUMO等、電荷発生層とその隣接層でのエネルギー規定がなされている反面、発光層及びその隣接層での規定はなされておらず、そもそも注入性の観点が見られない。つまり、電荷発生層から発光層までの電荷注入においては電子注入性が重要であるが、特許文献1においてはこの点が考慮されておらず、電荷発生層由来のキャリアバランスが悪化することが考えられ、その結果、有機発光素子の耐久が悪化することが懸念される。
また、特許文献2に記載された積層有機発光素子においても、上記と同様の理由から電荷発生層由来のキャリアバランス悪化が懸念される。
本発明は上記の課題を鑑みてなされたものであり、その目的は、高効率で耐久性に優れた有機発光素子を提供することである。
【課題を解決するための手段】
【0005】
本発明の有機発光素子は、第1の電極、第1の発光ユニット、電荷発生層、第2の発光ユニット、第2の電極をこれらの順で有し、前記第1の発光ユニットは、第1の有機層、第1の発光層、第2の有機層をこれらの順で互いに隣接して有し、
前記第1の有機層は有機化合物Aを、前記第1の発光層は有機化合物Bを、前記第2の有機層は有機化合物Cを有し、下記式[1]で表される関係を満たすことを特徴とする。
ΔLUMO1≧0 [1]
ΔLUMO1=LUMO(C)-LUMO(B)
LUMO(B):有機化合物BのLUMO準位
LUMO(C):有機化合物CのLUMO準位
【発明の効果】
【0006】
本発明によれば、高効率で耐久性に優れた有機発光素子を提供することができる。
【図面の簡単な説明】
【0007】
本発明の一実施形態に係る有機発光素子の断面模式図である。
(a)本発明の一実施形態に係る表示装置の画素の一例を表す概略断面図である。(b)本発明の一実施形態に係る有機発光素子を用いた表示装置の一例の概略断面図である。
本発明の一実施形態に係る表示装置の一例を表す模式図である。
(a)本発明の一実施形態に係る撮像装置の一例を表す模式図である。(b)本発明の一実施形態に係る電子機器の一例を表す模式図である。
(a)本発明の一実施形態に係る表示装置の一例を表す模式図である。(b)折り曲げ可能な表示装置の一例を表す模式図である。
(a)本発明の一実施形態に係る照明装置の一例を示す模式図である。(b)本発明の一実施形態に係る車両用灯具を有する自動車の一例を示す模式図である。
(a)本発明の一実施形態に係るウェアラブルデバイスの一例を示す模式図である。(b)本発明の一実施形態に係るウェアラブルデバイスの一例で、撮像装置を有する形態を示す模式図である。
(a)本発明の一実施形態に係る画像形成装置の一例を表す模式図である。(b)本発明の一実施形態に係る画像形成装置の露光光源の一例を表す模式図である。(c)本発明の一実施形態に係る画像形成装置の露光光源の一例を表す模式図である。
【発明を実施するための形態】
【0008】
<有機発光素子>
本発明の有機発光素子は、第1の電極と第2の電極との間に、電荷発生層を介して第1の電極側に第1の発光ユニットを、第2の電極側に第2の発光ユニットを有する積層有機発光素子である。そして、第1の発光ユニットは第1の有機層、第1の発光層、第2の有機層をこの順で有し、これらは互いに隣接し、第1の有機層は有機化合物Aを、第1の発光層や有機化合物Bを、第2の有機層は有機化合物Cをそれぞれ有し、下記式[1]を満たす。
ΔLUMO1≧0 [1]
ΔLUMO1=LUMO(C)-LUMO(B)
LUMO(B):有機化合物BのLUMO準位
LUMO(C):有機化合物CのLUMO準位
尚、本発明において、HOMOは最高被占軌道であり、そのエネルギー準位をHOMO準位或いはHOMOと記す。また、LUMOは最低空軌道であり、そのエネルギー準位をLUMO準位或いはLUMOと記す。単位はいずれも「eV」である。
【0009】
本実施形態に係る有機発光素子において、第1の電極は陽極であってよく、第2の電極は陰極であってよい。
【0010】
以下、図1を用いて本発明をより詳細に説明する。
(【0011】以降は省略されています)
この特許をJ-PlatPat(特許庁公式サイト)で参照する
関連特許
キヤノン株式会社
トナー
1日前
キヤノン株式会社
トナー
1日前
キヤノン株式会社
トナー
6日前
キヤノン株式会社
トナー
1日前
キヤノン株式会社
撮像装置
20日前
キヤノン株式会社
電子機器
14日前
キヤノン株式会社
電子機器
8日前
キヤノン株式会社
電子機器
10日前
キヤノン株式会社
発光装置
13日前
キヤノン株式会社
表示装置
13日前
キヤノン株式会社
記録装置
6日前
キヤノン株式会社
収容装置
14日前
キヤノン株式会社
定着装置
今日
キヤノン株式会社
電子機器
14日前
キヤノン株式会社
定着装置
14日前
キヤノン株式会社
定着装置
20日前
キヤノン株式会社
撮像装置
14日前
キヤノン株式会社
撮像装置
6日前
キヤノン株式会社
撮像装置
2日前
キヤノン株式会社
光学センサ
1日前
キヤノン株式会社
半導体装置
8日前
キヤノン株式会社
モジュール
1日前
キヤノン株式会社
現像剤容器
7日前
キヤノン株式会社
画像形成装置
2日前
キヤノン株式会社
映像表示装置
1日前
キヤノン株式会社
表示システム
7日前
キヤノン株式会社
画像形成装置
8日前
キヤノン株式会社
画像形成装置
2日前
キヤノン株式会社
画像処理装置
7日前
キヤノン株式会社
画像形成装置
2日前
キヤノン株式会社
映像表示装置
10日前
キヤノン株式会社
画像形成装置
7日前
キヤノン株式会社
画像形成装置
2日前
キヤノン株式会社
画像形成装置
7日前
キヤノン株式会社
画像形成装置
6日前
キヤノン株式会社
画像形成装置
6日前
続きを見る
他の特許を見る