TOP
|
特許
|
意匠
|
商標
特許ウォッチ
Twitter
他の特許を見る
10個以上の画像は省略されています。
公開番号
2025143195
公報種別
公開特許公報(A)
公開日
2025-10-01
出願番号
2025009977
出願日
2025-01-23
発明の名称
画像形成装置
出願人
キヤノン株式会社
代理人
弁理士法人大塚国際特許事務所
主分類
G03G
15/00 20060101AFI20250924BHJP(写真;映画;光波以外の波を使用する類似技術;電子写真;ホログラフイ)
要約
【課題】キャリブレーションの種類に適した変換を行う。
【解決手段】画像形成手段に第1キャリブレーション用のテスト画像を形成させ、検知手段により出力された第1キャリブレーション用のテスト画像からの反射光の受光結果に基づく第1信号を増幅手段に増幅させ、増幅された第1信号から第1決定条件に基づき第1濃度情報を決定し、第1濃度情報に基づき画像形成手段により形成されるべき画像の階調特性を調整する。画像形成手段に第2キャリブレーション用のテスト画像を形成させ、検知手段により出力された第2キャリブレーション用のテスト画像からの反射光の受光結果に基づく第2信号を増幅手段に増幅させ、増幅された第2信号から第2決定条件に基づき第2濃度情報を決定し、第2濃度情報に基づき画像形成手段により形成されるべき画像の濃度ムラを調整する。第2信号の増幅率は第1信号の増幅率よりも高い
【選択図】 図4
特許請求の範囲
【請求項1】
画像を形成する画像形成手段と、
前記画像形成手段により形成されたテスト画像からの反射光を受光し、前記テスト画像からの前記反射光の受光結果に基づく信号を出力する検知手段と、
前記検知手段から出力された前記信号を増幅する増幅手段と、
前記画像形成手段により形成されるべき画像の画質を調整するためにキャリブレーションを実施する制御手段と、を有し、
前記制御手段は、
前記画像形成手段に第1キャリブレーション用のテスト画像を形成させ、前記検知手段により出力された前記第1キャリブレーション用の前記テスト画像からの反射光の受光結果に基づく第1信号を前記増幅手段に増幅させ、前記増幅された第1信号から第1決定条件に基づき第1濃度情報を決定し、前記第1濃度情報に基づき前記画像形成手段により形成されるべき画像の階調特性を調整し、
前記画像形成手段に第2キャリブレーション用のテスト画像を形成させ、前記検知手段により出力された前記第2キャリブレーション用の前記テスト画像からの反射光の受光結果に基づく第2信号を前記増幅手段に増幅させ、前記増幅された第2信号から第2決定条件に基づき第2濃度情報を決定し、前記第2濃度情報に基づき前記画像形成手段により形成されるべき画像の濃度ムラを調整し、
前記第2信号の増幅率は前記第1信号の増幅率よりも高い、ことを特徴とする画像形成装置。
続きを表示(約 1,200 文字)
【請求項2】
前記検知手段は、前記テスト画像を照明する発光手段をさらに有し、
前記発光手段が第1キャリブレーション用の前記テスト画像を照明する光の量は前記発光手段が第2キャリブレーション用の前記テスト画像を照明する光の量と異なる、ことを特徴とする請求項1に記載の画像形成装置。
【請求項3】
前記第1濃度情報として出力可能な濃度範囲は、前記第2濃度情報として出力可能な濃度範囲よりも広い、ことを特徴とする請求項1に記載の画像形成装置。
【請求項4】
前記第1決定条件は所定のビット数のデジタル信号を第1濃度範囲の前記第1濃度情報へ変換するために用いられる濃度変換テーブルであり、
前記第2決定条件は前記所定のビット数のデジタル信号を前記第1濃度範囲よりも狭い第2濃度範囲の前記第2濃度情報へ変換するために用いられる濃度変換テーブルである、ことを特徴とする請求項1に記載の画像形成装置。
【請求項5】
前記第1キャリブレーション用の前記テスト画像は複数の異なる階調を有する画像を有し、
前記第2キャリブレーション用の前記テスト画像は単一の階調を有する画像である、ことを特徴とする請求項1に記載の画像形成装置。
【請求項6】
搬送路にシートを搬送する搬送手段をさらに有し、
前記画像形成手段は前記搬送手段に搬送された前記シートに前記画像を形成し、
前記第2キャリブレーションは、前記搬送手段が前記シートを搬送する搬送方向に直交する方向の濃度ムラを調整するキャリブレーションである、ことを特徴とする請求項1に記載の画像形成装置。
【請求項7】
搬送路にシートを搬送する搬送手段をさらに有し、
前記画像形成手段は前記搬送手段に搬送された前記シートに前記画像を形成し、
前記第2キャリブレーションは、前記搬送手段が前記シートを搬送する搬送方向の濃度ムラを調整するキャリブレーションである、ことを特徴とする請求項1に記載の画像形成装置。
【請求項8】
前記第2濃度情報としての信号値の分解能は前記第1濃度情報としての信号値の分解能よりも高い、ことを特徴とする請求項1に記載の画像形成装置。
【請求項9】
前記画像形成手段は、入力された画像信号を階調補正条件に基づき変換する画像処理部を有し、前記変換された画像信号に基づいて前記画像を形成し、
前記制御手段は、前記第1キャリブレーションにおいて、前記第1濃度情報に基づいて前記階調補正条件を生成する、ことを特徴とする請求項1に記載の画像形成装置。
【請求項10】
前記画像形成手段は、入力された画像信号を補正値に基づき補正する画像処理部を有し、前記補正された画像信号に基づいて前記画像を形成し、
前記制御手段は、前記第2キャリブレーションにおいて、前記第2濃度情報に基づいて前記補正値を生成する、ことを特徴とする請求項1に記載の画像形成装置。
発明の詳細な説明
【技術分野】
【0001】
本発明は画像形成装置に関する。
続きを表示(約 2,500 文字)
【背景技術】
【0002】
画像形成装置は、読取装置が原稿を読み取ることにより読取装置のセンサから出力されるセンサ出力(輝度信号)値を濃度信号に変換し、該濃度信号に基づきシート上に画像を形成する(特許文献1)。また、異なる粒径のトナーが現像器に補給される画像形成装置は、濃度制御用の測定用画像が測定部により測定された結果(測定値)を、複数の変換特性の中から現像器内のトナー平均粒径に応じて選択された変換特性に基づいて変換している(特許文献2)。
【先行技術文献】
【特許文献】
【0003】
特開2001-249503号公報
特開2019-101302号公報
【発明の概要】
【発明が解決しようとする課題】
【0004】
入力信号を出力信号へ変換する変換部は、出力可能なデータサイズに制限がある。たとえば8ビットの出力信号(たとえば濃度信号)を出力可能な変換部は、0~255の256段階でしか出力信号を出力できない。これは、出力信号値の範囲を広くすると分解能が低下し、分解能を高くすると出力可能な出力信号値の範囲が狭くなってしまうことを意味する。
【0005】
画像形成装置により形成されるべき画像の階調特性を補正する場合には、変換部は低濃度から高濃度までの広い範囲の測定用画像の濃度信号を取得できなければならない。ところで、従来の画像形成装置は、測定用画像の濃度にかかわらず、常に同じ条件で測定用画像の濃度信号を取得していた。従来の画像形成装置は、階調特性を検知するため、低濃度から高濃度までの測定用画像を測定できるような条件を用いていた。しかし、濃度ムラを検知するための測定用画像は、階調特性を検知するための測定用画像(低濃度から高濃度までの測定用画像)よりも検知すべき濃度範囲が狭い。濃度ムラを検知する場合には、この狭い濃度範囲(特定の濃度範囲)において高い分解能で濃度信号が取得されるべきであろう。したがって、従来の画像形成装置においては、濃度ムラを高精度に検知することができなかった。そこで、本発明は、キャリブレーションの種類に適した変換を行うことを目的とする。
【課題を解決するための手段】
【0006】
本発明は、たとえば、
画像を形成する画像形成手段と、
前記画像形成手段により形成されたテスト画像からの反射光を受光し、前記テスト画像からの前記反射光の受光結果に基づく信号を出力する検知手段と、
前記検知手段から出力された前記信号を増幅する増幅手段と、
前記画像形成手段により形成されるべき画像の画質を調整するためにキャリブレーションを実施する制御手段と、を有し、
前記制御手段は、
前記画像形成手段に第1キャリブレーション用のテスト画像を形成させ、前記検知手段により出力された前記第1キャリブレーション用の前記テスト画像からの反射光の受光結果に基づく第1信号を前記増幅手段に増幅させ、前記増幅された第1信号から第1決定条件に基づき第1濃度情報を決定し、前記第1濃度情報に基づき前記画像形成手段により形成されるべき画像の階調特性を調整し、
前記画像形成手段に第2キャリブレーション用のテスト画像を形成させ、前記検知手段により出力された前記第2キャリブレーション用の前記テスト画像からの反射光の受光結果に基づく第2信号を前記増幅手段に増幅させ、前記増幅された第2信号から第2決定条件に基づき第2濃度情報を決定し、前記第2濃度情報に基づき前記画像形成手段により形成されるべき画像の濃度ムラを調整し、
前記第2信号の増幅率は前記第1信号の増幅率よりも高い、ことを特徴とする画像形成装置を提供する。
【発明の効果】
【0007】
本発明によれば、キャリブレーションの種類に適した変換を行うことが可能となる。
【図面の簡単な説明】
【0008】
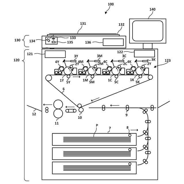
画像形成システムを説明する図である。
制御システムおよび画像処理システムを説明する図である。
プロセスカラーとスキャン画像のチャネルとの関係を示す図である。
輝度濃度変換テーブルを説明する図である。
輝度濃度変換テーブルを説明する拡大図である。
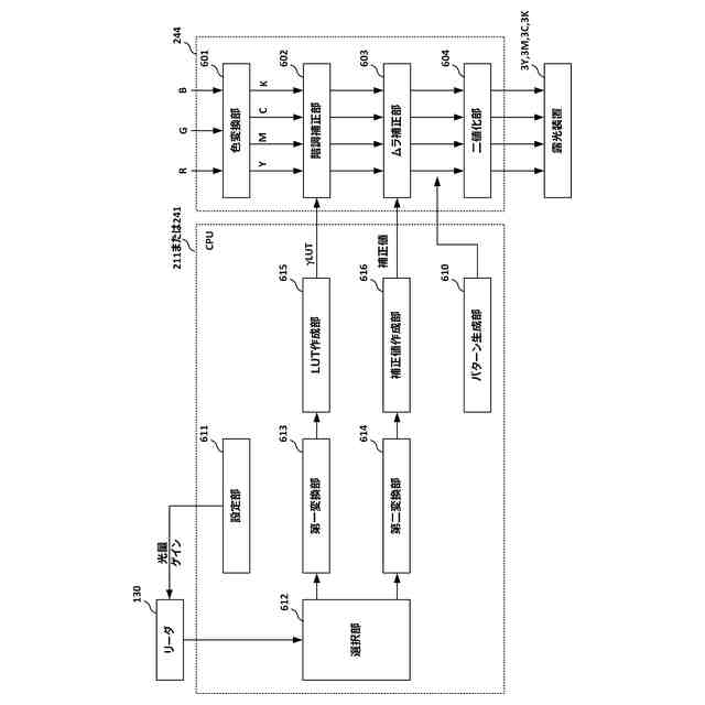
CPUの機能を説明する図である。
メニュー画面を説明する図である。
テストパターンを説明する図である。
階調補正テーブルの作成方法を示すフローチャートである。
濃度ムラを補正するための補正値の作成方法を示すフローチャートである。
画像形成システムを説明する図である。
制御システムおよび画像処理システムを説明する図である。
CPUの機能を説明する図である。
テストパターンを説明する図である。
階調補正テーブルの作成方法を示すフローチャートである。
濃度ムラを補正するための補正値の作成方法を示すフローチャートである。
【発明を実施するための形態】
【0009】
以下、添付図面を参照して実施形態を詳しく説明する。なお、以下の実施形態は特許請求の範囲に係る発明を限定するものではない。実施形態には複数の特徴が記載されているが、これらの複数の特徴の全てが発明に必須のものとは限らず、また、複数の特徴は任意に組み合わせられてもよい。さらに、添付図面においては、同一若しくは同様の構成に同一の参照番号を付し、重複した説明は省略する。
【0010】
1.実施例1
1-1.画像形成システム
図1が示すように、複写機100は画像形成システムの一例である。複写機100は、画像形成装置(以下、プリンタと呼ばれる)120と、画像処理装置122と、読取装置(以下、リーダと呼ばれる)130と、操作部140とを有している。
(【0011】以降は省略されています)
この特許をJ-PlatPat(特許庁公式サイト)で参照する
関連特許
キヤノン株式会社
トナー
2日前
キヤノン株式会社
トナー
1か月前
キヤノン株式会社
撮像装置
1か月前
キヤノン株式会社
撮像装置
17日前
キヤノン株式会社
収容装置
10日前
キヤノン株式会社
現像装置
1か月前
キヤノン株式会社
撮像装置
27日前
キヤノン株式会社
光学装置
1か月前
キヤノン株式会社
電子機器
1か月前
キヤノン株式会社
電子機器
1か月前
キヤノン株式会社
表示装置
9日前
キヤノン株式会社
定着装置
25日前
キヤノン株式会社
発光装置
9日前
キヤノン株式会社
記録装置
2日前
キヤノン株式会社
電子機器
6日前
キヤノン株式会社
記録装置
17日前
キヤノン株式会社
撮像装置
16日前
キヤノン株式会社
電子機器
27日前
キヤノン株式会社
撮像装置
18日前
キヤノン株式会社
定着装置
10日前
キヤノン株式会社
定着装置
25日前
キヤノン株式会社
定着装置
25日前
キヤノン株式会社
撮像装置
2日前
キヤノン株式会社
定着装置
16日前
キヤノン株式会社
撮像装置
10日前
キヤノン株式会社
電子機器
18日前
キヤノン株式会社
電子機器
10日前
キヤノン株式会社
電子機器
10日前
キヤノン株式会社
電子機器
25日前
キヤノン株式会社
記録装置
18日前
キヤノン株式会社
電子機器
4日前
キヤノン株式会社
現像剤容器
3日前
キヤノン株式会社
半導体装置
4日前
キヤノン株式会社
画像処理装置
3日前
キヤノン株式会社
画像形成装置
6日前
キヤノン株式会社
表示システム
3日前
続きを見る
他の特許を見る