TOP
|
特許
|
意匠
|
商標
特許ウォッチ
Twitter
他の特許を見る
10個以上の画像は省略されています。
公開番号
2025143848
公報種別
公開特許公報(A)
公開日
2025-10-02
出願番号
2024043309
出願日
2024-03-19
発明の名称
画像処理装置
出願人
キヤノン株式会社
代理人
弁理士法人秀和特許事務所
主分類
H04N
23/60 20230101AFI20250925BHJP(電気通信技術)
要約
【課題】撮像画像から所望の領域を高精度に切り出すことを可能にする技術を提供する。
【解決手段】本発明の画像処理装置は、撮像画像から被写体領域を検出する検出手段と、前記撮像画像に対応する距離マップを取得する取得手段と、前記被写体領域、前記距離マップ、および前記撮像画像から領域を切り出す際に指定された位置に基づいて、前記撮像画像から切り出す領域である切り出し領域を決定する決定手段とを有することを特徴とする。
【選択図】図7
特許請求の範囲
【請求項1】
撮像画像から被写体領域を検出する検出手段と、
前記撮像画像に対応する距離マップを取得する取得手段と、
前記被写体領域、前記距離マップ、および前記撮像画像から領域を切り出す際に指定された位置に基づいて、前記撮像画像から切り出す領域である切り出し領域を決定する決定手段と
を有することを特徴とする画像処理装置。
続きを表示(約 1,200 文字)
【請求項2】
前記検出手段は、学習済みモデルを用いて前記被写体領域を検出する
ことを特徴とする請求項1に記載の画像処理装置。
【請求項3】
前記撮像画像を表示面に表示する第1のモードを設定した状態で前記表示面に対して所定のタッチ操作が行われたことに応答して、設定する動作モードを、前記第1のモードから、前記撮像画像から領域を切り出す第2のモードに切り替える設定手段
をさらに有する
ことを特徴とする請求項1に記載の画像処理装置。
【請求項4】
前記所定のタッチ操作は、ロングタップ、ダブルタップ、スワイプ、フリック、またはドラッグである
ことを特徴とする請求項3に記載の画像処理装置。
【請求項5】
前記決定手段は、
前記指定された位置およびその周辺を含む領域について前記距離マップが示す複数の距離に基づいて、前記距離マップを加工し、
前記被写体領域と加工後の距離マップとに基づいて、前記切り出し領域を決定する
ことを特徴とする請求項1に記載の画像処理装置。
【請求項6】
前記決定手段は、前記複数の距離の平均値に基づいて、前記距離マップを加工する
ことを特徴とする請求項5に記載の画像処理装置。
【請求項7】
前記決定手段は、前記複数の距離のヒストグラムに基づいて、前記距離マップを加工する
ことを特徴とする請求項5に記載の画像処理装置。
【請求項8】
前記撮像画像から領域を切り出す際に、前記切り出し領域を識別可能に前記撮像画像を表示するように制御する制御手段
をさらに有する
ことを特徴とする請求項1に記載の画像処理装置。
【請求項9】
前記決定手段は、
前記指定された位置が前記被写体領域に含まれる場合に、前記指定された位置に基づく距離範囲の距離が前記距離マップによって示された領域を含まない切り出し領域を決定し、
前記指定された位置が前記被写体領域に含まれない場合に、前記指定された位置に基づく距離範囲が前記距離マップによって示された領域を含む切り出し領域を決定する
ことを特徴とする請求項1に記載の画像処理装置。
【請求項10】
前記決定手段は、
前記指定された位置が前記被写体領域に含まれる場合に、前記指定された位置に基づ
く距離範囲が前記距離マップによって示された領域を含まない第2の被写体領域を示すように前記距離マップを加工し、
前記指定された位置が前記被写体領域に含まれない場合に、前記指定された位置に基づく距離範囲が前記距離マップによって示された領域を含む第2の被写体領域を示すように前記距離マップを加工し、
前記被写体領域と前記第2の被写体領域とに基づいて、前記切り出し領域を決定することを特徴とする請求項1に記載の画像処理装置。
(【請求項11】以降は省略されています)
発明の詳細な説明
【技術分野】
【0001】
本発明は、画像処理装置に関し、特に撮像画像(撮像された画像)から領域を切り出す技術に関する。
続きを表示(約 1,800 文字)
【背景技術】
【0002】
撮像画像から被写体領域を切り出す技術が提案されている。非特許文献1には、撮像画像から被写体領域を切り出す学習済みモデルであるイメージマッティングが開示されている。また、撮像画像におけるデフォーカス量の分布に基づいて撮像画像から被写体領域を切り出す技術も提案されている。非特許文献2には、撮像画像から距離マップ(デフォーカス量の分布を示す二次元情報)を生成する学習済みモデルが開示されている。
【先行技術文献】
【非特許文献】
【0003】
“Deep image matting”, N.Xu, B.Price, S.Cohen, and T.Huang, Proc. IEEE Conference on CVPR, 2017
“Depth map prediction from a single image using a multi-scale deep network”,David Eigen, Christian Puhrsch, and Rob Fergus, NeurIPS,2014
【発明の概要】
【発明が解決しようとする課題】
【0004】
しかしながら、従来の方法では、所望の領域を高精度に切り出すことができない。例えば、イメージマッティングを使った方法では、人物およびその持ち物の領域を切り出すことをユーザが望んでいても、当該人物の領域のみが切り出され、当該持ち物の領域が切り出されないことがある。また、複数の人物のうちのいずれか(特定の人物)のみの領域を切り出すことをユーザが望んでいても、複数の人物の領域が切り出されることがある。距離マップを使った方法では、人物の髪の毛の領域または動物の毛の領域のように、背景に複雑に交じりあった領域は正確に切り出されない。
【0005】
本発明は、撮像画像から所望の領域を高精度に切り出すことを可能にする技術を提供することを目的とする。
【課題を解決するための手段】
【0006】
本発明の第1の態様は、撮像画像から被写体領域を検出する検出手段と、前記撮像画像に対応する距離マップを取得する取得手段と、前記被写体領域、前記距離マップ、および前記撮像画像から領域を切り出す際に指定された位置に基づいて、前記撮像画像から切り出す領域である切り出し領域を決定する決定手段とを有することを特徴とする画像処理装置である。
【0007】
本発明の第2の態様は、撮像画像から被写体領域を検出する検出ステップと、前記撮像画像に対応する距離マップを取得する取得ステップと、前記被写体領域、前記距離マップ、および前記撮像画像から領域を切り出す際に指定された位置に基づいて、前記撮像画像から切り出す領域である切り出し領域を決定する決定ステップとを有することを特徴とする画像処理方法である。
【0008】
本発明の第3の態様は、コンピュータを、上記画像処理装置の各手段として機能させるためのプログラムである。本発明の第4の態様は、コンピュータを、上記画像処理装置の各手段として機能させるためのプログラムを格納したコンピュータが読み取り可能な記憶
媒体である。
【発明の効果】
【0009】
本発明によれば、撮像画像から所望の領域を高精度に切り出すことが可能になる。
【図面の簡単な説明】
【0010】
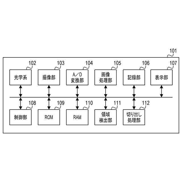
実施例1に係る画像処理装置のブロック図である。
実施例1に係る領域検出部のブロック図である。
実施例1に係るイメージマッティングと距離マップの模式図である。
実施例1に係る距離マップの加工の模式図である。
実施例1に係る切り出し処理部のブロック図である。
実施例1に係る更新前の切り出し領域重畳画像の模式図である。
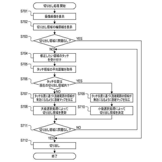
実施例1に係る切り出し処理のフローチャートである。
実施例1に係る距離マップの加工の模式図である。
実施例1に係る小値選択処理の模式図である。
実施例1に係る更新後の切り出し領域重畳画像の模式図である。
実施例2に係る領域検出部のブロック図である。
実施例2に係る小値選択処理の模式図である。
【発明を実施するための形態】
(【0011】以降は省略されています)
この特許をJ-PlatPat(特許庁公式サイト)で参照する
関連特許
キヤノン株式会社
容器
16日前
キヤノン株式会社
トナー
8日前
キヤノン株式会社
撮像装置
16日前
キヤノン株式会社
記録装置
1日前
キヤノン株式会社
雲台装置
8日前
キヤノン株式会社
電子機器
8日前
キヤノン株式会社
定着装置
1日前
キヤノン株式会社
記録装置
8日前
キヤノン株式会社
撮像装置
3日前
キヤノン株式会社
記録装置
8日前
キヤノン株式会社
撮像装置
9日前
キヤノン株式会社
撮像装置
8日前
キヤノン株式会社
定着装置
1日前
キヤノン株式会社
電子機器
3日前
キヤノン株式会社
定着装置
1日前
キヤノン株式会社
電子機器
8日前
キヤノン株式会社
測距装置
10日前
キヤノン株式会社
表示装置
16日前
キヤノン株式会社
露光ヘッド
1日前
キヤノン株式会社
液体収容体
10日前
キヤノン株式会社
液体収容体
11日前
キヤノン株式会社
画像形成装置
16日前
キヤノン株式会社
画像形成装置
16日前
キヤノン株式会社
画像形成装置
16日前
キヤノン株式会社
画像形成装置
8日前
キヤノン株式会社
画像形成装置
8日前
キヤノン株式会社
画像形成装置
8日前
キヤノン株式会社
画像形成装置
16日前
キヤノン株式会社
画像形成装置
9日前
キヤノン株式会社
画像形成装置
11日前
キヤノン株式会社
画像処理装置
11日前
キヤノン株式会社
画像形成装置
9日前
キヤノン株式会社
画像形成装置
3日前
キヤノン株式会社
画像形成装置
3日前
キヤノン株式会社
画像形成装置
8日前
キヤノン株式会社
視線検出装置
10日前
続きを見る
他の特許を見る