TOP
|
特許
|
意匠
|
商標
特許ウォッチ
Twitter
他の特許を見る
10個以上の画像は省略されています。
公開番号
2025147550
公報種別
公開特許公報(A)
公開日
2025-10-07
出願番号
2024047847
出願日
2024-03-25
発明の名称
画像形成装置
出願人
キヤノン株式会社
代理人
弁理士法人中川国際特許事務所
主分類
B41J
29/00 20060101AFI20250930BHJP(印刷;線画機;タイプライター;スタンプ)
要約
【課題】装置本体に格納可能な操作パネルを装置本体に格納した場合であっても、画像形成装置の状態のユーザーへの報知性能が低下することを抑制すること。
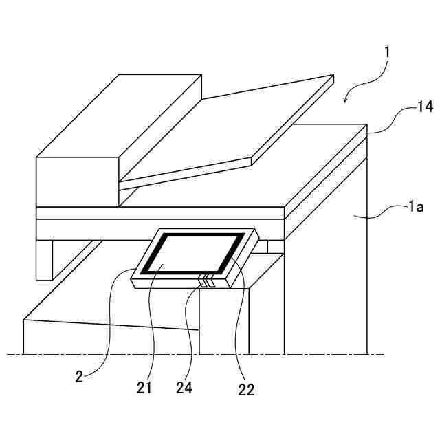
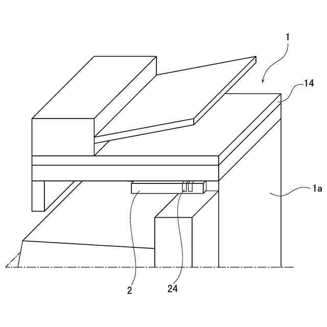
【解決手段】画像形成装置1は、画像形成に関する情報を表示する表示部21と、画像形成装置1の状態を報知する状態表示部24と、を有する操作パネル2を備える。操作パネル2は、表示部21の全部が装置本体1aから露出する第1の位置と、表示部21の少なくとも一部が装置本体1aの外部から視認できないように装置本体1aの内部に格納される第2の位置と、の間で移動可能に装置本体1aに設けられる。状態表示部24は、操作パネル2が第2の位置に位置する場合において、装置本体1aの外部から視認可能な位置に設けられる。
【選択図】図2
特許請求の範囲
【請求項1】
記録材に画像を形成する画像形成装置であって、
記録材に画像を形成する画像形成部を有する装置本体と、
画像形成に関する情報を表示する表示部と、前記画像形成装置の状態を報知する報知部とを有する操作部であって、前記表示部の全部が前記装置本体から露出する第1の位置と、前記表示部の少なくとも一部が前記装置本体の外部から視認できないように前記装置本体の内部に格納される第2の位置と、の間で移動可能に前記装置本体に設けられる操作部と、
を備え、
前記報知部は、
前記操作部が前記第2の位置に位置する場合において、前記装置本体の外部から視認可能な位置に設けられる、
ことを特徴とする画像形成装置。
続きを表示(約 1,000 文字)
【請求項2】
前記報知部は、
光を発する発光部を有し、前記画像形成装置の状態を前記発光部の発光によって報知する、
ことを特徴とする請求項1に記載の画像形成装置。
【請求項3】
前記発光部は、
光量を調整可能であり、前記操作部が前記第1の位置に位置する場合において第1の光量で発光し、前記操作部が前記第2の位置に位置する場合において前記第1の光量よりも大きい第2の光量で発光する、
ことを特徴とする請求項2に記載の画像形成装置。
【請求項4】
前記操作部は、
前記第1の位置と、前記第2の位置と、前記表示部の全部が外部から視認されないように前記装置本体の内部に格納された第3の位置と、に移動可能である、
ことを特徴とする請求項3に記載の画像形成装置。
【請求項5】
前記発光部は、
前記操作部が前記第3の位置に位置する場合において前記第2の光量よりも大きい第3の光量で発光する、
ことを特徴とする請求項4に記載の画像形成装置。
【請求項6】
前記報知部は、
音を発する音発生部を有し、前記画像形成装置の状態を前記音発生部が発する音によって報知する、
ことを特徴とする請求項1に記載の画像形成装置。
【請求項7】
前記音発生部は音量を変更可能であり、前記操作部が前記第1の位置に位置する場合において第1の音量で音を発し、前記操作部が前記第2の位置に位置する場合において前記第1の音量よりも大きい第2の音量で音を発する、
ことを特徴とする請求項6に記載の画像形成装置。
【請求項8】
前記操作部は、
前記第1の位置と、前記第2の位置と、前記表示部の全部が外部から視認されないように前記装置本体の内部に格納された第3の位置と、に移動可能である、
ことを特徴とする請求項7に記載の画像形成装置。
【請求項9】
前記音発生部は、
前記操作部が前記第3の位置に位置する場合において前記第2の音量よりも大きい第3の音量で音を発する、
ことを特徴とする請求項8に記載の画像形成装置。
【請求項10】
前記装置本体より外部に常時露出して設けられる報知装置に対して、前記報知部により前記画像形成装置の状態を報知するタイミングに同期して前記画像形成装置の状態を報知させる制御を行う制御部を有する、
ことを特徴とする請求項1に記載の画像形成装置。
発明の詳細な説明
【技術分野】
【0001】
本発明は、操作パネルを有する画像形成装置に関する。
続きを表示(約 1,900 文字)
【背景技術】
【0002】
従来、記録媒体に画像を形成する画像形成装置は、画像形成動作の進行状況又は各種の設定内容等の情報を表示するためのディスプレイを備える操作パネルを有している。近年、このような画像形成装置は、ディスプレイの視認性を向上させたり、表示する情報量を増大させるために、操作パネルを大型化していく傾向にある。
【0003】
特許文献1は、表面にタッチパネルを有する可撓性を有するディスプレイの一部を収納部に収納すると共に、必要に応じてディスプレイを収納部より引き出すことにより、大きい画面が必要な場合に画面を拡大することができる画像形成装置を開示している。また、特許文献2は、画像形成装置の状態を表示するために、予め定められた色で発光する発光部を表示装置に備える画像形成装置を開示している。
【先行技術文献】
【特許文献】
【0004】
特開2021-53818号公報
特開2018-12224号公報
【発明の概要】
【発明が解決しようとする課題】
【0005】
しかしながら、特許文献1に開示されている収納部に収納される操作パネルに対して特許文献2に開示されている発光部を設ける場合においては、操作パネルの配置によってはユーザーに対する十分な報知効果を得られないという課題を有する。特に、操作パネルの収納部に収納される部分に発光部を設けた場合には、操作パネルを収納部に収納した際に報知性能が大幅に低下してしまうという課題を有する。
【0006】
本発明の目的は、装置本体に格納可能な操作パネルを装置本体に格納した場合であっても、画像形成装置の状態のユーザーへの報知性能が低下することを抑制することができる画像形成装置を提供することである。
【課題を解決するための手段】
【0007】
本発明に係る画像形成装置は、記録材に画像を形成する画像形成装置であって、記録材に画像を形成する画像形成部を有する装置本体と、画像形成に関する情報を表示する表示部と、前記画像形成装置の状態を報知する報知部とを有する操作部であって、前記表示部の全部が前記装置本体から露出する第1の位置と、前記表示部の少なくとも一部が前記装置本体の外部から視認できないように前記装置本体の内部に格納される第2の位置と、の間で移動可能に前記装置本体に設けられる操作部と、を備え、前記報知部は、前記操作部が前記第2の位置に位置する場合において、前記装置本体の外部から視認可能な位置に設けられる、ことを特徴とする。
【発明の効果】
【0008】
本発明によれば、装置本体に格納可能な操作パネルを装置本体に格納した場合であっても、画像形成装置の状態のユーザーへの報知性能が低下することを抑制することができる。
【図面の簡単な説明】
【0009】
本発明の実施の形態1に係る画像形成装置の模式図である。
本発明の実施の形態1に係る画像形成装置の操作パネルが格納状態である場合斜視図である。
本発明の実施の形態1に係る画像形成装置の操作パネルの斜視図である。
本発明の実施の形態1に係る画像形成装置の操作パネルが露出状態且つ回動前の状態の斜視図である。
本発明の実施の形態1に係る画像形成装置の操作パネルが露出状態且つ回動後の状態の斜視図である。
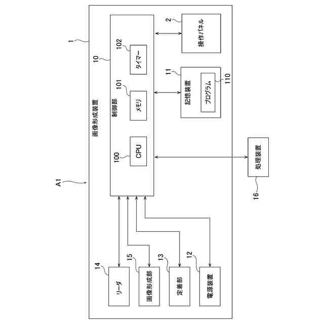
本発明の実施の形態1に係る画像形成装置を有する画像形成システムの構成を示すブロック図である。
本発明の実施の形態1に係る画像形成装置の操作パネルの構成を示すブロック図である。
本発明の実施の形態に係る画像形成装置の操作パネルの動作を示す図である。
本発明の実施の形態に係る画像形成装置が実行するパネル状態検知処理のフロー図である。
本発明の実施の形態1に係る画像形成装置が実行する光量補正処理のフロー図である。
本発明の実施の形態2に係る画像形成装置を有する画像形成システムの構成を示すブロック図である。
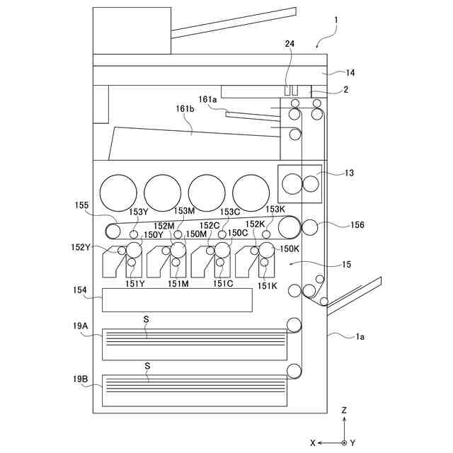
本発明の実施の形態2に係る画像形成装置の一部の斜視図である。
本発明の実施の形態2に係る画像形成装置が実行するランプ連動処理のフロー図である。
【発明を実施するための形態】
【0010】
以下、実施の形態について図面を参照して詳細に説明する。
(【0011】以降は省略されています)
この特許をJ-PlatPat(特許庁公式サイト)で参照する
関連特許
キヤノン株式会社
容器
1日前
キヤノン株式会社
トナー
17日前
キヤノン株式会社
トナー
4日前
キヤノン株式会社
トナー
22日前
キヤノン株式会社
トナー
17日前
キヤノン株式会社
トナー
17日前
キヤノン株式会社
表示装置
29日前
キヤノン株式会社
現像装置
15日前
キヤノン株式会社
定着装置
16日前
キヤノン株式会社
記録装置
1日前
キヤノン株式会社
撮像装置
1日前
キヤノン株式会社
撮像装置
1日前
キヤノン株式会社
現像容器
15日前
キヤノン株式会社
撮像装置
1日前
キヤノン株式会社
電子機器
26日前
キヤノン株式会社
撮像装置
22日前
キヤノン株式会社
電子機器
24日前
キヤノン株式会社
記録装置
15日前
キヤノン株式会社
現像装置
15日前
キヤノン株式会社
記録装置
22日前
キヤノン株式会社
撮像装置
18日前
キヤノン株式会社
現像装置
8日前
キヤノン株式会社
撮影装置
15日前
キヤノン株式会社
発光装置
29日前
キヤノン株式会社
現像容器
15日前
キヤノン株式会社
測距装置
10日前
キヤノン株式会社
光学センサ
17日前
キヤノン株式会社
半導体装置
24日前
キヤノン株式会社
現像剤容器
23日前
キヤノン株式会社
モジュール
17日前
キヤノン株式会社
画像形成装置
4日前
キヤノン株式会社
電子写真装置
8日前
キヤノン株式会社
映像表示装置
26日前
キヤノン株式会社
画像形成装置
23日前
キヤノン株式会社
画像形成装置
26日前
キヤノン株式会社
画像形成装置
26日前
続きを見る
他の特許を見る