TOP
|
特許
|
意匠
|
商標
特許ウォッチ
Twitter
他の特許を見る
10個以上の画像は省略されています。
公開番号
2025141153
公報種別
公開特許公報(A)
公開日
2025-09-29
出願番号
2024040947
出願日
2024-03-15
発明の名称
映像表示装置
出願人
キヤノン株式会社
代理人
個人
,
個人
,
個人
,
個人
,
個人
主分類
G02B
27/02 20060101AFI20250919BHJP(光学)
要約
【課題】 光学素子がもつ光学特性の影響がより小さい、きれいな映像を使用者に表示できる映像表示装置を提供する。
【解決手段】 使用者の右眼および左眼に対して第1および第2の映像をそれぞれ表示する第1および第2の映像表示部と、第1および第2の映像表示部にそれぞれ対応する第1および第2の表示光学素子である。加えて、少なくとも1つ以上の前記表示光学素子及び対応する前記映像表示部の、相対的な位置を変えるアクチュエータとを備え、第1および第2の映像表示部の一部であって、第1および第2の映像表示部における表示光学素子の光軸と交差する領域に表示されている像が供える深度情報に対応して、アクチュエータを駆動するように構成されている。そしてアクチュエータを駆動することで、表示光学素子の位置及び対応する映像表示部の位置を相対的に変える映像表示装置を提供する。
【選択図】 図1
特許請求の範囲
【請求項1】
使用者の右眼および左眼に対して第1および第2の映像をそれぞれ表示する第1および第2の映像表示部と、
前記第1および第2の映像表示部にそれぞれ対応する第1および第2の表示光学素子と、
少なくとも1つ以上の前記表示光学素子及び対応する前記映像表示部の、相対的な位置を変えるアクチュエータと、
を備える映像表示装置であって、
前記第1および第2の映像表示部の一部であって、前記第1および第2の映像表示部における前記表示光学素子の光軸と交差する領域に表示されている像が供える深度情報に対応して、前記アクチュエータを駆動することで、前記表示光学素子の位置及び対応する前記映像表示部の位置を相対的に変えることを特徴とする映像表示装置。
続きを表示(約 830 文字)
【請求項2】
前記領域は、前記映像表示部が備える表示領域の50%以下の領域であることを特徴とする請求項1に記載の映像表示装置。
【請求項3】
前記領域は、前記表示領域の面積を100%としたとき、50%以下の面積を占める領域である請求項2に記載の映像表示装置。
【請求項4】
前記領域は、矩形状の前記映像表示部の一方の幅を100%としたとき、50%以下の幅に対応する領域である請求項2に記載の映像表示装置。
【請求項5】
前記表示光学素子の光軸と交差する領域の映像の深度情報は、前記第1および第2の映像表示部に表示された対象物の距離情報も含むことを特徴とする請求項1または2に記載の映像表示装置。
【請求項6】
前記映像表示装置の姿勢を検出する検出部をさらに備え、前記姿勢の検出結果に応じて前記領域に表示する映像情報を決定することを特徴とする請求項1または2に記載の映像表示装置。
【請求項7】
前記アクチュエータは振動体と前記振動体と接する接触体を備えた振動型モータであり、
前記姿勢を検出するときに、前記振動型モータの保持トルクにより前記表示光学素子を保持することを特徴とする請求項6記載の映像表示装置。
【請求項8】
前記使用者の視力情報に基づき前記表示光学素子の位置を変える補正部をさらに設けたことを特徴とする請求項1記載の映像表示装置。
【請求項9】
前記補正部は、前記使用者の視力情報に加えて、前記像が供える深度情報に基づいて前記表示光学素子の位置を変える請求項8記載の映像表示装置。
【請求項10】
前記像が供える深度情報の変化を算出する変動処理部を備え、
前記変化が閾値を超えた時に前記アクチュエータを駆動する請求項1または2記載の映像表示装置。
(【請求項11】以降は省略されています)
発明の詳細な説明
【技術分野】
【0001】
本発明は、映像表示装置に関する。
続きを表示(約 1,500 文字)
【背景技術】
【0002】
使用者が頭部に装着して使用する映像表示装置や、使用者が眼鏡のように装着して使用する映像表示装置がある。使用者の眼の近傍に表示部が配置され、使用者の左右それぞれの眼に対して視差映像の表示処理が行われる。視差映像は映像に遠くを見ているか、近くを見ているかの深度情報が含まれており、表示される視差映像を使用者が視認することによって、視差映像に表示された物体についての立体感がある映像が得られる。
【0003】
この映像表示装置で使用者の視線は左右それぞれの眼に対して表示された映像によって生成される立体映像の位置に調節されるが、焦点位置は表示画面上の左右各々の画像に固定している。これは現実の物体を視認する場合には生じ得ない不自然な状態となる。
【0004】
例えば、視差映像として表示される物体の像を使用者が見ると、使用者の輻輳角は、その物体の位置に応じて変化する。この時、現実空間での経験に基づいて水晶体の焦点距離は輻輳角の大きさに応じて変化する。この場合、水晶体の焦点距離と映像表示装置の固定された視度とが不一致となる可能性があり、表示された視差映像に焦点が合わず、鮮明に見ることが困難となる等、良好な視認性が確保できないことがある。そのため、映像表示装置の視度調整では、装置内のレンズを駆動する方法等により、使用者の輻輳角を定める視差映像内の深度情報に応じて視度を変更することが望ましい。
【0005】
特許文献1では、映像を視聴した際の使用者の注視点の位置に応じた深度情報に対する視度調整を、個人差や映像表示装置の使用状態に対応して行うことで、立体視時の違和感を低減することを可能としている。
【0006】
また、特許文献2では、視線センサを設け、使用者の視線位置にある画像の深度情報に対する視度調整をするもので、視線方向の映像を見えやすくするようなシステム構成となっている。
【0007】
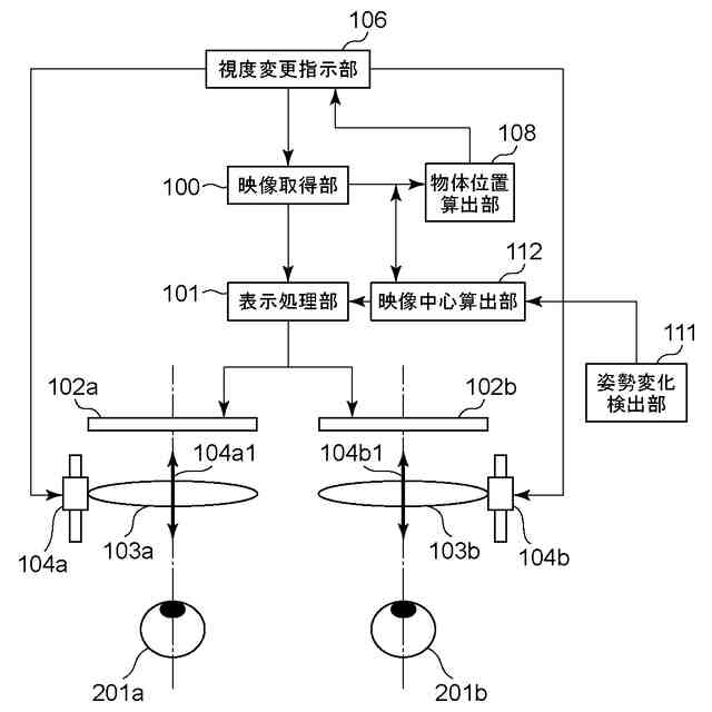
ここで特許文献1の光学系について、図9を参照して説明する。
【0008】
図9は、特許文献1に示される映像表示装置10の概略構成を示す図である。
【0009】
映像データ取得部100、表示処理部101、視度変更指示部106、物体位置算出部108、使用者情報記録部109、動作モード記録部110は例えばCPU等の1つ以上のプロセッサがプログラムを読出し実行することで実現される。映像表示装置10を、使用者が頭部に装着して使用する形態と、眼鏡のように装着して使用する形態がある。いずれの形態でも、使用者の左眼2a,右眼2bに対して近傍に映像表示装置1を固定することができる。なお、使用者の左眼2aに関連する構成要素の符号には記号aを付記し、使用者の右眼2bに関連する構成要素の符号には記号bを付記することによって区別する。
【0010】
映像表示装置1は映像データ取得部100と表示処理部101を備える。映像データ取得部100は表示用の映像データを外部装置やネットワーク等を通じて取得する。表示処理部101は取得された映像データに対して表示倍率の調整処理等を行う。処理された映像データは、2つの表示部102a,102bに送られて表示される。例えば、映像データを2つの表示部102a,102bへの各データに分割して表示する構成がある。この構成に限定されることなく、1つの表示部の画面を2つに分割して、分割された画面に映像データを表示する構成でもよい。このような右目と左目に合わせた映像処理により、ユーザーは違和感無く映像を見ることが可能となっている。
(【0011】以降は省略されています)
この特許をJ-PlatPat(特許庁公式サイト)で参照する
関連特許
キヤノン株式会社
容器
1日前
キヤノン株式会社
トナー
4日前
キヤノン株式会社
トナー
17日前
キヤノン株式会社
トナー
17日前
キヤノン株式会社
トナー
17日前
キヤノン株式会社
現像装置
15日前
キヤノン株式会社
撮像装置
1日前
キヤノン株式会社
撮像装置
1日前
キヤノン株式会社
撮像装置
1日前
キヤノン株式会社
定着装置
16日前
キヤノン株式会社
記録装置
1日前
キヤノン株式会社
撮影装置
15日前
キヤノン株式会社
現像装置
15日前
キヤノン株式会社
現像容器
15日前
キヤノン株式会社
測距装置
10日前
キヤノン株式会社
現像装置
8日前
キヤノン株式会社
記録装置
15日前
キヤノン株式会社
現像容器
15日前
キヤノン株式会社
モジュール
17日前
キヤノン株式会社
画像形成装置
16日前
キヤノン株式会社
画像処理装置
15日前
キヤノン株式会社
画像形成装置
11日前
キヤノン株式会社
画像形成装置
1日前
キヤノン株式会社
電子写真装置
8日前
キヤノン株式会社
画像形成装置
16日前
キヤノン株式会社
情報処理装置
15日前
キヤノン株式会社
画像形成装置
8日前
キヤノン株式会社
画像形成装置
9日前
キヤノン株式会社
画像形成装置
8日前
キヤノン株式会社
画像形成装置
16日前
キヤノン株式会社
カートリッジ
15日前
キヤノン株式会社
画像形成装置
2日前
キヤノン株式会社
印刷システム
3日前
キヤノン株式会社
画像形成装置
15日前
キヤノン株式会社
画像形成装置
15日前
キヤノン株式会社
カートリッジ
15日前
続きを見る
他の特許を見る