TOP
|
特許
|
意匠
|
商標
特許ウォッチ
Twitter
他の特許を見る
10個以上の画像は省略されています。
公開番号
2025153263
公報種別
公開特許公報(A)
公開日
2025-10-10
出願番号
2024055648
出願日
2024-03-29
発明の名称
カートリッジ
出願人
キヤノン株式会社
代理人
個人
,
個人
,
個人
,
個人
,
個人
主分類
G03G
15/08 20060101AFI20251002BHJP(写真;映画;光波以外の波を使用する類似技術;電子写真;ホログラフイ)
要約
【課題】 現像室が現像剤収容室の下方に配置された構成において、トナーの循環性能を向上させる。
【解決手段】 画像形成装置に装着され画像の形成に使用される姿勢において、現像室は収容室に対して下方に設けられ、開口部の少なくとも一部は供給ローラより上方にあって、撹拌軸は開口部より上方にあって、撹拌軸の回転中心を通る仮想線に対し、第二撹拌シート部材は第一撹拌シート部材の設けられている側の反対側に設けられ、且つ、第一撹拌シート部材及び第二撹拌シート部材の長さは共に、撹拌軸が回転するとき、それぞれの他端が開口部に到達可能な長さとする。
【選択図】 図1
特許請求の範囲
【請求項1】
画像形成装置に装着されて画像の形成に使用されるカートリッジであって、
トナーを収容する収容室と、
回転可能に構成されトナーを担持する現像ローラと、
回転可能に構成され前記現像ローラに対してトナーを供給する供給ローラと、
前記収容室と開口部を通して連通し、前記現像ローラと前記供給ローラとが配置される現像室と、
前記収容室の内部に設けられ、トナーを撹拌する撹拌部材と、
を備え、前記撹拌部材は、
回転する撹拌軸と、
前記撹拌軸に一端が固定され他端が自由端でありシート状の第一撹拌シート部材と、
前記撹拌軸に一端が固定され他端が自由端でありシート状の第二撹拌シート部材と、
を備え、
前記撹拌軸の回転軸線の方向から見たとき、
前記画像形成装置に装着され画像の形成に使用される姿勢において、
前記現像室は前記収容室に対して下方に設けられ、
前記開口部の少なくとも一部は前記供給ローラより上方にあって、
前記撹拌軸は前記開口部より上方にあって、
前記撹拌軸の回転中心を通る仮想線に対し、
前記第二撹拌シート部材は前記第一撹拌シート部材の設けられている側の反対側に設けられ、
且つ、前記第一撹拌シート部材及び前記第二撹拌シート部材の長さは共に、前記撹拌軸が回転するとき、それぞれの前記他端が前記開口部に到達可能な長さである、
ことを特徴とするカートリッジ。
続きを表示(約 650 文字)
【請求項2】
前記第一撹拌シート部材と前記第二撹拌シート部材とは、ポリカーボネートまたはポリフェニレンサルファイドからなり、厚みが50μm以上200μm以下のシートである、
ことを特徴とする、請求項1に記載のカートリッジ。
【請求項3】
前記撹拌部材が前記回転中心まわりに回転するとき、
第一の位相においては、前記第一撹拌シート部材及び前記第二撹拌シート部材とが前記収容室の内壁に共に当接し、
第二の位相においては、前記第一撹拌シート部材が前記収容室の前記内壁に当接し、前記第二撹拌シート部材が前記収容室の前記内壁に当接しない、
ことを特徴とする請求項1に記載のカートリッジ。
【請求項4】
前記撹拌部材は、シート状の封止部材を更に備え、
前記封止部材は、一端が前記第一撹拌シート部材に固定され、他端が新品状態において前記開口部を封止可能に構成され、
前記撹拌軸の前記回転軸線の方向において前記封止部材の幅は前記第一撹拌シート部材より短く、
前記封止部材の厚さは前記第一撹拌シート部材より薄い、
ことを特徴とする請求項3に記載のカートリッジ。
【請求項5】
前記封止部材は、前記第一撹拌シート部材に対し両面テープで固定され、
前記第一撹拌シート部材及び前記第二撹拌シート部材は、前記撹拌軸に対し熱カシメで固定されている、
ことを特徴とする請求項4に記載のカートリッジ。
発明の詳細な説明
【技術分野】
【0001】
本発明は、記録媒体に画像を形成するために用いられる画像形成装置のカートリッジに関する。
続きを表示(約 1,800 文字)
【背景技術】
【0002】
従来、電子写真画像形成プロセスを用いた画像形成装置においては、現像カートリッジ、プロセスカートリッジ等のカートリッジを画像形成装置本体に着脱し使用を可能とするカートリッジ方式が採用されている。このようなカートリッジの現像装置の一例として、現像ローラや現像剤供給ローラを有する現像室と、現像剤を収容する現像剤収容室とに分かれており、現像室と現像剤収容室を連結するための開口部を有している現像装置がある。
【0003】
特許文献1では、現像室が現像剤収容室の下方に配置され、現像剤収容室内部に配置された撹拌部材で現像剤を現像室に搬送する構成が提案されている。
【先行技術文献】
【特許文献】
【0004】
特開2022-130369号公報
【発明の概要】
【発明が解決しようとする課題】
【0005】
本発明は、従来の構成をさらに発展させたものであり、現像剤収容室が現像室の上方に配置された構成において、トナーの循環性能を向上させることである。
【課題を解決するための手段】
【0006】
上記課題を解決するため、本出願のカートリッジは、画像形成装置に装着されて画像の形成に使用されるカートリッジであって、トナーを収容する収容室と、回転可能に構成されトナーを担持する現像ローラと、回転可能に構成され前記現像ローラに対してトナーを供給する供給ローラと、前記収容室と開口部を通して連通し、前記現像ローラと前記供給ローラとが配置される現像室と、前記収容室の内部に設けられ、トナーを撹拌する撹拌部材と、を備え、前記撹拌部材は、回転する撹拌軸と、前記撹拌軸に一端が固定され他端が自由端でありシート状の第一撹拌シート部材と、前記撹拌軸に一端が固定され他端が自由端でありシート状の第二撹拌シート部材と、を備え、前記撹拌軸の回転軸線の方向から見たとき、前記画像形成装置に装着され画像の形成に使用される姿勢において、前記現像室は前記収容室に対して下方に設けられ、前記開口部の少なくとも一部は前記供給ローラより上方にあって、前記撹拌軸は前記開口部より上方にあって、前記撹拌軸の回転中心を通る仮想線に対し、前記第二撹拌シート部材は前記第一撹拌シート部材の設けられている側の反対側に設けられ、且つ、前記第一撹拌シート部材及び前記第二撹拌シート部材の長さは共に、前記撹拌軸が回転するとき、それぞれの前記他端が前記開口部に到達可能な長さである、ことを特徴とする。
【発明の効果】
【0007】
本発明によれば、現像室が現像剤収容室の下方に配置された構成において、トナーの循環性能を向上させることができる。
【図面の簡単な説明】
【0008】
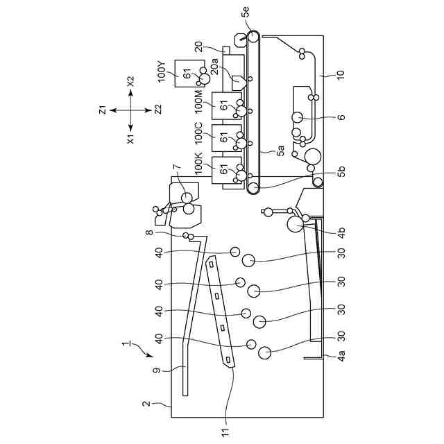
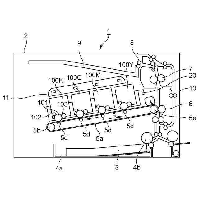
本発明に係る現像ユニットの構成を説明する断面図である。
本発明に係る画像形成装置の断面概略図である。
本発明に係るプロセスカートリッジの断面図である。
本発明に係る画像形成装置の断面図である。
本発明に係る画像形成装置の断面図である。
本発明に係る画像形成装置の断面図である。
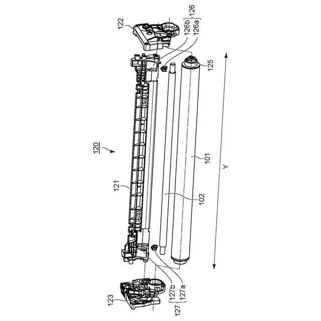
本発明に係るドラムユニットの分解斜視図である。
本発明に係る現像ユニットの分解斜視図である
本発明に係るプロセスカートリッジの組立斜視図である。
本発明に係るプロセスカートリッジの斜視図である。
本発明に係る第1の枠体を説明する図である。
本発明に係る第2の枠体を説明する図である。
本発明に係る撹拌部材を説明する図である。
本発明に係る現像ユニット内部のトナーの状態を説明する図である。
【発明を実施するための形態】
【0009】
以下、本発明の実施の形態を図面に基づいて詳細に説明する。
【0010】
ただし、この実施例に記載されている構成部品の機能、材質、形状、寸法その相対配置などは、発明が適用される装置の構成や各種条件などにより適宜変更されるべきものであり、特定の記載がない限りは、この発明の範囲をそれらのみに限定する趣旨のものではない。
(【0011】以降は省略されています)
この特許をJ-PlatPat(特許庁公式サイト)で参照する
関連特許
他の特許を見る