TOP
|
特許
|
意匠
|
商標
特許ウォッチ
Twitter
他の特許を見る
10個以上の画像は省略されています。
公開番号
2025140292
公報種別
公開特許公報(A)
公開日
2025-09-29
出願番号
2024039600
出願日
2024-03-14
発明の名称
画像形成装置
出願人
キヤノン株式会社
代理人
弁理士法人秀和特許事務所
主分類
G03G
21/14 20060101AFI20250919BHJP(写真;映画;光波以外の波を使用する類似技術;電子写真;ホログラフイ)
要約
【課題】ドラムクリーナレス方式の画像形成装置において、帯電ローラに付着したトナーを好適に除去するための技術を提供する。
【解決手段】像担持体、帯電部材、現像部材、転写部材および制御部を有し、転写部において像担持体表面のトナー像が被転写体に転写された後、像担持体表面の残留トナーが現像部材により回収され、制御部は、画像形成動作、第1の清掃動作および第2の清掃動作を実施可能であり、第1の清掃動作においては帯電部材に付着したトナーが現像部材に回収され、第2の清掃動作においては帯電部材に付着したトナーが転写部を通過する被転写体に排出される画像形成装置を用いる。
【選択図】図7
特許請求の範囲
【請求項1】
回転可能な像担持体と、
前記像担持体と接触して帯電部を形成し、前記帯電部において前記像担持体の表面を帯電する帯電部材と、
前記像担持体と接触して現像部を形成し、前記現像部において前記像担持体の表面に正規極性に帯電したトナーを供給することによって、前記像担持体の表面に画像情報に基づいて形成された静電潜像を現像してトナー像を形成する、回転可能な現像部材と、
前記像担持体と対向し、前記像担持体との間で転写部を形成し、前記転写部において前記トナー像を前記像担持体から被転写体に転写する転写部材と、
前記帯電部材に帯電電圧を印加する帯電電圧印加手段と、
前記現像部材に現像電圧を印加する現像電圧印加手段と、
前記転写部材に転写電圧を印加する転写電圧印加手段と、
前記帯電電圧印加手段と前記現像電圧印加手段と前記転写電圧印加手段と、を制御する制御部と、
を有し、
前記転写部において前記像担持体の表面に形成された前記トナー像が前記被転写体に転写された後、前記像担持体の表面に残留したトナーが前記現像部材により回収されるものであり、
前記制御部は、前記被転写体に前記静電潜像から現像された前記トナー像を形成する画像形成動作と、前記帯電部材を清掃する清掃動作と、を実施することが可能であり、
前記清掃動作は、第1の清掃動作と第2の清掃動作を含み、前記画像形成動作とは異なる非画像形成動作を実行するタイミングで実行され、
前記第1の清掃動作においては、前記帯電部材に付着したトナーが前記現像部材に回収され、
前記第2の清掃動作においては、前記帯電部材に付着したトナーは、前記転写部を通過する前記被転写体に排出される
ことを特徴とする画像形成装置。
続きを表示(約 800 文字)
【請求項2】
前記制御部は、
前記第1の清掃動作の際は、前記現像電圧が前記正規極性とは逆極性になり、前記帯電電圧が前記正規極性かつ放電開始電圧以下となるように、制御を行い、
前記第2の清掃動作の際は、前記現像電圧が前記正規極性とは逆極性になり、前記転写電圧が前記正規極性とは逆極性になり、前記帯電電圧が前記正規極性となるように、制御を行う
ことを特徴とする請求項1に記載の画像形成装置。
【請求項3】
前記制御部は、前記第2の清掃動作において、前記転写電圧が放電開始電圧よりも低くなるように、制御を行う
ことを特徴とする請求項1または2に記載の画像形成装置。
【請求項4】
前記像担持体の回転方向において、前記転写部より下流側かつ前記帯電部よりも上流側に配置され、前記像担持体の表面を除電する除電部材をさらに有し、
前記制御部は、前記清掃動作において、前記除電部材により前記像担持体の表面を除電する
ことを特徴とする請求項1または2に記載の画像形成装置。
【請求項5】
前記現像部材が前記現像部に供給するためのトナーを収容するトナー収容部をさらに有し、
前記トナー収容部には、トナー補給容器からトナーが補給され、
前記制御部は、前記トナー補給容器から前記トナー収容部にトナーが補給されたとき、前記清掃動作を実行するように制御する
ことを特徴とする請求項1または2に記載の画像形成装置。
【請求項6】
前記被転写体は、画像が転写された後に前記画像形成装置から排出される転写材であることを特徴とする請求項1または2に記載の画像形成装置。
【請求項7】
前記被転写体は、中間転写体である
ことを特徴とする請求項1または2に記載の画像形成装置。
発明の詳細な説明
【技術分野】
【0001】
本発明は、画像形成装置に関する。
続きを表示(約 2,300 文字)
【背景技術】
【0002】
従来から、複写機やレーザープリンターなど、感光ドラムを有し、電子写真プロセスにより画像を形成する画像形成装置が用いられている。このような画像形成装置のクリーニング方式の1つとして、感光ドラムに専用のトナークリーニング手段を設けない、ドラムクリーナレス方式がある。ドラムクリーナレス方式の画像形成装置では、現像手段が、転写後の感光ドラム上に残留した転写残トナーなどを回収するための回収手段を兼ねる。現像手段に回収された残留トナーは現像に再利用される。そのため、ドラムクリーナレス方式においては、専用のトナークリーニング手段や、回収した残留トナーを保管する容器が不要であり、画像形成装置の小型化や低コスト化が可能となる。
【0003】
ドラムクリーナレス方式の画像形成装置において、感光ドラム上に多量の残留トナーが発生すると、感光ドラムを帯電させる帯電ローラに多量のトナーが付着することがある。すると帯電不良が生じ、感光ドラムの表面電位と現像部材の電位との間の電位差を、適切な値に制御できなくなる。その結果、現像手段での残留トナーの回収不良や、現像手段からの意図しないトナー現像に伴う画像不良が発生することがある。
【0004】
特許文献1では、帯電ローラに付着したトナーを正規極性に帯電させ、帯電させたトナーを帯電ローラから感光ドラムに転移させ、さらに感光ドラムから現像部材へ回収することで、帯電ローラをクリーニングする技術を開示している。これにより感光ドラムの表面の帯電不良を抑制し、画像不良を抑制している。
【先行技術文献】
【特許文献】
【0005】
特開2022-129271号公報
【発明の概要】
【発明が解決しようとする課題】
【0006】
ここで、製品寿命の末期でトナーが劣化している場合など、現像部材に正規極性に帯電したトナーが大量に付着する場合がある。このような場合、現像部材と、それに対向する感光ドラム表面との電位差を適切に制御できないため、現像部材から感光ドラムに大量にトナーが吐き出され続ける。このような場合、特許文献1の方法による帯電ローラのクリーニング効果が不十分となる場合があった。
【0007】
本発明は上記課題に鑑みてなされたものであり、その目的は、ドラムクリーナレス方式の画像形成装置において、帯電ローラに付着したトナーを好適に除去するための技術を提供することにある。
【課題を解決するための手段】
【0008】
本発明は、以下の構成を採用する。すなわち、
回転可能な像担持体と、
前記像担持体と接触して帯電部を形成し、前記帯電部において前記像担持体の表面を帯電する帯電部材と、
前記像担持体と接触して現像部を形成し、前記現像部において前記像担持体の表面に正規極性に帯電したトナーを供給することによって、前記像担持体の表面に画像情報に基づ
いて形成された静電潜像を現像してトナー像を形成する、回転可能な現像部材と、
前記像担持体と対向し、前記像担持体との間で転写部を形成し、前記転写部において前記トナー像を前記像担持体から被転写体に転写する転写部材と、
前記帯電部材に帯電電圧を印加する帯電電圧印加手段と、
前記現像部材に現像電圧を印加する現像電圧印加手段と、
前記転写部材に転写電圧を印加する転写電圧印加手段と、
前記帯電電圧印加手段と前記現像電圧印加手段と前記転写電圧印加手段と、を制御する制御部と、
を有し、
前記転写部において前記像担持体の表面に形成された前記トナー像が前記被転写体に転写された後、前記像担持体の表面に残留したトナーが前記現像部材により回収されるものであり、
前記制御部は、前記被転写体に前記静電潜像から現像された前記トナー像を形成する画像形成動作と、前記帯電部材を清掃する清掃動作と、を実施することが可能であり、
前記清掃動作は、第1の清掃動作と第2の清掃動作を含み、前記画像形成動作とは異なる非画像形成動作を実行するタイミングで実行され、
前記第1の清掃動作においては、前記帯電部材に付着したトナーが前記現像部材に回収され、
前記第2の清掃動作においては、前記帯電部材に付着したトナーは、前記転写部を通過する前記被転写体に排出される
ことを特徴とする画像形成装置である。
【発明の効果】
【0009】
本発明によれば、ドラムクリーナレス方式の画像形成装置において、帯電ローラに付着したトナーを好適に除去することができる。
【図面の簡単な説明】
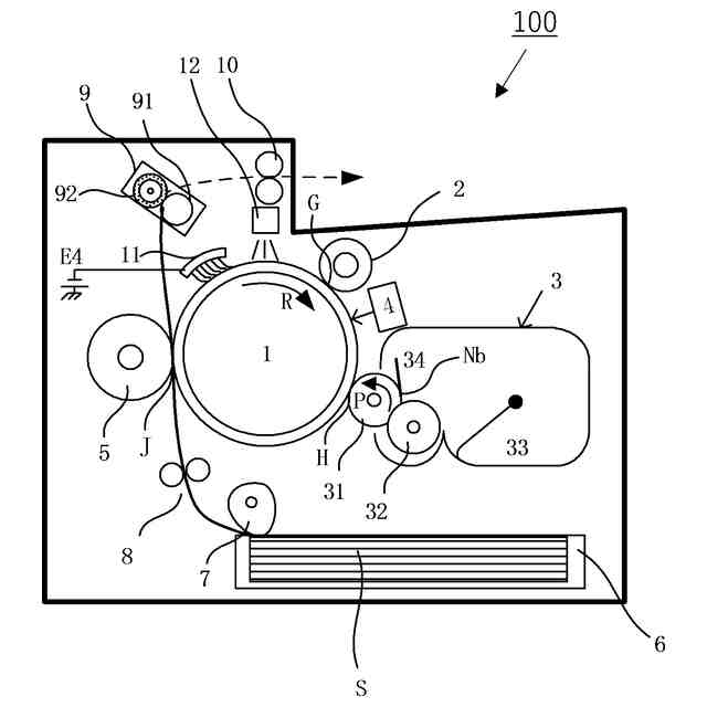
【0010】
実施例1における画像形成装置の断面図
実施例1におけるブラシ部材の模式図
実施例1における制御ブロック図
実施例1における現像部での電位関係を説明する図
実施例1における帯電ローラのトナー汚れに伴う帯電不良を説明する図
実施例1における帯電ローラのトナー汚れに伴う帯電不良を説明する図
実施例1における帯電ローラのクリーニング動作を説明する図
実施例1における転写残トナーの量と転写電圧の関係を説明する図
実施例1における帯電ローラのトナー汚れによる画像不良を説明する図
実施例2における画像形成装置の説明図
【発明を実施するための形態】
(【0011】以降は省略されています)
この特許をJ-PlatPat(特許庁公式サイト)で参照する
関連特許
キヤノン株式会社
容器
3日前
キヤノン株式会社
トナー
6日前
キヤノン株式会社
現像装置
10日前
キヤノン株式会社
撮影装置
17日前
キヤノン株式会社
現像容器
17日前
キヤノン株式会社
撮像装置
3日前
キヤノン株式会社
撮像装置
3日前
キヤノン株式会社
撮像装置
3日前
キヤノン株式会社
現像装置
17日前
キヤノン株式会社
現像容器
17日前
キヤノン株式会社
測距装置
12日前
キヤノン株式会社
記録装置
3日前
キヤノン株式会社
記録装置
17日前
キヤノン株式会社
現像装置
17日前
キヤノン株式会社
電子写真装置
10日前
キヤノン株式会社
情報処理装置
17日前
キヤノン株式会社
画像形成装置
3日前
キヤノン株式会社
画像形成装置
11日前
キヤノン株式会社
カートリッジ
17日前
キヤノン株式会社
カートリッジ
17日前
キヤノン株式会社
画像形成装置
4日前
キヤノン株式会社
画像形成装置
17日前
キヤノン株式会社
画像形成装置
11日前
キヤノン株式会社
画像形成装置
11日前
キヤノン株式会社
画像形成装置
17日前
キヤノン株式会社
電子写真装置
4日前
キヤノン株式会社
画像形成装置
17日前
キヤノン株式会社
画像形成装置
今日
キヤノン株式会社
画像形成装置
17日前
キヤノン株式会社
画像処理装置
17日前
キヤノン株式会社
画像形成装置
10日前
キヤノン株式会社
画像形成装置
6日前
キヤノン株式会社
画像形成装置
6日前
キヤノン株式会社
画像形成装置
6日前
キヤノン株式会社
画像形成装置
10日前
キヤノン株式会社
画像形成装置
10日前
続きを見る
他の特許を見る