TOP
|
特許
|
意匠
|
商標
特許ウォッチ
Twitter
他の特許を見る
10個以上の画像は省略されています。
公開番号
2025157995
公報種別
公開特許公報(A)
公開日
2025-10-16
出願番号
2024060403
出願日
2024-04-03
発明の名称
画像形成装置
出願人
キヤノン株式会社
代理人
弁理士法人大塚国際特許事務所
主分類
B41J
29/46 20060101AFI20251008BHJP(印刷;線画機;タイプライター;スタンプ)
要約
【課題】箔シートを使用する場合に生じ得るシート種別の誤選択を通知できる画像形成装置を提供する。
【解決手段】画像形成装置は、印刷ジョブに基づきシートに画像を形成する画像形成手段と、前記シートに箔が形成されているか否かを検知する検知処理を行う検知手段と、前記検知処理での検知結果の通知処理を行う制御手段と、を備えている。制御手段は、箔が形成されたシートに画像を形成する画像形成モードが選択されているか否かに応じて前記検知処理を行うか否かを制御し得る。制御手段は、検知処理を行った場合、検知結果の通知処理を行うか否かを、選択されている画像形成モードと、検知結果に基づき制御し得る。
【選択図】図10
特許請求の範囲
【請求項1】
印刷ジョブに基づきシートに画像を形成する画像形成手段と、
前記シートに箔が形成されているか否かを検知する検知処理を行う検知手段と、
前記検知処理での検知結果の通知処理を行う制御手段と、
を備えている、画像形成装置。
続きを表示(約 1,000 文字)
【請求項2】
前記制御手段は、箔が形成された前記シートに画像を形成する画像形成モードが選択されているか否かに応じて前記検知処理を行うか否かを制御する、請求項1に記載の画像形成装置。
【請求項3】
前記制御手段は、箔が形成された前記シートに画像を形成する画像形成モードが選択されているか否かと、前記検知処理の検知結果と、に基づき前記通知処理を行うか否かを制御する、請求項1に記載の画像形成装置。
【請求項4】
前記制御手段は、箔が形成された前記シートに画像を形成する画像形成モードが選択されている場合、前記検知処理を行わない、請求項1に記載の画像形成装置。
【請求項5】
前記制御手段は、箔が形成された前記シートに画像を形成する画像形成モードが選択されていない場合に前記検知処理を行い、前記検知処理において前記シートに箔が形成されていることを検知した場合、前記シートに箔が形成されていることを通知する前記通知処理を行う、請求項1に記載の画像形成装置。
【請求項6】
前記制御手段は、箔が形成された前記シートに画像を形成する画像形成モードが選択されていない場合に前記検知処理を行い、前記検知処理において前記シートに箔が形成されていないことを検知した場合、前記通知処理を行わない、請求項1に記載の画像形成装置。
【請求項7】
前記制御手段は、箔が形成された前記シートに画像を形成する画像形成モードが選択されていない場合、前記検知処理を行わない、請求項1に記載の画像形成装置。
【請求項8】
前記制御手段は、箔が形成された前記シートに画像を形成する画像形成モードが選択されている場合に前記検知処理を行い、前記検知処理において前記シートに箔が形成されていないことを検知した場合、前記シートに箔が形成されていないことを通知する前記通知処理を行う、請求項1に記載の画像形成装置。
【請求項9】
前記制御手段は、箔が形成された前記シートに画像を形成する画像形成モードが選択されている場合に前記検知処理を行い、前記検知処理において前記シートに箔が形成されていることを検知した場合、前記通知処理を行わない、請求項1に記載の画像形成装置。
【請求項10】
前記制御手段は、前記通知処理を行った場合、前記印刷ジョブに基づく画像形成を継続するか否かの入力を受け付ける様に構成される、請求項1に記載の画像形成装置。
(【請求項11】以降は省略されています)
発明の詳細な説明
【技術分野】
【0001】
本発明は、画像形成装置に関する。
続きを表示(約 1,500 文字)
【背景技術】
【0002】
特許文献1は、トナーで形成されたトナー像を接着剤として使用することで、当該トナー像に箔を転写する箔転写ユニットを備えた画像形成装置を開示している。また、特許文献2は、画像形成装置によってシートに形成されたトナー像に箔を転写する箔転写装置を開示している。
【先行技術文献】
【特許文献】
【0003】
特開2017-156723号公報
特開2021-116185号公報
【発明の概要】
【発明が解決しようとする課題】
【0004】
グリーティングカード、名刺、商品に貼付するラベル等に箔で形成された文字や図柄等を使用したい場合、予め箔が形成されたシートに対して画像を形成することが行われ得る。以下の説明においては、予め箔が形成されたシートを"箔シート"と表記し、箔が形成されていないシートを"通常シート"と表記する。
【0005】
通常シート及び箔シートの両方を使用するユーザの場合、通常シートへの画像形成の際、箔シートが収容されているカセットを誤って選択して画像形成を行うことが生じ得る。箔シートの箔の上にはトナーが定着し難いため、誤って選択された箔シートの箔の上に画像が形成されると、定着装置に現像剤であるトナーが付着する。定着装置にトナーが付着すると、後の画像形成において定着装置に付着したトナーが後続のシートに付着し、後続のシートにおける画像不良の原因となる。さらに、通常シート及び箔シートの両方を使用するユーザの場合、箔シートへの画像形成の際、通常シートが収容されているカセットを誤って選択して画像形成を行うことも生じ得る。
【0006】
本発明は、箔シートを使用する場合に生じ得るシート種別の誤選択を通知できる画像形成装置を提供するものである。
【課題を解決するための手段】
【0007】
本発明の一態様によると、画像形成装置は、印刷ジョブに基づきシートに画像を形成する画像形成手段と、前記シートに箔が形成されているか否かを検知する検知処理を行う検知手段と、前記検知処理での検知結果の通知処理を行う制御手段と、を備えている。
【発明の効果】
【0008】
本発明によると、箔シートを使用する場合に生じ得るシート種別の誤選択を通知することができる。
【図面の簡単な説明】
【0009】
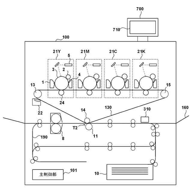
画像形成装置の概略的な構成例を示す図。
主制御部の構成例を示す図。
箔シートに画像を形成した状態の例を示す図。
CISの構成例を示す図。
箔検出処理の説明図。
一実施形態における、画像形成処理のフローチャート。
操作部に表示する画面例を示す図。
CISの構成例を示す図。
箔検出処理の説明図。
画像形成装置の概略的な構成例を示す図。
一実施形態における、画像形成処理のフローチャート。
操作部に表示する画面例を示す図。
【発明を実施するための形態】
【0010】
以下、添付図面を参照して実施形態を詳しく説明する。なお、以下の実施形態は特許請求の範囲に係る発明を限定するものではない。実施形態には複数の特徴が記載されているが、これらの複数の特徴の全てが発明に必須のものとは限らず、また、複数の特徴は任意に組み合わせられてもよい。さらに、添付図面においては、同一若しくは同様の構成に同一の参照番号を付し、重複した説明は省略する。
(【0011】以降は省略されています)
この特許をJ-PlatPat(特許庁公式サイト)で参照する
関連特許
キヤノン株式会社
トナー
12日前
キヤノン株式会社
トナー
17日前
キヤノン株式会社
トナー
12日前
キヤノン株式会社
トナー
12日前
キヤノン株式会社
現像容器
10日前
キヤノン株式会社
撮像装置
17日前
キヤノン株式会社
撮像装置
13日前
キヤノン株式会社
記録装置
10日前
キヤノン株式会社
定着装置
11日前
キヤノン株式会社
電子機器
19日前
キヤノン株式会社
撮影装置
10日前
キヤノン株式会社
記録装置
17日前
キヤノン株式会社
現像装置
10日前
キヤノン株式会社
測距装置
5日前
キヤノン株式会社
現像装置
3日前
キヤノン株式会社
現像装置
10日前
キヤノン株式会社
現像容器
10日前
キヤノン株式会社
光学センサ
12日前
キヤノン株式会社
半導体装置
19日前
キヤノン株式会社
現像剤容器
18日前
キヤノン株式会社
モジュール
12日前
キヤノン株式会社
画像処理装置
18日前
キヤノン株式会社
画像形成装置
4日前
キヤノン株式会社
画像形成装置
13日前
キヤノン株式会社
画像形成装置
3日前
キヤノン株式会社
画像形成装置
10日前
キヤノン株式会社
画像形成装置
13日前
キヤノン株式会社
情報処理装置
17日前
キヤノン株式会社
画像形成装置
11日前
キヤノン株式会社
画像形成装置
10日前
キヤノン株式会社
画像形成装置
18日前
キヤノン株式会社
画像形成装置
17日前
キヤノン株式会社
吐出素子基板
17日前
キヤノン株式会社
画像形成装置
17日前
キヤノン株式会社
画像形成装置
6日前
キヤノン株式会社
画像処理装置
10日前
続きを見る
他の特許を見る