TOP
|
特許
|
意匠
|
商標
特許ウォッチ
Twitter
他の特許を見る
10個以上の画像は省略されています。
公開番号
2025136988
公報種別
公開特許公報(A)
公開日
2025-09-19
出願番号
2024035941
出願日
2024-03-08
発明の名称
定着装置
出願人
キヤノン株式会社
代理人
弁理士法人近島国際特許事務所
主分類
G03G
15/20 20060101AFI20250911BHJP(写真;映画;光波以外の波を使用する類似技術;電子写真;ホログラフイ)
要約
【課題】張架ローラのアライメントを容易に調整可能な定着装置の提供。
【解決手段】定着フレーム8Aの外部から作業者が操作可能な押圧機構401を設ける。作業者による操作に従って、押圧機構401のベルトユニット側板313に対する押圧力が変更されることで、左右それぞれのベルトユニット側板313が変形される。左右それぞれのベルトユニット側板313を変形させることで、ベルトユニット側板313に支持された加熱ローラ307とステアリングローラ308と定着パッドユニット300のアライメントが調整される。作業者は定着フレーム8Aの外部から押圧機構401を操作できることから、アライメントの調整を容易に行うことができる。
【選択図】図2
特許請求の範囲
【請求項1】
記録材に形成されたトナー像を記録材に定着する定着装置であって、
回転する無端状のベルトと、前記ベルトの内側で前記ベルトを張架する張架ローラと、前記ベルトの内側で前記ベルトを前記張架ローラと共に張架する張架部材と、前記張架ローラの回転軸線方向の片端部を支持するとともに前記張架部材の前記回転軸線方向の片端部を支持する第1の支持板と、前記張架ローラの前記回転軸線方向の他端部を支持するとともに前記張架部材の前記回転軸線方向の他端部を支持する第2の支持板と、を有するベルトユニットと、
前記ベルトの外側に配置され、前記ベルトを前記張架部材に向けて加圧して、記録材を挟持搬送可能なニップ部を形成する加圧回転体と、
前記第1の支持板及び前記第2の支持板を支持するフレームと、
前記フレームに支持され、駆動源の駆動力を前記張架ローラに伝達する駆動伝達部材と、
前記フレームに設けられ、前記第1の支持板を前記回転軸線方向に交差する第1方向に押圧可能な第1の押圧機構と、
前記フレームに設けられ、前記第2の支持板を前記回転軸線方向に交差する第2方向に押圧可能な第2の押圧機構と、
前記ベルトユニット、前記フレーム、前記第1の押圧機構及び前記第2の押圧機構を覆うカバー部材と、を備え、
前記第1の押圧機構は、押圧力を調整可能な第1調整部を有し、
前記第2の押圧機構は、押圧力を調整可能な第2調整部を有し、
前記カバー部材は、前記第1調整部に対応する位置に形成されて外部と連通する第1開口部と、前記第2調整部に対応する位置に形成されて外部と連通する第2開口部と、を有する、
ことを特徴とする定着装置。
続きを表示(約 1,000 文字)
【請求項2】
前記第1の押圧機構は、前記第1の支持板に当接する第1当接部と、前記第1当接部を前記第1の支持板に向けて付勢するための第1弾性部材と、を更に有し、
前記第1調整部は、前記第1弾性部材による付勢力を調整可能であり、
前記第2の押圧機構は、前記第2の支持板に当接する第2当接部と、前記第2当接部を前記第2の支持板に向けて付勢するための第2弾性部材と、を更に有し、
前記第2調整部は、前記第2弾性部材による付勢力を調整可能である、
ことを特徴とする請求項1に記載の定着装置。
【請求項3】
前記第1調整部及び前記第2調整部は、前記第1開口部及び前記第2開口部を介して挿入される工具によって前記カバー部材の外部から操作可能である、
ことを特徴とする請求項2に記載の定着装置。
【請求項4】
前記第1調整部及び前記第2調整部は、少なくとも一部が前記第1開口部及び前記第2開口部を介して前記カバー部材の外部に露出して、前記カバー部材の外部において操作可能である、
ことを特徴とする請求項2に記載の定着装置。
【請求項5】
前記ベルトユニットは、前記ベルトの内側で前記張架ローラ及び前記張架部材と共に前記ベルトを張架し、前記回転軸線方向に対して傾動することで前記ベルトの前記回転軸線方向の位置を制御するステアリングローラを、更に有する、
ことを特徴とする請求項1に記載の定着装置。
【請求項6】
前記ステアリングローラは、前記回転軸線方向に対して傾動可能に前記第1の支持板及び前記第2の支持板に支持されている、
ことを特徴とする請求項5に記載の定着装置。
【請求項7】
前記張架部材は、前記ベルトの内周面に当接するパッド部材と、前記パッド部材を支持するステイと、を有し、
前記ステイは、前記回転軸線方向の両端部が前記第1の支持板及び前記第2の支持板に固定され、
前記回転軸線方向に関して、前記ステイの前記第1の支持板及び前記第2の支持板よりも外側に突出した部分は、前記第1の支持板及び前記第2の支持板を前記フレームに支持する支持部として機能する、
ことを特徴とする請求項1に記載の定着装置。
【請求項8】
前記カバー部材は、前記第1開口部と前記第2開口部との間に、前記カバー部材の内側と外側とを隔てる壁部を有する、
こと特徴とする請求項1に記載の定着装置。
発明の詳細な説明
【技術分野】
【0001】
本発明は、プリンタ、複写機、ファクシミリあるいは複合機などの画像形成装置に用いて好適な定着装置に関する。
続きを表示(約 2,700 文字)
【背景技術】
【0002】
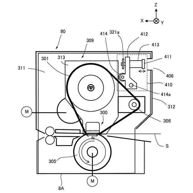
画像形成装置では、記録材に未定着のトナー像を形成し、そのトナー像を定着装置により加熱・加圧して記録材に定着している。定着装置の一例として、ベルトを用いたベルト加熱方式の定着装置が提案されている(特許文献1)。ベルト加熱方式の場合、ベルトを張架する張架ローラ間でそれらの回転軸線方向が平行でなくズレていると(アライメントエラーと呼ぶ)、回転するベルトが回転方向に交差する幅方向に移動して張架ローラの端部側に寄るベルト寄りが生じ得る。ベルト寄りが生じると、移動したベルトが他の部材に接触してしまい、ベルトや他の部材が破損する虞がある。そこで、ベルト端部の幅方向位置をセンサに検出させ、その検出結果に基づき張架ローラのうちの1つ(ステアリングローラと呼ぶ)を揺動することにより、ステアリングローラの他の張架ローラに対する相対的な角度を変化させてベルトの寄りを調整するステアリング制御が行われている。
【先行技術文献】
【特許文献】
【0003】
特開2008-33227号公報
【発明の概要】
【発明が解決しようとする課題】
【0004】
上記した張架ローラのアライメントエラーは、主に定着装置を構成する部品の精度に起因して生じていた。最近では画像形成の高速化に伴い、張架ローラの駆動力に起因してベルト及び張架ローラを有するベルトユニットの一部が変形することによって、アライメントエラーが生じることがあった。そうした場合に、サービスマン若しくはユーザは手動で張架ローラのアライメント調整を行う。しかしながら、定着装置はカバー部材を有しており、カバー部材が断熱のために閉じている状態では、張架ローラのアライメント調整を行うためのアライメント調整部がカバー部材により覆われている。よって、サービスマン若しくはユーザはカバー部材を開けてアライメント調整をしなければならず、作業工程が多くなっていた。
【0005】
本発明は上記問題に鑑み、張架ローラのアライメントを容易に調整可能な定着装置の提供を目的とする。
【課題を解決するための手段】
【0006】
本発明の一実施形態に係る定着装置は、記録材に形成されたトナー像を記録材に定着する定着装置であって、回転する無端状のベルトと、前記ベルトの内側で前記ベルトを張架する張架ローラと、前記ベルトの内側で前記ベルトを前記張架ローラと共に張架する張架部材と、前記張架ローラの回転軸線方向の片端部を支持するとともに前記張架部材の前記回転軸線方向の片端部を支持する第1の支持板と、前記張架ローラの前記回転軸線方向の他端部を支持するとともに前記張架部材の前記回転軸線方向の他端部を支持する第2の支持板と、を有するベルトユニットと、前記ベルトの外側に配置され、前記ベルトを前記張架部材に向けて加圧して、記録材を挟持搬送可能なニップ部を形成する加圧回転体と、前記第1の支持板及び前記第2の支持板を支持するフレームと、前記フレームに支持され、駆動源の駆動力を前記張架ローラに伝達する駆動伝達部材と、前記フレームに設けられ、前記第1の支持板を前記回転軸線方向に交差する第1方向に押圧可能な第1の押圧機構と、前記フレームに設けられ、前記第2の支持板を前記回転軸線方向に交差する第2方向に押圧可能な第2の押圧機構と、前記ベルトユニット、前記フレーム、前記第1の押圧機構及び前記第2の押圧機構を覆うカバー部材と、を備え、前記第1の押圧機構は、押圧力を調整可能な第1調整部を有し、前記第2の押圧機構は、押圧力を調整可能な第2調整部を有し、前記カバー部材は、前記第1調整部に対応する位置に形成されて外部と連通する第1開口部と、前記第2調整部に対応する位置に形成されて外部と連通する第2開口部と、を有する、ことを特徴とする。
【発明の効果】
【0007】
本発明によれば、張架ローラのアライメントを容易に調整可能な定着装置の提供できる。
【図面の簡単な説明】
【0008】
本実施形態の定着装置を用いて好適な画像形成装置を示す概略図。
第一実施形態の定着装置を示す概略図。
ベルトユニットを示す概略図。
第一実施形態の押圧機構を示す断面図。
第二実施形態の定着装置を示す概略図。
第二実施形態の押圧機構を示す断面図。
第三実施形態の定着装置を示す概略図。
第三実施形態の押圧機構を示す断面図。
押圧機構に把持部を設けた場合を示す概略図。
カバー部材が開位置にある場合を示す概略図。
【発明を実施するための形態】
【0009】
[第一実施形態]
<画像形成装置>
本実施形態について説明する。まず、本実施形態の定着装置を用いるのに好適な画像形成装置の構成について、図1を用いて説明する。画像形成装置1は、イエロー、マゼンタ、シアン、ブラックの4色に対応して設けられた4つの画像形成部Pa、Pb、Pc、Pdを有する電子写真方式のフルカラープリンタである。本実施形態は、画像形成部Pa、Pb、Pc、Pdを中間転写ベルト204の回転方向に沿って配置したタンデム型の画像形成装置1である。画像形成装置1は、画像形成装置1の装置本体3に接続された原稿読取装置2又は装置本体3に対し通信可能に接続されたプリントサーバ等の外部ホスト機器からの画像信号に応じて、トナー像(画像)を記録材に形成する。記録材としては、用紙、プラスチックフィルム、布などのシート材が挙げられる。
【0010】
図1に示すように、画像形成装置1は、原稿読取装置2と装置本体3とを備える。原稿読取装置2は、原稿台ガラス21上に置かれた原稿を読み取るもので、光源22から照射された光が原稿で反射し、レンズなどの光学系部材23を介してCCDセンサ24に結像される。このような光学系ユニットはリーダ制御部による制御の下で矢印の方向に走査された際に、原稿をライン毎に読み取って電気信号データ列に変換する。CCDセンサ24により得られた画像信号は、装置本体3に送られ、制御部30で後述する各画像形成部に合わせた画像処理がなされる。また、制御部30は画像信号としてプリントサーバなどの外部のホスト機器からの外部入力も受ける。
(【0011】以降は省略されています)
この特許をJ-PlatPat(特許庁公式サイト)で参照する
関連特許
キヤノン株式会社
容器
2日前
キヤノン株式会社
容器
8日前
キヤノン株式会社
トナー
24日前
キヤノン株式会社
トナー
11日前
キヤノン株式会社
トナー
29日前
キヤノン株式会社
トナー
24日前
キヤノン株式会社
トナー
24日前
キヤノン株式会社
測距装置
17日前
キヤノン株式会社
記録装置
29日前
キヤノン株式会社
電子機器
1か月前
キヤノン株式会社
現像装置
22日前
キヤノン株式会社
電子機器
1か月前
キヤノン株式会社
現像容器
22日前
キヤノン株式会社
現像装置
22日前
キヤノン株式会社
現像容器
22日前
キヤノン株式会社
定着装置
23日前
キヤノン株式会社
発光装置
1か月前
キヤノン株式会社
撮像装置
29日前
キヤノン株式会社
撮像装置
8日前
キヤノン株式会社
記録装置
8日前
キヤノン株式会社
表示装置
2日前
キヤノン株式会社
撮影装置
22日前
キヤノン株式会社
撮像装置
8日前
キヤノン株式会社
現像装置
15日前
キヤノン株式会社
撮像装置
25日前
キヤノン株式会社
撮像装置
8日前
キヤノン株式会社
撮像装置
2日前
キヤノン株式会社
記録装置
22日前
キヤノン株式会社
表示装置
1か月前
キヤノン株式会社
半導体装置
1か月前
キヤノン株式会社
現像剤容器
1か月前
キヤノン株式会社
光学センサ
24日前
キヤノン株式会社
モジュール
24日前
キヤノン株式会社
画像形成装置
5日前
キヤノン株式会社
画像形成装置
25日前
キヤノン株式会社
電子写真装置
15日前
続きを見る
他の特許を見る