TOP
|
特許
|
意匠
|
商標
特許ウォッチ
Twitter
他の特許を見る
10個以上の画像は省略されています。
公開番号
2025135403
公報種別
公開特許公報(A)
公開日
2025-09-18
出願番号
2024033235
出願日
2024-03-05
発明の名称
記録装置
出願人
キヤノン株式会社
代理人
弁理士法人秀和特許事務所
主分類
B65H
16/06 20060101AFI20250910BHJP(運搬;包装;貯蔵;薄板状または線条材料の取扱い)
要約
【課題】記録装置において軸孔の内径が異なるロール紙を保持装置に着脱する操作性を向上させる。
【解決手段】第1ロール紙の第1軸孔に挿入可能な第1芯部を有する第1固定部材と、第1固定部材に設けられ、第1軸孔を径方向外側に押圧する第1押圧位置と第1押圧位置より径方向内側の第1非押圧位置とに移動可能な第1当接部と、第1当接部を第1押圧位置と第1非押圧位置との間で移動させるカム部材と、第1固定部材に対し着脱可能な第2固定部材であって、第1軸孔より大径の第2ロール紙の第2軸孔に挿入可能な第2芯部を有する第2固定部材と、第2固定部材に設けられ、第2軸孔を径方向外側に押圧する第2押圧位置と第2押圧位置より径方向内側の第2非押圧位置とに移動可能な第2当接部とを有し、カム部材は、第1固定部材に第2固定部材が装着された状態では第2当接部を第2押圧位置と第2非押圧位置との間で移動させる。
【選択図】図14
特許請求の範囲
【請求項1】
軸孔を有する軸部に記録媒体が巻かれたロール紙を保持する保持装置と、
前記ロール紙を保持する前記保持装置から供給される記録媒体に対し記録を行う記録部と、
を有する記録装置であって、
前記保持装置は、
第1内径の第1軸孔を有する第1ロール紙の前記第1軸孔に挿入可能な第1芯部を有する第1固定部材と、
前記第1固定部材に設けられ、前記第1軸孔の内周面に当接して径方向外側に押圧する第1押圧位置と、前記第1押圧位置より径方向内側の第1非押圧位置と、に移動可能な弾性体製の第1当接部と、
前記第1当接部を前記第1押圧位置と前記第1非押圧位置との間で移動させるカム部材と、
前記第1固定部材に対し着脱可能な第2固定部材であって、前記第1内径より大きい第2内径の第2軸孔を有する第2ロール紙の前記第2軸孔に挿入可能な第2芯部を有する第2固定部材と、
前記第2固定部材に設けられ、前記第2軸孔の内周面に当接して径方向外側に押圧する第2押圧位置と、前記第2押圧位置より径方向内側の第2非押圧位置と、に移動可能な弾性体製の第2当接部と、
を有し、
前記カム部材は、前記第1固定部材に前記第2固定部材が装着された状態では、前記第2当接部を前記第2押圧位置と前記第2非押圧位置との間で移動させることを特徴とする記録装置。
続きを表示(約 1,300 文字)
【請求項2】
前記記録部は、前記第1固定部材の前記第1芯部が前記第1軸孔に挿入された前記第1ロール紙から供給された第1記録媒体に記録を行うことを特徴とする請求項1に記載の記録装置。
【請求項3】
前記記録部は、前記第2固定部材の前記第2芯部が前記第2軸孔に挿入された前記第2ロール紙から供給された第2記録媒体に記録を行うことを特徴とする請求項1に記載の記録装置。
【請求項4】
前記記録部は、インクを吐出して記録媒体に記録を行うことを特徴とする請求項1に記載の記録装置。
【請求項5】
前記カム部材は、
第1位置と第2位置との間で移動可能であり、
前記第2固定部材が前記第1固定部材に装着されていない状態で、前記第1位置において前記第1当接部に当接せず、前記第2位置において前記第1当接部に当接して前記第1当接部を径方向外側に押圧する第1押圧部と、
前記第2固定部材が前記第1固定部材に装着されている状態で、前記第1位置において前記第2当接部に当接せず、前記第2位置において前記第2当接部に当接して前記第2当接部を径方向外側に押圧する第2押圧部と、
を有する請求項1~4のいずれか1項に記載の記録装置。
【請求項6】
前記ロール紙の前記軸孔に挿入される軸部材と、
前記軸部材の両端を支持する軸受けと、
を有し、
前記カム部材は、前記軸部材が挿入される前記軸部材と同軸の円筒部を有し、
前記カム部材は、前記円筒部が前記軸部材の周りに回転することで、前記第1位置と前記第2位置の間で移動可能である請求項5に記載の記録装置。
【請求項7】
前記第1当接部と前記第2当接部は、前記軸部材の軸方向で異なる位置に設けられ、
前記第1押圧部と前記第2押圧部は、前記円筒部における前記軸方向でそれぞれ前記第1当接部と前記第2当接部に対応する位置に設けられる請求項6に記載の記録装置。
【請求項8】
前記第2当接部は、前記軸方向で、前記第1当接部より前記軸部材の中央部に近い位置に設けられる請求項7に記載の記録装置。
【請求項9】
前記第1当接部と前記第2当接部は、前記軸部材の周方向で同じ位置に設けられる請求項6に記載の記録装置。
【請求項10】
前記カム部材は、
第1位置と第2位置との間で移動可能であり、
前記第2固定部材が前記第1固定部材に装着されていない状態で、前記第1位置において前記第1当接部に当接せず、前記第2位置において前記第1当接部に当接して前記第1当接部を径方向外側に押圧する押圧部を有し、
前記押圧部は、前記第2固定部材が前記第1固定部材に装着されている状態で、前記第1位置において前記第2当接部に当接せず、前記第2位置において前記第2当接部に当接して前記第2当接部を径方向外側に押圧する請求項1~4のいずれか1項に記載の記録装置。
(【請求項11】以降は省略されています)
発明の詳細な説明
【技術分野】
【0001】
本発明はロール紙を保持する保持装置から供給される記録媒体に記録を行う記録装置に関するものである。
続きを表示(約 2,900 文字)
【背景技術】
【0002】
軸孔を有する中空の軸部にロール状に記録媒体が巻かれたロール紙を保持する保持装置を有し、ロール紙を保持する保持装置から供給される記録媒体に記録を行う記録装置がある。特許文献1に記載の記録装置では、ロール紙の軸部にロール紙押さえを装着し、ロール紙押さえで挟持されたロール紙をスピンドルに装着し、スピンドルを装置本体のスピンドル受けで支持することで、記録装置にロール紙がセットされる。ロール紙には軸部の軸孔の内径が異なるものがある。特許文献1の記録装置のロール紙押さえは、小径の軸孔に対応した軸芯が突出するフランジを有し、大径の軸孔に対応したアダプタを軸芯に装着することで、異なる内径の軸孔を有するロール紙に対応可能としている。軸芯及びアダプタは径方向に撓む板ばねを有し、ロール紙の軸孔が軸芯やアダプタに挿入されると板ばねが撓むことで生じる弾性力により、ロール紙の軸部の保持を確実なものとすることを図っている。
【先行技術文献】
【特許文献】
【0003】
特許第3928705号公報
【発明の概要】
【発明が解決しようとする課題】
【0004】
特許文献1の記録装置では、板ばねを撓ませながらロール紙の軸孔にロール紙押さえの軸芯を着脱する必要があるため、ロール紙押さえの着脱の操作において板ばねの弾性力に抗して板ばねを撓ませるための力が必要になる。そのため、ロール紙押さえの着脱の操作性に改善の余地がある。
【0005】
本発明は、軸孔の内径が異なるロール紙に対応可能な保持装置を有する記録装置において、ロール紙を保持装置に着脱する操作性を向上させることを目的とする。
【課題を解決するための手段】
【0006】
本発明は、軸孔を有する軸部に記録媒体が巻かれたロール紙を保持する保持装置と、
前記ロール紙を保持する前記保持装置から供給される記録媒体に対し記録を行う記録部と、
を有する記録装置であって、
前記保持装置は、
第1内径の第1軸孔を有する第1ロール紙の前記第1軸孔に挿入可能な第1芯部を有する第1固定部材と、
前記第1固定部材に設けられ、前記第1軸孔の内周面に当接して径方向外側に押圧する第1押圧位置と、前記第1押圧位置より径方向内側の第1非押圧位置と、に移動可能な弾性体製の第1当接部と、
前記第1当接部を前記第1押圧位置と前記第1非押圧位置との間で移動させるカム部材と、
前記第1固定部材に対し着脱可能な第2固定部材であって、前記第1内径より大きい第2内径の第2軸孔を有する第2ロール紙の前記第2軸孔に挿入可能な第2芯部を有する第2固定部材と、
前記第2固定部材に設けられ、前記第2軸孔の内周面に当接して径方向外側に押圧する第2押圧位置と、前記第2押圧位置より径方向内側の第2非押圧位置と、に移動可能な弾性体製の第2当接部と、
を有し、
前記カム部材は、前記第1固定部材に前記第2固定部材が装着された状態では、前記第2当接部を前記第2押圧位置と前記第2非押圧位置との間で移動させることを特徴とする記録装置である。
【発明の効果】
【0007】
本発明によれば、軸孔の内径が異なるロール紙に対応可能な保持装置を有する記録装置において、ロール紙を保持装置に着脱する操作性を向上させることができる。
【図面の簡単な説明】
【0008】
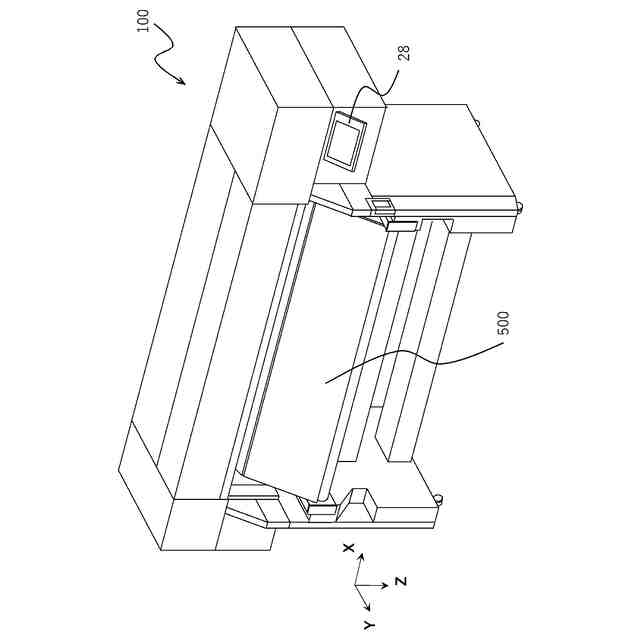
実施例の記録装置の斜視図である。
ロールセット時における記録装置の斜視図である。
記録装置におけるシートの搬送経路の概略断面図である。
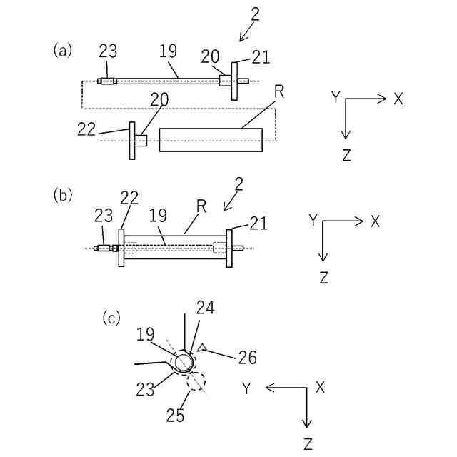
記録装置におけるロール支持部材の説明図である。
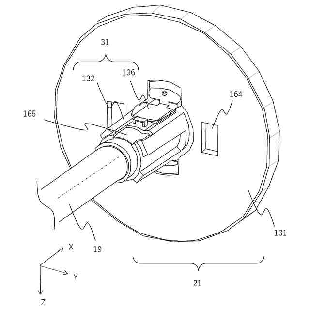
実施例1のスピンドルフランジの外観図
実施例1の第1当接部の外観図
実施例1のカム部材の外観図
実施例1の2インチロール取り付け時の第1位置の模式図
実施例1の2インチロール取り付け時の第2位置の模式図
実施例1のアタッチメントの外観図
実施例1のアタッチメントをスピンドルフランジに取り付けた外観図
実施例1の第2当接部の外観図
実施例1の3インチロール取り付け時の第1位置の模式図
実施例1の3インチロール取り付け時の第2位置の模式図
実施例2のスピンドルフランジの外観図
実施例2の第1当接部の外観図
実施例2のカム部材の外観図
実施例2の取っ手部の外観図
実施例2の2インチロール取り付け時の第1位置の模式図
実施例2の2インチロール取り付け時の第2位置の模式図
実施例2のアタッチメントの外観図
実施例2のアタッチメントをスピンドルフランジに取り付けた外観図
実施例2の第2当接部の外観図
実施例2の3インチロール取り付け時の第1位置の模式図
実施例2の3インチロール取り付け時の第2位置の模式図
実施例3の非基準側スピンドルフランジの外観図
実施例3のスピンドルロックフランジの外観図
実施例3のスピンドルロックレバーの外観図
実施例3のスピンドル非ロック時の外観図
実施例3のスピンドルロック時の外観図
実施例3の中間リンク機構の非ロック時の非基準側スピンドルフランジ外観図
実施例3の中間リンク機構のロック時の非基準側スピンドルフランジ外観図
【発明を実施するための形態】
【0009】
以下、本発明を実施するための例示的な形態について、図面を参照しながら説明する。
ただし、以下の実施例に記載されている構成部品の寸法、材質、形状、それらの相対的な配置等は、本発明が適用される装置の構成や各種条件により適宜変更されるべきものであり、本発明の範囲を以下の実施例に限定する趣旨のものではない。
【0010】
<装置の基本的構成>
図1~図3は、実施例の基本的構成の説明図である。実施例の記録装置100は、軸孔を有する中空の軸部に記録媒体がロール状に巻かれたロール紙(ロールシート)を保持する保持装置であるロールセット部200を有する。記録装置100は、ロールセット部200から供給されるシート状の記録媒体(シート)に画像を記録するインクジェット記録装置である。なお、実施例では本発明をインクジェット記録装置に適用した例を説明するが、ロールセット部200を有する記録装置であれば本発明を適用することができ、例えば印刷方式はインクジェットに限定されない。以下の説明では、ロール紙の中空軸部の軸方向(軸線方向)に平行な方向をX方向、軸方向に垂直かつ水平方向に平行の方向をY方向、鉛直方向をZ方向とする。
(【0011】以降は省略されています)
この特許をJ-PlatPat(特許庁公式サイト)で参照する
関連特許
キヤノン株式会社
トナー
1日前
キヤノン株式会社
トナー
1日前
キヤノン株式会社
トナー
6日前
キヤノン株式会社
トナー
1日前
キヤノン株式会社
撮像装置
20日前
キヤノン株式会社
発光装置
13日前
キヤノン株式会社
電子機器
22日前
キヤノン株式会社
撮像装置
22日前
キヤノン株式会社
定着装置
14日前
キヤノン株式会社
定着装置
29日前
キヤノン株式会社
定着装置
29日前
キヤノン株式会社
定着装置
29日前
キヤノン株式会社
撮像装置
2日前
キヤノン株式会社
定着装置
今日
キヤノン株式会社
記録装置
22日前
キヤノン株式会社
表示装置
13日前
キヤノン株式会社
電子機器
14日前
キヤノン株式会社
電子機器
10日前
キヤノン株式会社
記録装置
6日前
キヤノン株式会社
定着装置
20日前
キヤノン株式会社
記録装置
21日前
キヤノン株式会社
電子機器
14日前
キヤノン株式会社
撮像装置
21日前
キヤノン株式会社
撮像装置
14日前
キヤノン株式会社
電子機器
29日前
キヤノン株式会社
電子機器
8日前
キヤノン株式会社
撮像装置
6日前
キヤノン株式会社
収容装置
14日前
キヤノン株式会社
光学センサ
1日前
キヤノン株式会社
モジュール
1日前
キヤノン株式会社
現像剤容器
7日前
キヤノン株式会社
半導体装置
8日前
キヤノン株式会社
画像形成装置
6日前
キヤノン株式会社
画像形成装置
14日前
キヤノン株式会社
画像形成装置
14日前
キヤノン株式会社
画像形成装置
14日前
続きを見る
他の特許を見る