TOP
|
特許
|
意匠
|
商標
特許ウォッチ
Twitter
他の特許を見る
10個以上の画像は省略されています。
公開番号
2025138310
公報種別
公開特許公報(A)
公開日
2025-09-25
出願番号
2024037325
出願日
2024-03-11
発明の名称
画像形成装置
出願人
キヤノン株式会社
代理人
個人
,
個人
,
個人
,
個人
,
個人
主分類
G03G
21/16 20060101AFI20250917BHJP(写真;映画;光波以外の波を使用する類似技術;電子写真;ホログラフイ)
要約
【課題】 従来の技術をさらに発展させること。
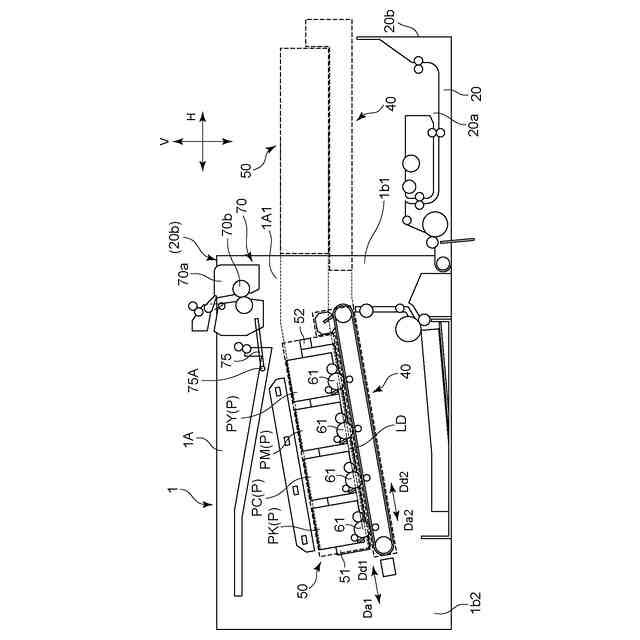
【解決手段】 記録材に画像を形成する画像形成装置が、(i)鉛直方向に直交する第1方向について、開口が備えられた第1端部と、第1端部の反対の第2端部と、を有する装置本体であって、鉛直方向および第1方向に直交する第2方向における一端に配置された第1側壁を有する装置本体と、(ii)回転体を有し、開口を通じて、内側位置と外側位置とを移動可能な引き出しユニットと、(iii)駆動源と、駆動源の駆動力を、回転体に伝達する駆動列と、を含み、第1側壁に備えられた駆動ユニットと、(iv)第1側壁に備えられ、電源基板と電源基板を収容するケーシングとを含む電源ユニットと、を有する。引き出しユニットが傾斜し、鉛直方向について、電源ユニットは駆動ユニットの上方に位置し、鉛直方向に見たとき、電源ユニットと駆動ユニットが少なくとも部分的に重なる。
【選択図】 図12
特許請求の範囲
【請求項1】
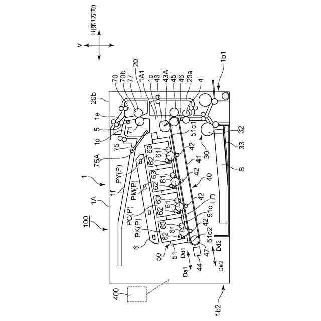
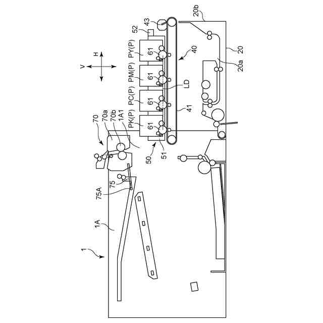
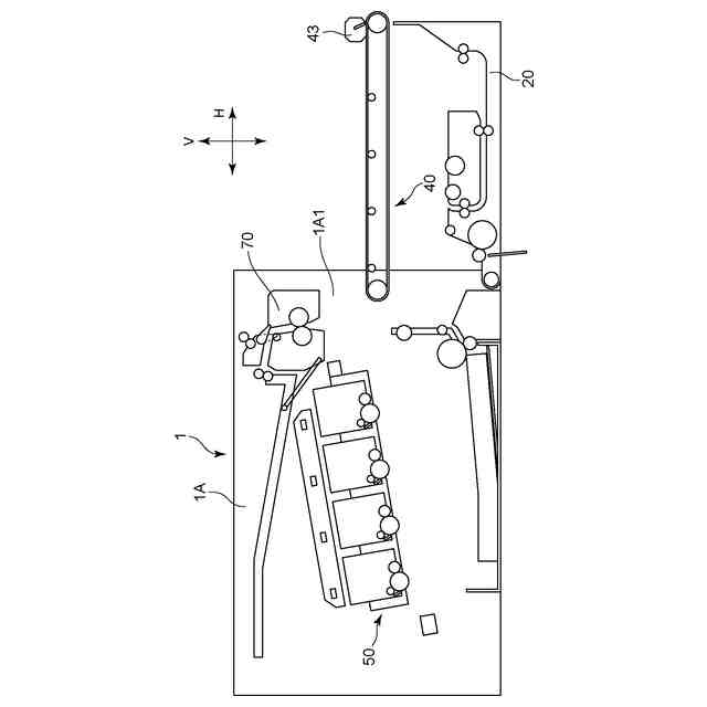
記録材に画像を形成する画像形成装置であって、
鉛直方向に直交する第1方向について、第1端部と、前記第1端部の反対の第2端部と、を有する装置本体であって、前記鉛直方向および前記第1方向に直交する第2方向における一端に配置された第1側壁を有する装置本体と、
転写部において記録材に画像を転写する画像形成ユニットであって、前記装置本体の内側の内側位置と、前記装置本体の外側の外側位置とを移動可能な引き出しユニットを含み、前記引き出しユニットは第1回転体と第2回転体とを含む複数の回転体を有し、前記転写部が前記第1方向について前記第2端部よりも前記第1端部の方に近いように配置された画像形成ユニットと、
駆動源と、前記駆動源の駆動力を、前記第1回転体と前記第2回転体のそれぞれに伝達する駆動列と、を含み、前記第1側壁に備えられた駆動ユニットと、
前記記録材を加熱するように構成され、前記第1方向について前記第2端部よりも前記第1端部の方に近いように配置された定着装置と、
前記第1側壁に備えられ、電源基板と前記電源基板を収容するケーシングとを含む電源ユニットと、
を有し、
前記引き出しユニットが前記内側位置にあるとき、前記第1方向について、前記第1回転体の方が前記第2回転体よりも前記第1端部に近く、前記鉛直方向について前記第1回転体の少なくとも一部が前記第2回転体よりも高い位置に位置し、
前記鉛直方向について、前記電源ユニットは前記駆動ユニットの上方に位置し、前記鉛直方向に見たとき、前記電源ユニットと前記駆動ユニットが少なくとも部分的に重なることを特徴とする画像形成装置。
続きを表示(約 1,600 文字)
【請求項2】
前記引き出しニットは、前記第2方向に交差する方向に向けて移動可能であることを特徴とする請求項1に記載の画像形成装置。
【請求項3】
前記引き出しユニットは、前記第1端部に備えられた開口を通じて前記内側位置と前記外側位置とに移動可能であることを特徴とする請求項2に記載の画像形成装置。
【請求項4】
前記画像形成ユニットは中間転写ベルトを含み、
前記第1回転体は前記中間転写ベルトと当接可能な第1感光ドラムであり、前記第2回転体は前記中間転写ベルトと当接可能な第2感光ドラムである、ことを特徴とする請求項1から3のいずれか1項に記載の画像形成装置。
【請求項5】
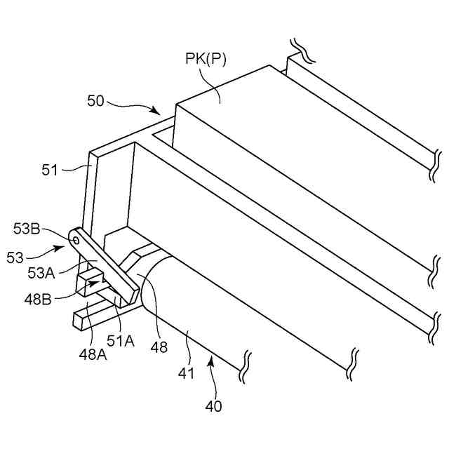
前記中間転写ベルトとの間に前記転写部を形成する転写ローラをさらに備え、
前記引き出しユニットが前記内側位置にあるとき、前記第2感光ドラムの少なくとも一部は、前記鉛直方向について前記転写ローラの下方に位置することを特徴とする請求項4に記載の画像形成装置。
【請求項6】
記録材に画像を形成する画像形成装置であって、
鉛直方向に直交する第1方向について、開口が備えられた第1端部と、前記第1端部の反対の第2端部と、を有する装置本体であって、前記鉛直方向および前記第1方向に直交する第2方向における一端に配置された第1側壁を有する装置本体と、
前記第1側壁に対し、前記第2方向に交差する方向に移動可能な引き出しユニットであって、回転体を有し、前記開口を通じて、前記装置本体の内側の内側位置と前記装置本体の外側の外側位置とを移動可能な引き出しユニットと、
駆動源と、前記駆動源の駆動力を、前記回転体に伝達する駆動列と、を含み、前記第1側壁に備えられた駆動ユニットと、
前記記録材を加熱するように構成され、前記第1方向について前記第2端部よりも前記第1端部の方に近いように配置された定着装置と、
前記第1側壁に備えられ、電源基板と前記電源基板を収容するケーシングとを含む電源ユニットと、
を有し、
前記引き出しユニットが前記内側位置から前記外側位置に移動するときの移動方向を引き出し方向としたとき、前記引き出しユニットが前記内側位置にある状態で、前記引き出し方向における前記引き出しユニットの下流側が上流側よりも高くなるように、前記引き出しユニットが傾斜しており、
前記鉛直方向について、前記電源ユニットは前記駆動ユニットの上方に位置し、前記鉛直方向に見たとき、前記電源ユニットと前記駆動ユニットが少なくとも部分的に重なることを特徴とする画像形成装置。
【請求項7】
画像が形成された前記記録材を積載可能な排紙トレイを有し、前記第2方向に見たときに、前記排紙トレイと前記電源基板が重なっていることを特徴とする請求項1から6のいずれか1項に記載の画像形成装置。
【請求項8】
前記定着装置に設けられた定着ローラと、前記定着ローラを駆動する定着駆動ユニットを有し、前記鉛直方向について、前記定着駆動ユニットの少なくとも一部は前記駆動ユニットの上側に位置することを特徴とする請求項1から7のいずれか1項に記載の画像形成装置。
【請求項9】
前記記録材を積載可能な積載部と、
前記積載部から前記記録材を搬送する給紙ローラと、
前記給紙ローラを駆動する給紙駆動ユニットを有し、前記第2方向について、前記給紙駆動ユニットの位置と前記駆動ユニットの位置が少なくとも部分的に重なっていることを特徴とする請求項1から8のいずれか1項に記載の画像形成装置。
【請求項10】
前記鉛直方向について、前記給紙駆動ユニットの位置と前記駆動ユニットの位置が少なくとも部分的に重なっていることを特徴とする請求項9に記載の画像形成装置。
(【請求項11】以降は省略されています)
発明の詳細な説明
【技術分野】
【0001】
本発明は、記録材に画像を形成する画像形成装置に関する。
続きを表示(約 1,500 文字)
【背景技術】
【0002】
プリンタ、複写機、複合機等の画像形成装置には、装置本体の内部と外部の間を移動するトレイにカートリッジを取り外し可能に装着するものがある。
【0003】
特許文献1には、カートリッジが取り外し可能に装着されたトレイと、定着装置とを備えた画像形成装置が開示される。トレイは複数の開口を通じて画像形成装置の装置本体の外に移動可能である。
【0004】
また、特許文献2には、カートリッジが取り外し可能に装着されたトレイと、転写ユニットと、定着装置とを備えた画像形成装置が開示される。特許文献2において、トレイと転写ユニットは、画像形成装置の内側から外側に移動可能である。具体的には、定着装置は画像形成装置の装置本体の一端側に配置され、転写ユニットが装置本体の外側に移動する際、転写ユニットは装置本体の他端側から一端側に向かう方向に移動する。一方、トレイが装置本体の外側に移動する際、トレイは装置本体の一端側から他端側に向かう方向に移動する。
【0005】
特許文献3には、カートリッジが取り外し可能に装着されたトレイと、電源部を備えた画像形成装置が開示される。
【先行技術文献】
【特許文献】
【0006】
特開2010-244018号公報
特開2015-206897号公報
特開2016-20932号公報
【発明の概要】
【発明が解決しようとする課題】
【0007】
本発明は、従来の技術をさらに発展させたものである。より具体的には、本発明の目的の一つは、画像形成装置において、電気部品を省スペースで配置することである。
【課題を解決するための手段】
【0008】
本出願にかかる発明は、以下のようなものである。
【0009】
記録材に画像を形成する画像形成装置であって、
鉛直方向に直交する第1方向について、第1端部と、前記第1端部の反対の第2端部と、を有する装置本体であって、前記鉛直方向および前記第1方向に直交する第2方向における一端に配置された第1側壁を有する装置本体と、
転写部において記録材に画像を転写する画像形成ユニットであって、前記装置本体の内側の内側位置と、前記装置本体の外側の外側位置とを移動可能な引き出しユニットを含み、前記引き出しユニットは第1回転体と第2回転体とを含む複数の回転体を有し、前記転写部が前記第1方向について前記第2端部よりも前記第1端部の方に近いように配置された画像形成ユニットと、
駆動源と、前記駆動源の駆動力を、前記第1回転体と前記第2回転体のそれぞれに伝達する駆動列と、を含み、前記第1側壁に備えられた駆動ユニットと、
前記記録材を加熱するように構成され、前記第1方向について前記第2端部よりも前記第1端部の方に近いように配置された定着装置と、
前記第1側壁に備えられ、電源基板と前記電源基板を収容するケーシングとを含む電源ユニットと、
を有し、
前記引き出しユニットが前記内側位置にあるとき、前記第1方向について、前記第1回転体の方が前記第2回転体よりも前記第1端部に近く、前記鉛直方向について前記第1回転体の少なくとも一部が前記第2回転体よりも高い位置に位置し、
前記鉛直方向について、前記電源ユニットは前記駆動ユニットの上方に位置し、前記鉛直方向に見たとき、前記電源ユニットと前記駆動ユニットが少なくとも部分的に重なることを特徴とする画像形成装置。
【0010】
本出願にかかる発明は、以下のようなものである。
(【0011】以降は省略されています)
この特許をJ-PlatPat(特許庁公式サイト)で参照する
関連特許
キヤノン株式会社
トナー
11日前
キヤノン株式会社
トナー
11日前
キヤノン株式会社
トナー
11日前
キヤノン株式会社
測距装置
4日前
キヤノン株式会社
現像装置
9日前
キヤノン株式会社
現像容器
9日前
キヤノン株式会社
現像装置
9日前
キヤノン株式会社
現像容器
9日前
キヤノン株式会社
定着装置
10日前
キヤノン株式会社
現像装置
2日前
キヤノン株式会社
記録装置
9日前
キヤノン株式会社
撮影装置
9日前
キヤノン株式会社
撮像装置
12日前
キヤノン株式会社
モジュール
11日前
キヤノン株式会社
光学センサ
11日前
キヤノン株式会社
電子写真装置
2日前
キヤノン株式会社
画像形成装置
3日前
キヤノン株式会社
画像形成装置
3日前
キヤノン株式会社
画像形成装置
5日前
キヤノン株式会社
画像形成装置
9日前
キヤノン株式会社
画像形成装置
10日前
キヤノン株式会社
画像形成装置
10日前
キヤノン株式会社
画像形成装置
3日前
キヤノン株式会社
映像表示装置
11日前
キヤノン株式会社
画像形成装置
9日前
キヤノン株式会社
画像形成装置
9日前
キヤノン株式会社
情報処理装置
9日前
キヤノン株式会社
画像処理装置
9日前
キヤノン株式会社
画像形成装置
12日前
キヤノン株式会社
画像形成装置
12日前
キヤノン株式会社
カートリッジ
9日前
キヤノン株式会社
画像形成装置
10日前
キヤノン株式会社
画像形成装置
9日前
キヤノン株式会社
カートリッジ
9日前
キヤノン株式会社
画像形成装置
2日前
キヤノン株式会社
画像形成装置
5日前
続きを見る
他の特許を見る