TOP
|
特許
|
意匠
|
商標
特許ウォッチ
Twitter
他の特許を見る
10個以上の画像は省略されています。
公開番号
2025149066
公報種別
公開特許公報(A)
公開日
2025-10-08
出願番号
2024049501
出願日
2024-03-26
発明の名称
映像表示装置
出願人
キヤノン株式会社
代理人
個人
,
個人
,
個人
,
個人
,
個人
主分類
H04N
13/322 20180101AFI20251001BHJP(電気通信技術)
要約
【課題】 立体感のある映像を、長時間の視聴を継続した場合の、使用者への負担を軽減することのできる映像表示装置を提供する。
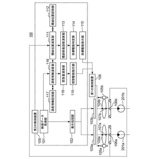
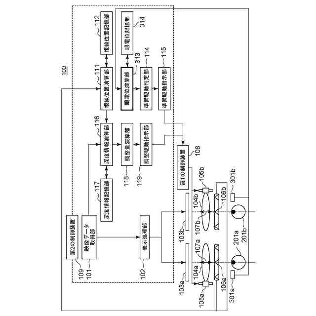
【解決手段】 使用者の右眼および左眼に対して第1および第2の映像を表示する第1および第2の映像表示部と、第1および第2の映像表示部に対応する第1および第2の表示光学素子と、を備えた映像表示装置であって、映像表示装置は、映像表示部または表示光学素子のうち少なくとも一つの位置の変更を行う振動型アクチュエータと、振動型アクチュエータの振動体の振動を制御する第1の制御装置と、右眼および前記左眼のうち少なくとも一方の眼の状態を検知する眼状態検出部と、映像表示装置を制御する第2の制御装置と、を更に備え、第2の制御装置は、検出した眼状態に応じて第1の制御装置に準備駆動の指示をし、準備駆動の指示を受け前記第1の制御装置は振動型アクチュエータの駆動を行うことを特徴とする映像表示装置。
【選択図】 図1
特許請求の範囲
【請求項1】
使用者の右眼および左眼に対して第1および第2の映像をそれぞれ表示する第1および第2の映像表示部と、前記第1および第2の映像表示部にそれぞれ対応する第1および第2の表示光学素子と、を備えた映像表示装置であって、
前記映像表示装置は、
前記映像表示部または表示光学素子のうち少なくとも一つの位置の変更を行う振動型アクチュエータと、
前記振動型アクチュエータの振動体の振動を制御する第1の制御装置と、
前記右眼および前記左眼のうち少なくとも一方の眼の状態を検知する眼状態検出部と、前記映像表示装置を制御する第2の制御装置と、を更に備え、
前記第2の制御装置は、検出した眼状態に応じて前記第1の制御装置に準備駆動の指示を実行するように構成されており、前記準備駆動の指示を受け前記第1の制御装置は前記振動型アクチュエータの駆動を行うことを特徴とする映像表示装置。
続きを表示(約 1,000 文字)
【請求項2】
前記眼状態検出部は、前記右眼および前記左眼のうち少なくとも一方に係る視線検出を行う視線検出部であることを特徴とする請求項1に記載の映像表示装置。
【請求項3】
前記視線検出部は、前記右眼および前記左眼に対して視線検出をそれぞれ行う第1および第2の視線検出部である請求項2に記載の映像表示装置。
【請求項4】
前記振動型アクチュエータは電気-機械エネルギー変換素子を有する振動体と、前記振動体と接触する接触体と、を有し、前記振動体の振動により前記振動体と前記接触体とが相対的に移動する、ことを特徴とする請求項1に記載の映像表示装置。
【請求項5】
前記第1および第2の視線検出部の検出結果から視線位置を演算する第1の視線位置の演算部と、
前記視線位置を記憶させる記憶部と、
前記検出結果から演算された視線位置と前記記憶部に記憶された第2の視線位置から視線移動距離を算出する算出部と、
前記視線移動距離に基づき準備駆動を行うかどうかを判定する判定部を備え、
前記判定部の判定結果に応じて準備駆動の指示部から前記第1の制御装置に準備駆動を指示を行うこと、を特徴とする請求項3に記載の映像表示装置。
【請求項6】
前記第1および第2の映像表示部に表示する映像を取得する映像取得部と、前記第1の映像と前記第2の映像の前記視線位置における深度情報を演算する深度情報の演算部と、前記深度情報を記憶させる深度情報の記憶部と、前記深度情報から前記振動型アクチュエータの調整量を演算する調整量演算部を備え、前記調整量に応じて、調整駆動の指示部から前記制御装置に調整駆動を指示を行う、ことを特徴とする請求項5に記載の映像表示装置。
【請求項7】
前記準備駆動は前記振動体に定在波駆動であることを特徴とする請求項4に記載の映像表示装置。
【請求項8】
前記準備駆動は前記振動体と前記接触体とが往復駆動を行うこと、を特徴とする請求項4に記載の映像表示装置。
【請求項9】
前記眼状態検出部は、右眼および前記左眼のうち少なくとも一方の眼電位を取得する眼電位取得部であることを特徴とする請求項1に記載の映像表示装置。
【請求項10】
前記準備駆動の指示を受け前記第1の制御装置は前記振動型アクチュエータの駆動を行った後に、前記振動型アクチュエータの本駆動を行う請求項1に記載の映像表示装置。
発明の詳細な説明
【技術分野】
【0001】
本発明は、映像表示装置に関する。
続きを表示(約 2,200 文字)
【背景技術】
【0002】
使用者が頭部に装着して使用する映像表示装置や、使用者が眼鏡のように装着して使用する映像表示装置がある。使用者の眼の近傍に表示部が配置され、使用者の左右それぞれの眼に対して視差映像の表示処理が行われる。視差映像は映像に遠くを見ているか、近くを見ているかの深度情報が含まれており、表示される視差映像を使用者が視認することによって、視差映像に表示された物体についての立体感がある映像が得られる。
【0003】
この映像表示装置で使用者の視線は左右それぞれの眼に対して表示された映像によって生成される立体映像の位置に調節されるが、焦点位置は表示画面上の左右各々の画像に固定している。これは現実の物体を視認する場合には生じ得ない不自然な状態となる。
【0004】
例えば、視差映像として表示される物体の像を使用者が見ると、使用者の左右それぞれの眼と物体とを結ぶ線のなす角である輻輳角は、その物体の位置に応じて変化する。この時、現実空間での経験に基づいて水晶体の焦点距離は輻輳角の大きさに応じて変化する。この場合、水晶体の焦点距離と映像表示装置の固定された視度とが不一致となる可能性があり、表示された視差映像に焦点が合わず、鮮明に見ることが困難となる等、良好な視認性が確保できないことがある。そのため、映像表示装置の視度調整では、装置内のレンズを駆動する方法等により、使用者の輻輳角を定める視差映像内の深度情報に応じて視度を変更することが望ましい。
【0005】
特許文献1では、映像を視聴した際の使用者の注視点の位置に応じた深度情報に対する視度調整を、個人差や映像表示装置の使用状態に対応して行うことで、立体視時の違和感を低減することを可能としている。
【0006】
視度調整で使用されるアクチュエータとしてカメラレンズのオートフォーカス時のレンズ駆動にも使用されている振動型アクチュエータを用いることで、カメラレンズ同等の静音で精度の高い視度調整を行うことができる。従来、所定の質点に楕円運動を生じさせ、被駆動体を駆動する振動型アクチュエータに関する様々な提案(例えば、特許文献2)がされており、例えば図9に示すような構成が知られている。
【0007】
図9に示すように、この振動型アクチュエータの振動子は、矩形の板状に形成された金属材料から成る弾性体1を備え、弾性体1の裏面には圧電素子2が接合されている。弾性体1の上面の所定位置には、複数の突起部3が設けられている。この構成によれば、圧電素子2に交流電圧を印加することにより、弾性体1の長辺方向における2次の屈曲振動と、弾性体1の短辺方向における1次の屈曲振動とが同時に発生し、突起部3に楕円運動が励起される。そして、突起部3に被駆動体4を加圧接触させることにより、被駆動体4を突起部3の楕円運動によって直線的に駆動することができるようになっている。
【0008】
圧電素子2は、図10に示すように、分極処理されて2つの電極A1、A2を備えている。この2つの電極A1、A2に同相の交流電圧V1、V2を印加することにより、図11(a)に示すように、矩形の弾性体1において長辺方向と平行な方向に延びた2本の節を有する1次の屈曲振動を励振する。また、2つの電極A1、A2に逆相の交流電圧V1、V2を印加することにより、図11(b)に示すように、矩形の弾性体1の短辺方向と平行な方向に延びた3本の節を有する2次の屈曲振動を励振する。そして、1次と2次の屈曲振動(振動モード)の組み合わせにより突起部3に楕円運動を励振し、この際に突起部3に被駆動体4を加圧接触させることで、被駆動体4を直線的に駆動することができるようになっている。
【0009】
ここで、図11(a)に示す1次の屈曲振動によって、突起部3には被駆動体4との加圧接触する接触面と垂直な方向に振動の振幅(以下、Z軸振幅と呼ぶ)が変化する振動が励起される。また、図11(b)に示す2次の屈曲振動によって、突起部3には被駆動体4の駆動方向と平行な方向に振動の振幅(以下、X軸振幅と呼ぶ)が変化する振動が励起される。1次の屈曲振動と2次の屈曲振動を組み合わせることにより、突起部3に図12に示すように楕円運動が励起することができ、Z軸振幅とX軸振幅の大きさの比が、楕円運動の楕円比を表す。そして、印加する交流電圧V1、V2の位相差を変更することにより、X軸振幅の大きさを変え、交流電圧V1、V2の電圧振幅を変更することにより、Z軸振幅の大きさを変えることで、突起部3の励起する楕円運動の楕円比を調整することができる。
【0010】
また、圧電素子2に印加する交流電圧の周波数を振動子の共振周波数に近づけることにより、駆動速度を速くすることができる。また、印加する交流電圧の周波数を振動子の共振周波数から遠ざけることにより、駆動速度を遅くすることができる。例えば、上記の図9に示した振動型アクチュエータの基本的構成において、駆動周波数と駆動速度の関係は、図13に示すような関係になる。即ち、振動子の共振周波数を駆動速度のピークとし、共振周波数よりも高周波側ではなだらかに駆動速度が減少し、且つ低周波側では急激に駆動速度が減少するようなアクチュエータ特性となる。
(【0011】以降は省略されています)
この特許をJ-PlatPat(特許庁公式サイト)で参照する
関連特許
キヤノン株式会社
トナー
今日
キヤノン株式会社
トナー
今日
キヤノン株式会社
トナー
今日
キヤノン株式会社
トナー
5日前
キヤノン株式会社
トナー
1か月前
キヤノン株式会社
電子機器
21日前
キヤノン株式会社
記録装置
5日前
キヤノン株式会社
収容装置
13日前
キヤノン株式会社
定着装置
13日前
キヤノン株式会社
電子機器
1か月前
キヤノン株式会社
撮像装置
1か月前
キヤノン株式会社
電子機器
13日前
キヤノン株式会社
電子機器
13日前
キヤノン株式会社
撮像装置
13日前
キヤノン株式会社
撮像装置
1日前
キヤノン株式会社
定着装置
19日前
キヤノン株式会社
光学装置
1か月前
キヤノン株式会社
電子機器
28日前
キヤノン株式会社
撮像装置
5日前
キヤノン株式会社
定着装置
28日前
キヤノン株式会社
定着装置
28日前
キヤノン株式会社
撮像装置
19日前
キヤノン株式会社
記録装置
20日前
キヤノン株式会社
撮像装置
20日前
キヤノン株式会社
定着装置
28日前
キヤノン株式会社
記録装置
21日前
キヤノン株式会社
電子機器
1か月前
キヤノン株式会社
撮像装置
1か月前
キヤノン株式会社
表示装置
12日前
キヤノン株式会社
現像装置
1か月前
キヤノン株式会社
電子機器
7日前
キヤノン株式会社
電子機器
9日前
キヤノン株式会社
発光装置
12日前
キヤノン株式会社
電子機器
1か月前
キヤノン株式会社
撮像装置
21日前
キヤノン株式会社
モジュール
今日
続きを見る
他の特許を見る