TOP
|
特許
|
意匠
|
商標
特許ウォッチ
Twitter
他の特許を見る
10個以上の画像は省略されています。
公開番号
2025138308
公報種別
公開特許公報(A)
公開日
2025-09-25
出願番号
2024037323
出願日
2024-03-11
発明の名称
画像形成装置
出願人
キヤノン株式会社
代理人
個人
,
個人
,
個人
,
個人
,
個人
主分類
G03G
21/16 20060101AFI20250917BHJP(写真;映画;光波以外の波を使用する類似技術;電子写真;ホログラフイ)
要約
【課題】 従来の技術をさらに発展させること。
【解決手段】 画像形成装置が(i)第1方向について、開口が備えられた第1端部と、第1端部の反対の第2端部とを有する装置本体であって、鉛直方向および第1方向に直交する第2方向における一端に配置された第1側壁を有する装置本体と、(ii)第2方向に交差する方向に移動可能な引き出しユニットであって、開口を通じて、内側位置と、外側位置とに移動可能な引き出しユニットと、(iii)第1方向について、第2端部よりも第1端部の方に近いように配置された定着装置と、(iv)定着装置に電力を供給するように構成された電源基板と、(v)電源基板と電気的に接続されたインレットであって、第1方向について、第1端部よりも第2端部の方に近いように配置されたインレットと、を有する。
【選択図】 図12
特許請求の範囲
【請求項1】
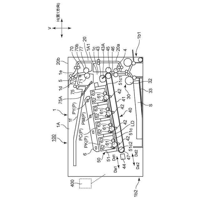
記録材に画像を形成する画像形成装置であって、
鉛直方向に直交する第1方向について、開口が備えられた第1端部と、前記第1端部の反対の第2端部とを有する装置本体であって、前記鉛直方向および前記第1方向に直交する第2方向における一端に配置された第1側壁を有する装置本体と、
前記第1側壁に対し、前記第2方向に交差する方向に移動可能な引き出しユニットであって、前記開口を通じて、前記装置本体の内側の内側位置と、前記装置本体の外側の外側位置とに移動可能な引き出しユニットと、
前記記録材を加熱するように構成された定着装置であって、前記第1方向について、前記第2端部よりも前記第1端部の方に近いように配置された定着装置と、
前記定着装置に電力を供給するように構成された電源基板と、
前記電源基板と電気的に接続されたインレットであって、前記第1方向について、前記第1端部よりも前記第2端部の方に近いように配置されたインレットと、
を有し、
前記第1方向について、前記電源基板の少なくとも一部の方が、前記定着装置よりも前記第2端部に近く、かつ前記インレットよりも第1端部に近いように配置されている、
ことを特徴とする画像形成装置。
続きを表示(約 1,100 文字)
【請求項2】
前記電源基板は前記第1側壁に備えられていることを特徴とする請求項1に記載の画像形成装置。
【請求項3】
前記電源基板と前記定着装置とを電気的に接続するように構成された接続部材をさらに有し、
前記電源基板は、前記接続部材が接続されるコネクタを有し、
前記第1方向について、前記コネクタの方が、前記インレットよりも前記定着装置に近いことを特徴とする請求項1に記載の画像形成装置。
【請求項4】
前記電源基板は前記インレットを通じて供給された交流電圧を、直流電圧に変換する機能を有することを特徴とする請求項1に記載の画像形成装置。
【請求項5】
前記直流電圧を受けて駆動する駆動源をさらに有し、
前記引き出しユニットは前記駆動源から駆動力を受けて回転する回転体を含む、
ことを特徴とする請求項4に記載の画像形成装置。
【請求項6】
前記インレットは、前記第1端部から前記第2端部に向かう方向に向けて、開口していることを特徴とする請求項1に記載の画像形成装置。
【請求項7】
前記装置本体は、前記第2方向について、前記第1側壁と反対の第2側壁を有し、
前記定着装置は、前記電源基板から電力の供給を受ける受けコネクタを有し、
前記第2方向について、前記受けコネクタは前記第2側壁よりも前記第1側壁の方に近い位置にあることを特徴とする請求項1に記載の画像形成装置。
【請求項8】
前記電源基板と電気的に接続される供給コネクタを有し、前記供給コネクタは、前記受けコネクタと接続可能に構成され、
前記第1方向について、前記供給コネクタは、前記第2端部よりも前記第1端部の方に近いことを特徴とする請求項7に記載の画像形成装置。
【請求項9】
前記電源基板は、前記第1方向について第1電源端と、前記第1電源端と反対の第2電源端とを有し、
前記第1方向について、前記第1電源端は前記第2端部よりも前記第1端部の方に近く、前記第2電源端は前記第1端部よりも前記第2端部の方に近い、
ことを特徴とする請求項1に記載の画像形成装置。
【請求項10】
前記開口を塞ぐ閉じ位置と、前記開口が露出される開き位置とを移動可能な開閉部材を含み、
前記第2方向について、前記開閉部材が配置される領域と、前記インレットが配置される領域とは、重なっている
ことを特徴とする請求項1に記載の画像形成装置。
(【請求項11】以降は省略されています)
発明の詳細な説明
【技術分野】
【0001】
本発明は、記録材に画像を形成する画像形成装置に関する。
続きを表示(約 1,400 文字)
【背景技術】
【0002】
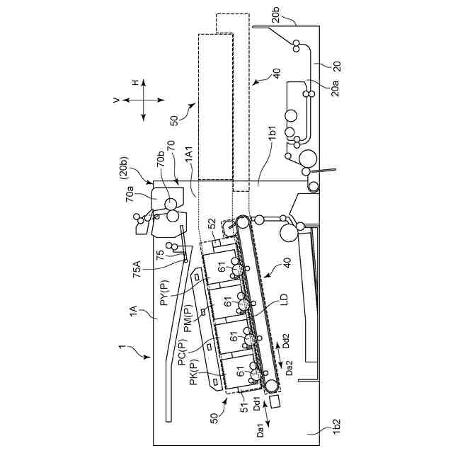
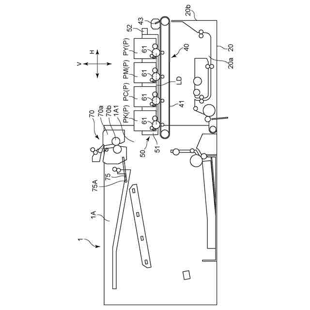
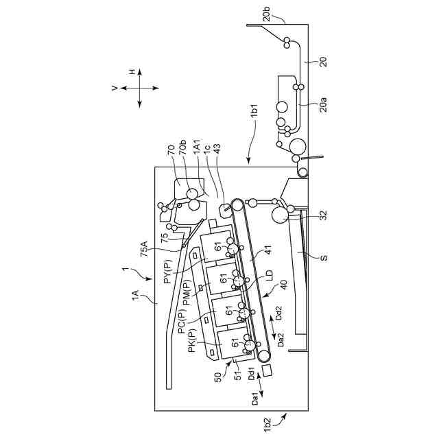
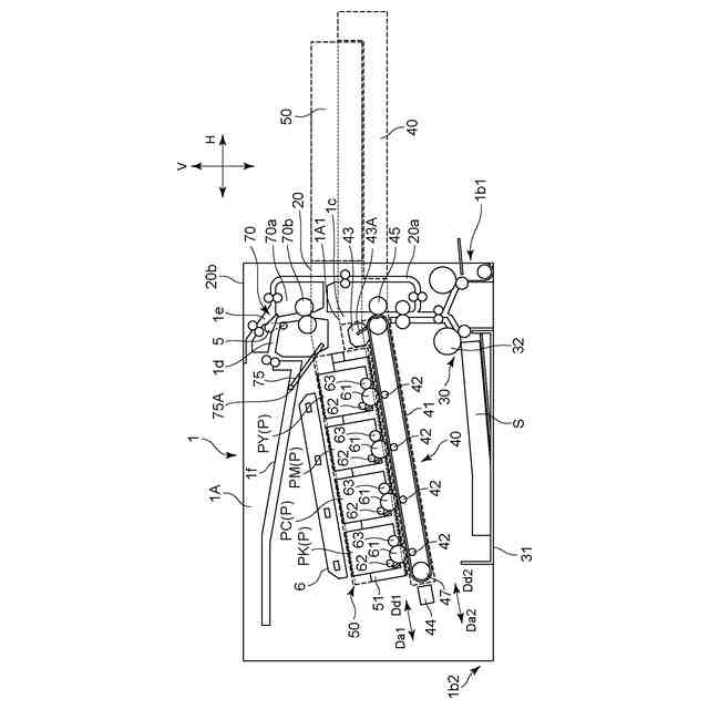
プリンタ、複写機、複合機等の画像形成装置には、装置本体の内部と外部の間を移動するトレイにカートリッジを取り外し可能に装着するものがある。
【0003】
特許文献1には、カートリッジが取り外し可能に装着されたトレイと、定着装置とを備えた画像形成装置が開示される。トレイは複数の開口を通じて画像形成装置の装置本体の外に移動可能である。
【0004】
また、特許文献2には、カートリッジが取り外し可能に装着されたトレイと、転写ユニットと、定着装置とを備えた画像形成装置が開示される。特許文献2において、トレイと転写ユニットは、画像形成装置の内側から外側に移動可能である。具体的には、定着装置は画像形成装置の装置本体の一端側に配置され、転写ユニットが装置本体の外側に移動する際、転写ユニットは装置本体の他端側から一端側に向かう方向に移動する。一方、トレイが装置本体の外側に移動する際、トレイは装置本体の一端側から他端側に向かう方向に移動する。
【0005】
特許文献3には、カートリッジが取り外し可能に装着されたトレイと、電源部を備えた画像形成装置が開示される。
【先行技術文献】
【特許文献】
【0006】
特開2010-244018号公報
特開2015-206897号公報
特開2016-20932号公報
【発明の概要】
【発明が解決しようとする課題】
【0007】
本発明は、従来の技術をさらに発展させたものである。より具体的には、本発明の目的の一つは、画像形成装置1において、電気部品を省スペースで配置することである。
【課題を解決するための手段】
【0008】
本出願にかかる発明は、以下のようなものである。
【0009】
記録材に画像を形成する画像形成装置であって、
鉛直方向に直交する第1方向について、開口が備えられた第1端部と、前記第1端部の反対の第2端部とを有する装置本体であって、前記鉛直方向および前記第1方向に直交する第2方向における一端に配置された第1側壁を有する装置本体と、
前記第1側壁に対し、前記第2方向に交差する方向に移動可能な引き出しユニットであって、前記開口を通じて、前記装置本体の内側の内側位置と、前記装置本体の外側の外側位置とに移動可能な引き出しユニットと、
前記記録材を加熱するように構成された定着装置であって、前記第1方向について、前記第2端部よりも前記第1端部の方に近いように配置された定着装置と、
前記定着装置に電力を供給するように構成された電源基板と、
前記電源基板と電気的に接続されたインレットであって、前記第1方向について、前記第1端部よりも前記第2端部の方に近いように配置されたインレットと、
を有し、
前記第1方向について、前記電源基板の少なくとも一部の方が、前記定着装置よりも前記第2端部に近く、かつ前記インレットよりも第1端部に近いように配置されている、
ことを特徴とする画像形成装置。
【発明の効果】
【0010】
本発明によれば、従来の技術をさらに発展させることができる。
【図面の簡単な説明】
(【0011】以降は省略されています)
この特許をJ-PlatPat(特許庁公式サイト)で参照する
関連特許
キヤノン株式会社
トナー
11日前
キヤノン株式会社
トナー
11日前
キヤノン株式会社
トナー
11日前
キヤノン株式会社
トナー
16日前
キヤノン株式会社
記録装置
9日前
キヤノン株式会社
現像装置
9日前
キヤノン株式会社
撮影装置
9日前
キヤノン株式会社
現像容器
9日前
キヤノン株式会社
測距装置
4日前
キヤノン株式会社
現像装置
9日前
キヤノン株式会社
記録装置
16日前
キヤノン株式会社
撮像装置
16日前
キヤノン株式会社
現像容器
9日前
キヤノン株式会社
撮像装置
12日前
キヤノン株式会社
現像装置
2日前
キヤノン株式会社
定着装置
10日前
キヤノン株式会社
モジュール
11日前
キヤノン株式会社
光学センサ
11日前
キヤノン株式会社
現像剤容器
17日前
キヤノン株式会社
画像形成装置
12日前
キヤノン株式会社
画像処理装置
9日前
キヤノン株式会社
画像表示装置
16日前
キヤノン株式会社
情報処理装置
9日前
キヤノン株式会社
画像形成装置
3日前
キヤノン株式会社
画像形成装置
9日前
キヤノン株式会社
画像形成装置
9日前
キヤノン株式会社
吐出素子基板
16日前
キヤノン株式会社
画像形成装置
9日前
キヤノン株式会社
画像形成装置
9日前
キヤノン株式会社
画像形成装置
16日前
キヤノン株式会社
映像表示装置
11日前
キヤノン株式会社
情報処理装置
16日前
キヤノン株式会社
画像形成装置
12日前
キヤノン株式会社
画像形成装置
12日前
キヤノン株式会社
画像形成装置
16日前
キヤノン株式会社
画像形成装置
12日前
続きを見る
他の特許を見る