TOP
|
特許
|
意匠
|
商標
特許ウォッチ
Twitter
他の特許を見る
公開番号
2025146301
公報種別
公開特許公報(A)
公開日
2025-10-03
出願番号
2024046993
出願日
2024-03-22
発明の名称
情報処理装置
出願人
キヤノン株式会社
代理人
弁理士法人秀和特許事務所
主分類
G06V
40/16 20220101AFI20250926BHJP(計算;計数)
要約
【課題】本発明は、ユーザが関心のある被写体を短時間で高精度に検出できる技術を提供する。
【解決手段】本発明の情報処理装置は、ユーザの視線に関する視線情報を取得する取得手段と、前記視線情報に基づいて、前記視線が被写体の領域に入る回数をカウントするカウント手段と、前記回数が閾値回数よりも多い場合に、前記ユーザが前記被写体に関心があると決定する決定手段とを有する。
【選択図】図3
特許請求の範囲
【請求項1】
ユーザの視線に関する視線情報を取得する取得手段と、
前記視線情報に基づいて、前記視線が被写体の領域に入る回数をカウントするカウント手段と、
前記回数が閾値回数よりも多い場合に、前記ユーザが前記被写体に関心があると決定する決定手段と
を有する
ことを特徴とする情報処理装置。
続きを表示(約 1,100 文字)
【請求項2】
前記被写体に関する複数の特定領域を設定する設定手段をさらに有し、
前記カウント手段は、前記視線が前記複数の特定領域のいずれかに入る回数をカウントする
ことを特徴とする請求項1に記載の情報処理装置。
【請求項3】
前記設定手段は、前記被写体に対応するテンプレートを用いて前記複数の特定領域を設定する
ことを特徴とする請求項2に記載の情報処理装置。
【請求項4】
前記特定領域は、前記被写体の情報を提示する領域を含む
ことを特徴とする請求項2に記載の情報処理装置。
【請求項5】
前記カウント手段は、
前記視線が、第1の被写体の領域に入った後、前記第1の被写体とは異なる第2の被写体の領域に入った場合に、
前記視線が前記第1の被写体の領域に入った回数を初期値にリセットする
ことを特徴とする請求項1に記載の情報処理装置。
【請求項6】
前記カウント手段は、
前記視線が、第1の被写体の領域に入った後、前記第1の被写体とは異なる第2の被写体の領域に入った場合に、
前記視線が前記第1の被写体の領域に入った回数を保持する
ことを特徴とする請求項1に記載の情報処理装置。
【請求項7】
前記カウント手段は、
前記視線の変化量が閾値量よりも大きい場合には、第1の時間に取得された前記視線情報に基づいて前記回数をカウントアップし、
前記視線の変化量が前記閾値量よりも小さい場合には、前記第1の時間よりも長い第2の時間に取得された前記視線情報に基づいて前記回数をカウントアップする
ことを特徴とする請求項1に記載の情報処理装置。
【請求項8】
前記カウント手段は、
前記視線の変化量が閾値量よりも大きい場合には、前記回数をカウントアップせず、
前記視線の変化量が前記閾値量よりも小さい場合には、前記回数をカウントアップする
ことを特徴とする請求項1に記載の情報処理装置。
【請求項9】
前記視線の移動方向の変化が大きい場合の前記閾値量は、前記視線の移動方向の変化が小さい場合の前記閾値量よりも大きい
ことを特徴とする請求項7に記載の情報処理装置。
【請求項10】
前記視線が入った前記特定領域の数が多い場合の前記閾値回数は、前記視線が入った前記特定領域の数が少ない場合の前記閾値回数よりも小さい
ことを特徴とする請求項2に記載の情報処理装置。
(【請求項11】以降は省略されています)
発明の詳細な説明
【技術分野】
【0001】
本発明は、情報処理装置に関する。
続きを表示(約 1,300 文字)
【背景技術】
【0002】
近年、リアルタイムに映像を撮影・表示して、ユーザが視覚により取得可能な情報を拡張する装置が普及している。仮想現実(VR)や拡張現実(AR)を体感するためのヘッドマウントディスプレイ(HMD)には、ユーザの視線情報を取得し、取得した視線情報に基づいて処理を行うものもある。
【0003】
また、視線情報に基づいて、ユーザが関心のある被写体(関心被写体)を検出する方法がある。関心被写体を検出する方法には主に2種類の方法がある。1つ目は、ユーザの視線が向けられた被写体を関心被写体として検出する方法である。2つ目は、ユーザの視線位置と被写体の位置との相関に基づいて関心被写体を検出する方法である。2つ目の方法として、例えば特許文献1には、ユーザの視線位置と誘目性が高い領域との相関に基づいて関心被写体を検出する方法が開示されている。
【先行技術文献】
【特許文献】
【0004】
国際公開第2012/105196号
【発明の概要】
【発明が解決しようとする課題】
【0005】
1つ目の方法では、ユーザが関心あるか否かに関わらず、視線が向けられた全ての被写体が検出されるため、関心被写体を高精度に検出することができない。2つ目の方法では視線位置と被写体の位置とが閾値時間よりも長い間一致すると、当該被写体が関心被写体として検出される。関心被写体を高精度に検出するためには、閾値時間を長くする必要があり、関心被写体を短時間で高精度に検出することができない。また、特許文献1に開示の技術では、誘目性が低い領域で関心被写体を検出することができない。
【0006】
本発明は、ユーザが関心のある被写体を短時間で高精度に検出できる技術を提供することを目的とする。
【課題を解決するための手段】
【0007】
本発明の情報処理装置は、ユーザの視線に関する視線情報を取得する取得手段と、前記視線情報に基づいて、前記視線が被写体の領域に入る回数をカウントするカウント手段と、前記回数が閾値回数よりも多い場合に、前記ユーザが前記被写体に関心があると決定する決定手段とを有することを特徴とする。
【発明の効果】
【0008】
本発明によれば、ユーザが関心のある被写体を短時間で高精度に検出できる。
【図面の簡単な説明】
【0009】
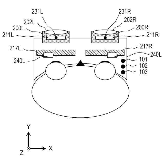
HMDの構成を示すブロック図である。
HMDをユーザが装着した状態を示す模式図である。
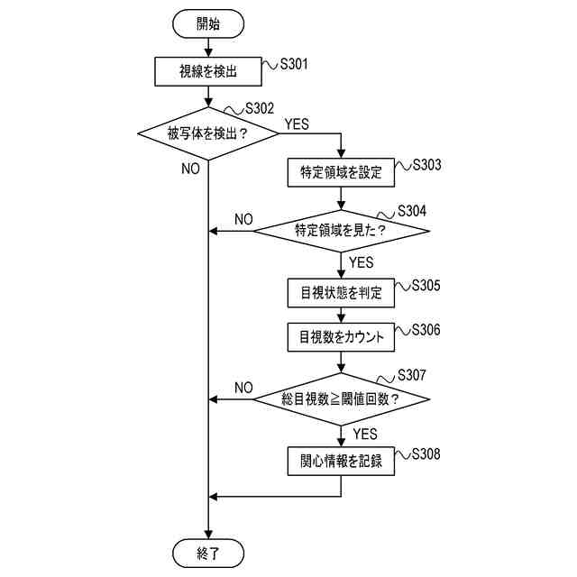
第1の実施形態に係るHMDの動作を示すフローチャートである。
複数の特定領域の説明図である。
第2の実施形態に係るHMDの動作を示すフローチャートである。
視線の軌跡のイメージ図である。
【発明を実施するための形態】
【0010】
以下、本発明の実施形態を、図面を参照して詳細に説明する。
(【0011】以降は省略されています)
この特許をJ-PlatPat(特許庁公式サイト)で参照する
関連特許
キヤノン株式会社
トナー
今日
キヤノン株式会社
トナー
5日前
キヤノン株式会社
トナー
今日
キヤノン株式会社
トナー
今日
キヤノン株式会社
電子機器
1か月前
キヤノン株式会社
記録装置
5日前
キヤノン株式会社
定着装置
13日前
キヤノン株式会社
撮像装置
1か月前
キヤノン株式会社
撮像装置
21日前
キヤノン株式会社
現像装置
1か月前
キヤノン株式会社
電子機器
13日前
キヤノン株式会社
電子機器
13日前
キヤノン株式会社
電子機器
28日前
キヤノン株式会社
撮像装置
13日前
キヤノン株式会社
撮像装置
1日前
キヤノン株式会社
定着装置
19日前
キヤノン株式会社
電子機器
1か月前
キヤノン株式会社
撮像装置
19日前
キヤノン株式会社
記録装置
20日前
キヤノン株式会社
定着装置
28日前
キヤノン株式会社
定着装置
28日前
キヤノン株式会社
撮像装置
5日前
キヤノン株式会社
撮像装置
20日前
キヤノン株式会社
定着装置
28日前
キヤノン株式会社
記録装置
21日前
キヤノン株式会社
収容装置
13日前
キヤノン株式会社
電子機器
21日前
キヤノン株式会社
表示装置
12日前
キヤノン株式会社
撮像装置
1か月前
キヤノン株式会社
発光装置
12日前
キヤノン株式会社
光学装置
1か月前
キヤノン株式会社
電子機器
7日前
キヤノン株式会社
電子機器
1か月前
キヤノン株式会社
電子機器
9日前
キヤノン株式会社
光学センサ
今日
キヤノン株式会社
現像剤容器
6日前
続きを見る
他の特許を見る