TOP
|
特許
|
意匠
|
商標
特許ウォッチ
Twitter
他の特許を見る
10個以上の画像は省略されています。
公開番号
2025147551
公報種別
公開特許公報(A)
公開日
2025-10-07
出願番号
2024047848
出願日
2024-03-25
発明の名称
画像形成装置
出願人
キヤノン株式会社
代理人
弁理士法人中川国際特許事務所
主分類
B41J
29/00 20060101AFI20250930BHJP(印刷;線画機;タイプライター;スタンプ)
要約
【課題】操作パネルを使用しない場合において操作パネルを邪魔にならないようにすると共に、消費電力を低減すること。
【解決手段】画像形成装置1は、画像形成に関する情報を表示し輝度を変更可能な表示部21を有する操作パネル2を備えている。操作パネル2は、表示部21の全部が装置本体1aより露出する第1の位置と、表示部21の少なくとも一部が装置本体1aの外部から視認できないように装置本体1aの内部に格納される第2の位置と、の間で移動可能に装置本体1aに設けられる。表示部21の輝度は、操作パネル2が第1の位置に位置する場合において第1の輝度であり、操作パネル2が第2の位置に位置する場合において第1の輝度よりも暗い第2の輝度である。
【選択図】図7
特許請求の範囲
【請求項1】
記録材に画像を形成する画像形成部を有する装置本体と、
画像形成に関する情報を表示し輝度を変更可能な表示部を有する操作部であって、前記表示部の全部が前記装置本体より露出する第1の位置と、前記表示部の少なくとも一部が前記装置本体の外部から視認できないように前記装置本体の内部に格納される第2の位置と、の間で移動可能に前記装置本体に設けられる操作部と、
を備え、
前記表示部の輝度は、
前記操作部が第1の位置に位置する場合において第1の輝度であり、前記操作部が第2の位置に位置する場合において前記第1の輝度よりも暗い第2の輝度である、
ことを特徴とする画像形成装置。
続きを表示(約 1,200 文字)
【請求項2】
前記表示部は、
前記第2の位置に位置する場合において消灯する、
ことを特徴とする請求項1に記載の画像形成装置。
【請求項3】
前記表示部は、
ユーザーによるタッチ操作を受け付ける、
ことを特徴とする請求項1に記載の画像形成装置。
【請求項4】
前記操作部は、
前記第1の位置に位置する場合において、前記タッチ操作に基づいて動作し、前記第2の位置に位置する場合において、前記タッチ操作に基づいて動作しない、
ことを特徴とする請求項3に記載の画像形成装置。
【請求項5】
前記操作部は、
前記タッチ操作において、前記表示部の表面におけるユーザーがタッチした位置に応じた座標を算出し、前記座標に基づいて信号を出力する出力部を有し、
前記画像形成装置は、
前記信号に基づいて前記操作部の動作を制御する制御部をさらに備える、
ことを特徴とする請求項3に記載の画像形成装置。
【請求項6】
前記出力部は、
前記操作部が前記第1の位置に位置する場合において前記信号を出力し、前記操作部が前記第2の位置に位置する場合において前記信号を出力しない、
ことを特徴とする請求項5に記載の画像形成装置。
【請求項7】
前記出力部は、
前記操作部の位置に関わらず前記信号を出力し、
前記制御部は、
前記操作部が前記第1の位置に位置する場合、前記信号に基づいて前記操作部を制御し、前記操作部が前記第2の位置に位置する場合、前記操作部を制御しない、
ことを特徴とする請求項5に記載の画像形成装置。
【請求項8】
前記画像形成装置は、
前記操作部が前記第1の位置に位置することを検知する第1のセンサと、前記操作部が前記第2の位置に位置することを検知する第2のセンサと、を備える、
ことを特徴とする請求項1に記載の画像形成装置。
【請求項9】
前記表示部は、
ユーザーによるタッチ操作を受け付け、
前記操作部は、
前記第1のセンサが、前記第1の位置に前記操作部が位置することを検知している場合において前記タッチ操作に基づいて動作し、前記第2のセンサが、第2の位置に前記操作部が位置することを検知している場合において前記タッチ操作に基づいて動作しない、
ことを特徴とする請求項8に記載の画像形成装置。
【請求項10】
前記操作部が前記第2の位置に位置する場合において、前記表示部の少なくとも一部は前記装置本体の外部から視認可能であり、
前記操作部は、
前記第1の位置と、前記第2の位置と、前記表示部の全部が前記装置本体の内部に格納される第3の位置と、に移動可能である、
ことを特徴とする請求項1に記載の画像形成装置。
(【請求項11】以降は省略されています)
発明の詳細な説明
【技術分野】
【0001】
本発明は、操作パネルを有する画像形成装置に関する。
続きを表示(約 1,800 文字)
【背景技術】
【0002】
従来、記録媒体に画像を形成する画像形成装置は、画像形成動作の進行状況又は各種の設定内容等の情報を表示するためのディスプレイを備える操作パネルを有している。近年、このような画像形成装置は、ディスプレイの視認性を向上させたり、表示する情報量を増大させるために、操作パネルを大型化していく傾向にある。
【0003】
従来の大型化した操作パネルを備える画像形成装置においては、排出された画像形成済みの記録材を取り出す際等の操作パネルを使用する必要のない場合に、操作パネルが邪魔になるという課題を有する。また、従来の大型化した操作パネルを備える画像形成装置においては、装置全体が大型化すると共に、装置の設置面積が大きくなるという課題を有する。
【0004】
これに対して、特許文献1は、タッチパネルを備える可撓性を有するディスプレイの一部を収納部に収納し、必要に応じてディスプレイを収納部より引き出すことにより、大きい画面が必要な場合に画面を拡大することができる画像形成装置を開示している。
【先行技術文献】
【特許文献】
【0005】
特開2021-53818号公報
【発明の概要】
【発明が解決しようとする課題】
【0006】
しかしながら、特許文献1においては、ディスプレイの全体を収納部に収納できないため、依然としてディスプレイが邪魔になるという課題を解決することはできない。また、特許文献1においては、ディスプレイを使用しない場合であっても、画面が点灯した状態のままになって無駄に電力を消費してしまうという課題を有する。
【0007】
本発明の目的は、操作部を使用しない場合において操作部を邪魔にならないようにすることができると共に、消費電力を低減することができる画像形成装置を提供することである。
【課題を解決するための手段】
【0008】
本発明に係る画像形成装置は、記録材に画像を形成する画像形成部を有する装置本体と、画像形成に関する情報を表示し輝度を変更可能な表示部を有する操作部であって、前記表示部の全部が前記装置本体より露出する第1の位置と、前記表示部の少なくとも一部が前記装置本体の外部から視認できないように前記装置本体の内部に格納される第2の位置と、の間で移動可能に前記装置本体に設けられる操作部と、を備え、前記表示部の輝度は、前記操作部が第1の位置に位置する場合において第1の輝度であり、前記操作部が第2の位置に位置する場合において前記第1の輝度よりも暗い第2の輝度である、ことを特徴とする。
【発明の効果】
【0009】
本発明によれば、操作部を使用しない場合において操作部を邪魔にならないようにすることができると共に、消費電力を低減することができる。
【図面の簡単な説明】
【0010】
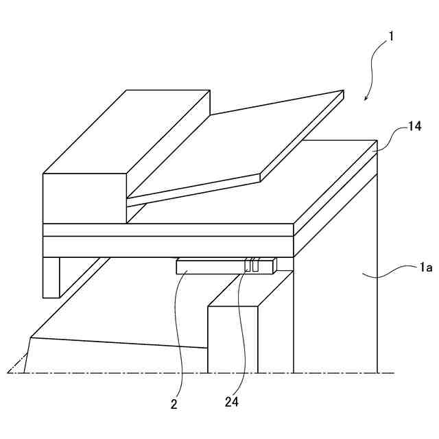
本発明の実施の形態に係る画像形成装置の模式図である。
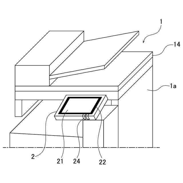
本発明の実施の形態に係る画像形成装置の操作パネルが格納状態である場合斜視図である。
本発明の実施の形態に係る画像形成装置の操作パネルが露出状態且つ回動前の状態の斜視図である。
本発明の実施の形態に係る画像形成装置の操作パネルが露出状態且つ回動後の状態の斜視図である。
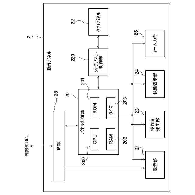
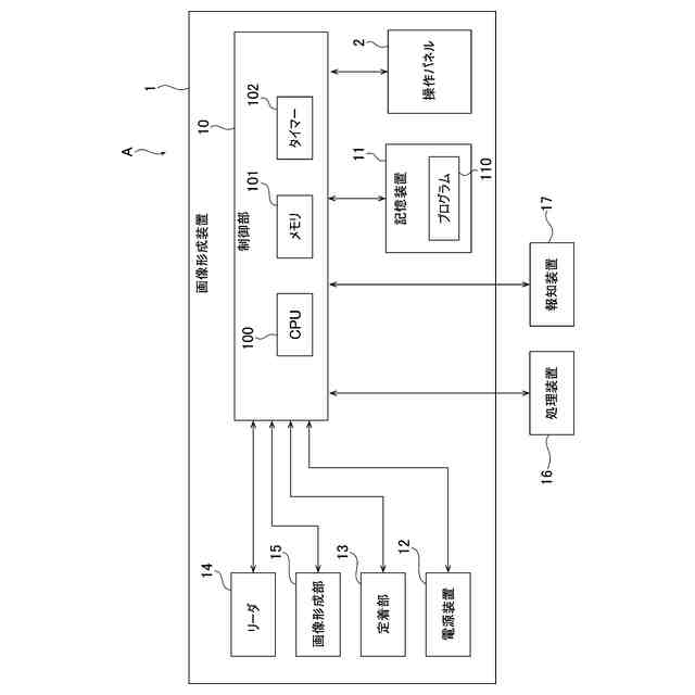
本発明の実施の形態に係る画像形成装置を含む画像形成システムの構成を示すブロック図である。
本発明の実施の形態に係る画像形成装置の操作パネルの構成を示すブロック図である。
本発明の実施の形態に係る画像形成装置の操作パネルの動作を示す図である。
本発明の実施の形態に係る画像形成装置が実行するパネル状態検知処理のフロー図である。
本発明の実施の形態に係る画像形成装置が実行する表示部格納時制御処理のフロー図である。
本発明の実施の形態に係る画像形成装置が実行するタッチパネル格納時制御処理のフロー図である。
本発明の実施の形態に係る画像形成装置が実行する表示部露出時制御処理のフロー図である。
本発明の実施の形態に係る画像形成装置が実行するタッチパネル露出時制御処理のフロー図である。
【発明を実施するための形態】
(【0011】以降は省略されています)
この特許をJ-PlatPat(特許庁公式サイト)で参照する
関連特許
キヤノン株式会社
容器
8日前
キヤノン株式会社
容器
2日前
キヤノン株式会社
トナー
29日前
キヤノン株式会社
トナー
11日前
キヤノン株式会社
トナー
24日前
キヤノン株式会社
トナー
24日前
キヤノン株式会社
トナー
24日前
キヤノン株式会社
撮像装置
8日前
キヤノン株式会社
定着装置
23日前
キヤノン株式会社
現像装置
15日前
キヤノン株式会社
撮像装置
8日前
キヤノン株式会社
記録装置
8日前
キヤノン株式会社
電子機器
1か月前
キヤノン株式会社
撮像装置
8日前
キヤノン株式会社
撮像装置
29日前
キヤノン株式会社
撮像装置
25日前
キヤノン株式会社
表示装置
2日前
キヤノン株式会社
測距装置
17日前
キヤノン株式会社
記録装置
22日前
キヤノン株式会社
記録装置
29日前
キヤノン株式会社
撮像装置
2日前
キヤノン株式会社
撮影装置
22日前
キヤノン株式会社
現像装置
22日前
キヤノン株式会社
現像容器
22日前
キヤノン株式会社
現像装置
22日前
キヤノン株式会社
現像容器
22日前
キヤノン株式会社
光学センサ
24日前
キヤノン株式会社
モジュール
24日前
キヤノン株式会社
半導体装置
1か月前
キヤノン株式会社
現像剤容器
1か月前
キヤノン株式会社
電子写真装置
9日前
キヤノン株式会社
画像形成装置
25日前
キヤノン株式会社
画像形成装置
25日前
キヤノン株式会社
画像形成装置
25日前
キヤノン株式会社
画像形成装置
25日前
キヤノン株式会社
画像形成装置
1か月前
続きを見る
他の特許を見る