TOP
|
特許
|
意匠
|
商標
特許ウォッチ
Twitter
他の特許を見る
10個以上の画像は省略されています。
公開番号
2025147552
公報種別
公開特許公報(A)
公開日
2025-10-07
出願番号
2024047849
出願日
2024-03-25
発明の名称
画像形成装置
出願人
キヤノン株式会社
代理人
弁理士法人中川国際特許事務所
主分類
B41J
29/38 20060101AFI20250930BHJP(印刷;線画機;タイプライター;スタンプ)
要約
【課題】操作パネルが格納位置又は露出位置に位置することを検知することに加えて、操作パネルが露出位置と格納位置との間に位置することを検知すること。
【解決手段】操作パネル2の露出位置、格納位置及び中間位置に応じて状態が変化する検知センサ30及び検知センサ31と、検知センサ30及び検知センサ31の状態に基づいて操作パネル2の露出状態、格納状態又は中間状態を判定する制御部10と、を有する。
【選択図】図2
特許請求の範囲
【請求項1】
記録材に画像を形成する画像形成装置であって、
記録材に画像を形成する画像形成部を有する装置本体と、
画像形成に関する情報を表示する表示部を有する操作部であって、前記表示部の全部が前記装置本体より外部に露出する露出状態となる露出位置と、前記表示部の全部が前記装置本体の外部から視認できないように前記装置本体の内部に格納される格納状態となる格納位置と、の間で移動可能に前記装置本体に設けられると共に、前記露出位置と前記格納位置との間の中間位置において前記表示部の一部が前記装置本体より露出する中間状態となる操作部と、
前記操作部の前記露出位置、前記格納位置及び前記中間位置に応じて状態が変化する状態変化部と、
前記状態変化部の状態に基づいて前記操作部の前記露出状態、前記格納状態又は前記中間状態を判定する制御部と、
を有することを特徴とする画像形成装置。
続きを表示(約 1,100 文字)
【請求項2】
前記操作部は、
前記露出位置から一方向に移動することにより前記中間位置を経て前記格納位置に到達し、前記格納位置から前記一方向の反対方向に移動することにより前記中間位置を経て前記露出位置に到達する、
ことを特徴とする請求項1に記載の画像形成装置。
【請求項3】
前記操作部は、
操作可能な操作部を備え、
前記格納状態は、
前記操作部の全体が目視できない状態である、
ことを特徴とする請求項1又は請求項2に記載の画像形成装置。
【請求項4】
前記操作部は、
操作可能な操作部を備え、
前記露出状態は、
前記操作部の全体が目視できる状態である、
ことを特徴とする請求項1又は請求項2に記載の画像形成装置。
【請求項5】
前記操作部は、
操作可能な操作部を備え、
前記中間状態は、
前記操作部の一部が目視できる状態である、
ことを特徴とする請求項1又は請求項2に記載の画像形成装置。
【請求項6】
前記操作部に電力を供給する電力供給部を有し、
前記操作部は、
所定の画像を表示する表示部を備え、
前記電力供給部は、
前記露出状態、前記中間状態及び前記格納状態に応じて、前記表示部に対して電力を供給し又は電力の供給を停止する、
ことを特徴とする請求項1又は請求項2に記載の画像形成装置。
【請求項7】
前記操作部に電力を供給する電力供給部を有し、
前記操作部は、
タッチパネルを備え、
前記電力供給部は、
前記露出状態、前記中間状態及び前記格納状態に応じて、前記タッチパネルに対して電力を供給し又は電力の供給を停止する、
ことを特徴とする請求項1又は請求項2に記載の画像形成装置。
【請求項8】
前記操作部は、
所定の画像を表示すると共に、前記格納状態、前記露出状態及び前記中間状態に応じて前記画像の表示態様を変更する表示部を備える、
ことを特徴とする請求項1又は請求項2に記載の画像形成装置。
【請求項9】
前記状態変化部は、
前記操作部の移動方向に沿って配列される第1の状態変化部と第2の状態変化部とを含み、
前記制御部は、
前記第1の状態変化部の状態と、前記第2の状態変化部の状態と、に基づいて、複数の異なる前記中間状態のうちの何れの中間状態であるのかを判定する、
ことを特徴とする請求項1又は請求項2に記載の画像形成装置。
発明の詳細な説明
【技術分野】
【0001】
本発明は、操作パネルを有する画像形成装置に関する。
続きを表示(約 2,100 文字)
【背景技術】
【0002】
従来、記録媒体に画像を形成する画像形成装置は、画像形成動作の進行状況又は各種の設定内容等の情報を表示するためのディスプレイを備える操作パネルを有している。近年、このような画像形成装置は、ディスプレイの視認性を向上させたり、表示する情報量を増大させるために、操作パネルを大型化していく傾向にある。
【0003】
特許文献1は、表面にタッチパネルを有する可撓性を有するディスプレイの一部を収納部に収納すると共に、必要に応じてディスプレイを収納部より引き出すことにより、大きい画面が必要な場合に画面を拡大することができる画像形成装置を開示している。
【0004】
また、特許文献2は、画像形成装置の内部に収納可能な操作部を有する画像形成装置を開示している。特許文献2の画像形成装置は、操作部の画像形成装置の外部に突出する突出位置を検知する突出検知センサと、操作部の画像形成装置の内部に収納される収納位置を検知する収納検知センサと、を有する。
【先行技術文献】
【特許文献】
【0005】
特開2021-53818号公報
特開2010-160337号公報
【発明の概要】
【発明が解決しようとする課題】
【0006】
しかしながら、特許文献2においては、操作部が突出位置と収納位置との間に位置する状態を検知することができないという課題を有する。
【0007】
本発明の目的は、操作パネルが格納位置又は露出位置に位置することを検知することができることに加えて、操作パネルが露出位置と格納位置との間に位置することを検知することができる画像形成装置を提供することである。
【課題を解決するための手段】
【0008】
本発明に係る画像形成装置は、記録材に画像を形成する画像形成装置であって、記録材に画像を形成する画像形成部を有する装置本体と、画像形成に関する情報を表示する表示部を有する操作部であって、前記表示部の全部が前記装置本体より外部に露出する露出状態となる露出位置と、前記表示部の全部が前記装置本体の外部から視認できないように前記装置本体の内部に格納される格納状態となる格納位置と、の間で移動可能に前記装置本体に設けられると共に、前記露出位置と前記格納位置との間の中間位置において前記表示部の一部が前記装置本体より露出する中間状態となる操作部と、前記操作部の前記露出位置、前記格納位置及び前記中間位置に応じて状態が変化する状態変化部と、前記状態変化部の状態に基づいて前記操作部の前記露出状態、前記格納状態又は前記中間状態を判定する制御部と、を有することを特徴とする。
【発明の効果】
【0009】
本発明によれば、操作パネルが格納位置又は露出位置に位置することを検知することができることに加えて、操作パネルが露出位置と格納位置との間に位置することを検知することができる。
【図面の簡単な説明】
【0010】
本発明の実施の形態1に係る画像形成装置の模式図である。
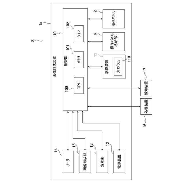
本発明の実施の形態1に係る画像形成装置を含む画像形成システムの構成を示すブロック図である。
本発明の実施の形態1に係る画像形成装置の操作パネルの構成を示すブロック図である。
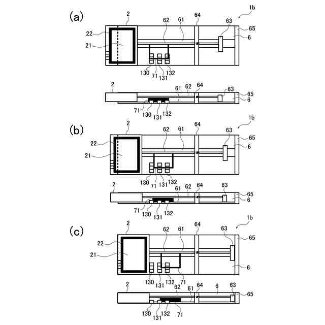
本発明の実施の形態1に係る画像形成装置の操作パネルの動作を示す図である。
本発明の実施の形態1に係る画像形成装置の操作パネルが露出状態において回動した状態を示す図である。
本発明の実施の形態1に係る画像形成装置の操作パネルの状態を検知する方法を示す図である。
本発明の実施の形態1に係る画像形成装置が実行するパネル状態検知処理のフロー図である。
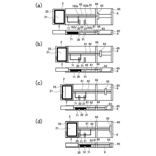
本発明の実施の形態2に係る画像形成装置の操作パネルの露出状態から第4の中間状態までの状態を検知する方法を示す図である。
本発明の実施の形態2に係る画像形成装置の操作パネルの第5の中間状態から格納状態までの状態を検知する方法を示す図である。
本発明の実施の形態2に係る画像形成装置が実行するパネル状態検知処理のフロー図である。
本発明の実施の形態3に係る画像形成装置の操作パネルの状態を検知する方法を示す図である。
本発明の実施の形態4に係る画像形成装置の操作パネルの状態を検知する方法を示す図である。
本発明の実施の形態5に係る画像形成装置の操作パネルの状態を検知する方法を示す図である。
本発明の実施の形態5に係る画像形成装置が実行するパネル状態検知処理のフロー図である。
本発明の実施の形態6に係る画像形成装置の操作パネルの状態を検知する方法を示す図である。
本発明の実施の形態6に係る画像形成装置が実行するパネル状態検知処理のフロー図である。
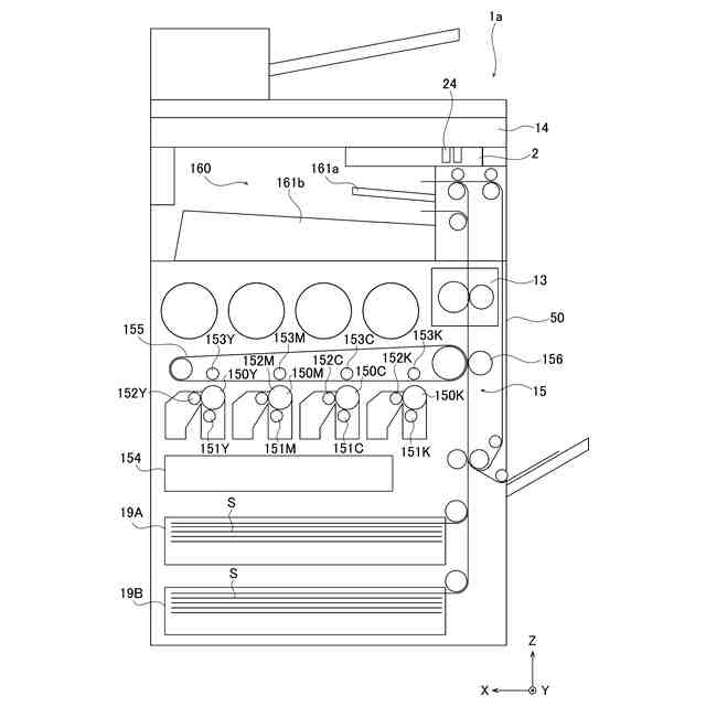
本発明の実施の形態1から実施の形態5に係る画像形成装置の一部の部材の斜視図である。
【発明を実施するための形態】
(【0011】以降は省略されています)
この特許をJ-PlatPat(特許庁公式サイト)で参照する
関連特許
キヤノン株式会社
容器
9日前
キヤノン株式会社
容器
3日前
キヤノン株式会社
トナー
25日前
キヤノン株式会社
トナー
25日前
キヤノン株式会社
トナー
25日前
キヤノン株式会社
トナー
12日前
キヤノン株式会社
現像装置
23日前
キヤノン株式会社
撮影装置
23日前
キヤノン株式会社
測距装置
18日前
キヤノン株式会社
現像装置
16日前
キヤノン株式会社
現像容器
23日前
キヤノン株式会社
現像装置
23日前
キヤノン株式会社
現像容器
23日前
キヤノン株式会社
撮像装置
9日前
キヤノン株式会社
撮像装置
9日前
キヤノン株式会社
撮像装置
9日前
キヤノン株式会社
表示装置
3日前
キヤノン株式会社
記録装置
23日前
キヤノン株式会社
記録装置
9日前
キヤノン株式会社
定着装置
24日前
キヤノン株式会社
撮像装置
3日前
キヤノン株式会社
モジュール
25日前
キヤノン株式会社
画像形成装置
16日前
キヤノン株式会社
画像形成装置
16日前
キヤノン株式会社
情報処理装置
5日前
キヤノン株式会社
電子写真装置
16日前
キヤノン株式会社
画像形成装置
6日前
キヤノン株式会社
光電変換装置
6日前
キヤノン株式会社
画像形成装置
12日前
キヤノン株式会社
画像形成装置
5日前
キヤノン株式会社
画像形成装置
12日前
キヤノン株式会社
画像形成装置
12日前
キヤノン株式会社
画像形成装置
6日前
キヤノン株式会社
印刷システム
11日前
キヤノン株式会社
電子写真装置
10日前
キヤノン株式会社
画像形成装置
10日前
続きを見る
他の特許を見る