TOP
|
特許
|
意匠
|
商標
特許ウォッチ
Twitter
他の特許を見る
10個以上の画像は省略されています。
公開番号
2025145078
公報種別
公開特許公報(A)
公開日
2025-10-03
出願番号
2024045072
出願日
2024-03-21
発明の名称
画像表示装置
出願人
キヤノン株式会社
代理人
個人
,
個人
,
個人
主分類
G02B
27/02 20060101AFI20250926BHJP(光学)
要約
【課題】 左右の眼に異なる画角の画像を表示する際に、単眼領域と両眼領域との境界部が目立たない自然な画像を表示することが可能な画像表示装置を提供する。
【解決手段】 画像表示装置(101)は、第1、第2表示素子(107、106)と、第1、第2表示素子に表示される第1、第2画像をユーザの左右の眼球にそれぞれ導く第1、第2光学系(105、104)と、第1、第2画像のそれぞれの輝度を調整する調整手段(120)とを有し、第1画像は第1、第2領域を有し、第2画像は第3、第4領域を有し、第2、第3領域は両眼領域であり、第1、第4領域は単眼領域であり、調整手段は、第2領域の第1位置(P1)から右方向へ第1画像の輝度を減少させ、第3領域の第2位置(P2)から左方向へ第2画像の輝度を減少させ、第1、第2画像の少なくとも一つの明るさに応じて、第1、第2位置の少なくとも一つを変更する。
【選択図】図1
特許請求の範囲
【請求項1】
第1表示素子および第2表示素子と、
前記第1表示素子に表示される第1画像および前記第2表示素子に表示される第2画像を、ユーザの左右の眼球に対応する第1射出瞳および第2射出瞳にそれぞれ導く第1光学系および第2光学系と、
前記第1画像および前記第2画像のそれぞれの輝度を調整する調整手段とを有し、
前記第1画像は、ユーザの左側から右側へ順に、第1領域と第2領域とを有し、
前記第2画像は、ユーザの左側から右側へ順に、第3領域と第4領域とを有し、
前記第1画像の前記第2領域および前記第2画像の前記第3領域は、ユーザの両眼で観察可能な両眼領域であり、
前記第1画像の前記第1領域および前記第2画像の前記第4領域は、ユーザの片眼で観察可能な単眼領域であり、
前記調整手段は、
前記第1画像の前記第2領域における第1位置から右方向へ前記第1画像の輝度を減少させ、前記第2画像の前記第3領域における第2位置から左方向へ前記第2画像の輝度を減少させ、
前記第1画像および前記第2画像の少なくとも一つの明るさに応じて、前記第1位置および前記第2位置の少なくとも一つを変更することを特徴とする画像表示装置。
続きを表示(約 1,400 文字)
【請求項2】
前記調整手段は、前記明るさが所定の明るさよりも暗い場合、前記第1位置を右方向に移動させ、前記第2位置を左方向に移動させることを特徴とする請求項1に記載の画像表示装置。
【請求項3】
第1表示素子および第2表示素子と、
前記第1表示素子に表示される第1画像および前記第2表示素子に表示される第2画像を、ユーザの左右の眼球に対応する第1射出瞳および第2射出瞳にそれぞれ導く第1光学系および第2光学系と、
前記第1画像および前記第2画像のそれぞれの輝度を調整する調整手段とを有し、
前記第1画像は、ユーザの左側から右側へ順に、第1領域と第2領域とを有し、
前記第2画像は、ユーザの左側から右側へ順に、第3領域と第4領域とを有し、
前記第1画像の前記第2領域および前記第2画像の前記第3領域は、ユーザの両眼で観察可能な両眼領域であり、
前記第1画像の前記第1領域および前記第2画像の前記第4領域は、ユーザの片眼で観察可能な単眼領域であり、
前記調整手段は、
前記第1画像の前記第2領域における第1位置から右方向へ前記第1画像の輝度を減少させ、前記第2画像の前記第3領域における第2位置から左方向へ前記第2画像の輝度を減少させ、
前記第1光学系および前記第2光学系の少なくとも一つの光学有効径に応じて、前記第1位置および前記第2位置の少なくとも一つを変更することを特徴とする画像表示装置。
【請求項4】
前記光学有効径は、第1有効径と、該第1有効径よりも小さい第2有効径とを含み、
前記調整手段は、前記第2有効径の領域において、前記第1有効径の領域に対して、前記第1位置を右方向に移動させ、前記第2位置を左方向に移動させることを特徴とする請求項3に記載の画像表示装置。
【請求項5】
前記第2有効径は、前記両眼領域と前記単眼領域との境界部よりも内側の画角にあることを特徴とする請求項4に記載の画像表示装置。
【請求項6】
前記第1光学系および前記第2光学系はそれぞれ、水平方向に対して非対称の2つの前記第2有効径を有することを特徴とする請求項4に記載の画像表示装置。
【請求項7】
前記調整手段は、前記第2有効径の領域における光量低下に応じて、前記輝度の勾配を変更することを特徴とする請求項4に記載の画像表示装置。
【請求項8】
前記調整手段は、前記第1画像および前記第2画像の少なくとも一つの明るさに応じて、前記第1位置および前記第2位置の少なくとも一つを変更することを特徴とする請求項3に記載の画像表示装置。
【請求項9】
前記両眼領域の水平画角は40°以上であり、
前記単眼領域のうち前記第1領域または前記第4領域の面積をA、前記両眼領域の面積をBとするとき、
0.10≦A/B≦0.45
なる条件式を満足することを特徴とする請求項1乃至8のいずれか一項に記載の画像表示装置。
【請求項10】
前記第1位置または前記第2位置での水平表示画角1°あたりの輝度変化率は、輝度勾配領域の中央位置での輝度変化率よりも小さいことを特徴とする請求項1乃至8のいずれか一項に記載の画像表示装置。
(【請求項11】以降は省略されています)
発明の詳細な説明
【技術分野】
【0001】
本発明は、画像表示装置に関する。
続きを表示(約 2,000 文字)
【背景技術】
【0002】
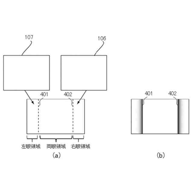
従来、ユーザの左右の眼に異なる画角の画像(単眼領域)を表示し、一部の画角(両眼領域)を左右の眼で重なるように表示することで、広画角の画像を表示することが可能なヘッドマウントディスプレイ(HMD)などの画像表示装置が知られている。このような画像表示装置において、単眼領域と両眼領域との境界部が目立ってしまう場合がある。
【0003】
特許文献1には、両眼領域において境界部に向かって減光フィルタまたは画像処理で画像の輝度を低下させることで、単眼領域と両眼領域との境界部を目立たなくする技術が開示されている。特許文献2には、両眼領域において境界部に向かって減光フィルタまたは画像処理で画像の輝度を低下させる場合の開始位置を可変にする技術が開示されている。
【先行技術文献】
【特許文献】
【0004】
特開2003-337299号公報
特開2017-212720号公報
【発明の概要】
【発明が解決しようとする課題】
【0005】
しかしながら、接眼光学系のレンズがユーザの鼻および額にあたらないようにレンズに鼻逃げ部や額逃げ部がある場合、光学有効径が狭くなるため光量が低下する。特許文献1および特許文献2に開示された技術では、接眼光学系のレンズによる光量落ちが考慮されていない。このため、画像の輝度の低下にレンズの光量落ちが重なるため、必要以上に画像が暗くなり自然な観察ができない可能性がある。
【0006】
そこで本発明は、左右の眼に異なる画角の画像を表示する際に、単眼領域と両眼領域との境界部が目立たない自然な画像を表示することが可能な画像表示装置を提供することを目的とする。
【課題を解決するための手段】
【0007】
本発明の一側面としての画像表示装置は、第1表示素子および第2表示素子と、前記第1表示素子に表示される第1画像および前記第2表示素子に表示される第2画像を、ユーザの左右の眼球に対応する第1射出瞳および第2射出瞳にそれぞれ導く第1光学系および第2光学系と、前記第1画像および前記第2画像のそれぞれの輝度を調整する調整手段とを有し、前記第1画像は、ユーザの左側から右側へ順に、第1領域と第2領域とを有し、前記第2画像は、ユーザの左側から右側へ順に、第3領域と第4領域とを有し、前記第1画像の前記第2領域および前記第2画像の前記第3領域は、ユーザの両眼で観察可能な両眼領域であり、前記第1画像の前記第1領域および前記第2画像の前記第4領域は、ユーザの片眼で観察可能な単眼領域であり、前記調整手段は、前記第1画像の前記第2領域における第1位置から右方向へ前記第1画像の輝度を減少させ、前記第2画像の前記第3領域における第2位置から左方向へ前記第2画像の輝度を減少させ、前記第1画像および前記第2画像の少なくとも一つの明るさに応じて、前記第1位置および前記第2位置の少なくとも一つを変更する。
【0008】
本発明の他の目的及び特徴は、以下の実施形態において説明される。
【発明の効果】
【0009】
本発明によれば、左右の眼に異なる画角の画像を表示する際に、単眼領域と両眼領域との境界部が目立たない自然な画像を表示することが可能な画像表示装置を提供することができる。
【図面の簡単な説明】
【0010】
第1実施形態における画像表示装置の説明図である。
第1実施形態における接眼光学系の説明図である。
第1実施形態における画像表示装置の外観図である。
第1実施形態における両眼での画像の見え方の説明図である。
第1実施形態における輝度勾配の説明図である。
第1実施形態における輝度勾配の逆ガンマ補正の説明図である。
第1実施形態における接眼光学系の説明図である。
第1実施形態における接眼光学系による画像の光量低下の説明図である。
第1実施形態におけるグラデーション処理の説明図である。
第2実施形態における画像表示装置の説明図である。
第2実施形態における接眼光学系の説明図である。
第2実施形態における接眼光学系の説明図である。
第2実施形態におけるグラデーション処理の説明図である。
第2実施形態におけるグラデーション処理の説明図である。
第3実施形態における画像表示装置の説明図である。
第3実施形態における接眼光学系の説明図である。
第3実施形態における接眼光学系の説明図である。
【発明を実施するための形態】
(【0011】以降は省略されています)
この特許をJ-PlatPat(特許庁公式サイト)で参照する
関連特許
キヤノン株式会社
トナー
2日前
キヤノン株式会社
トナー
7日前
キヤノン株式会社
トナー
2日前
キヤノン株式会社
トナー
2日前
キヤノン株式会社
記録装置
今日
キヤノン株式会社
撮影装置
今日
キヤノン株式会社
撮像装置
7日前
キヤノン株式会社
記録装置
7日前
キヤノン株式会社
定着装置
1日前
キヤノン株式会社
撮像装置
3日前
キヤノン株式会社
現像容器
今日
キヤノン株式会社
電子機器
9日前
キヤノン株式会社
現像装置
今日
キヤノン株式会社
現像容器
今日
キヤノン株式会社
現像装置
今日
キヤノン株式会社
モジュール
2日前
キヤノン株式会社
半導体装置
9日前
キヤノン株式会社
光学センサ
2日前
キヤノン株式会社
現像剤容器
8日前
キヤノン株式会社
カートリッジ
今日
キヤノン株式会社
情報処理装置
7日前
キヤノン株式会社
画像形成装置
8日前
キヤノン株式会社
画像形成装置
8日前
キヤノン株式会社
画像形成装置
8日前
キヤノン株式会社
情報処理装置
今日
キヤノン株式会社
画像表示装置
7日前
キヤノン株式会社
吐出素子基板
7日前
キヤノン株式会社
画像形成装置
今日
キヤノン株式会社
カートリッジ
今日
キヤノン株式会社
画像形成装置
1日前
キヤノン株式会社
画像形成装置
7日前
キヤノン株式会社
画像形成装置
7日前
キヤノン株式会社
画像形成装置
1日前
キヤノン株式会社
画像形成装置
7日前
キヤノン株式会社
画像形成装置
3日前
キヤノン株式会社
画像形成装置
今日
続きを見る
他の特許を見る