TOP
|
特許
|
意匠
|
商標
特許ウォッチ
Twitter
他の特許を見る
10個以上の画像は省略されています。
公開番号
2025140181
公報種別
公開特許公報(A)
公開日
2025-09-29
出願番号
2024039389
出願日
2024-03-13
発明の名称
画像形成装置
出願人
キヤノン株式会社
代理人
弁理士法人近島国際特許事務所
主分類
G03G
21/16 20060101AFI20250919BHJP(写真;映画;光波以外の波を使用する類似技術;電子写真;ホログラフイ)
要約
【課題】定着装置が支持部から脱落するのを抑制可能な画像形成装置を提供する。
【解決手段】画像形成装置は、開口部を有する装置本体と、閉位置と開位置との間で装置本体に対して開閉可能に支持される開閉部材と、開口部を介して装置本体に対して着脱可能に支持され、シートに熱及び圧力を付与することでトナー像をシートに定着させる定着装置と、装置本体に設けられ、定着装置を第1位置から第1位置とは異なる第2位置に向けて移動可能な移動ユニットと、を備える。定着装置は、開閉部材が閉位置に位置する状態で、第1位置から第2位置への移動が規制され、開閉部材が開位置に位置する状態で、移動ユニットによる第1位置から第2位置への移動が許容される。移動ユニットは、第2位置に位置する定着装置を着脱可能に支持する支持部と、支持部に支持された定着装置が支持部から脱落するのを規制する規制部と、を有する。
【選択図】図11
特許請求の範囲
【請求項1】
シートにトナー像を形成する画像形成装置において、
開口部を有する装置本体と、
前記開口部を覆う閉位置と、前記開口部を開放する開位置と、の間で前記装置本体に対して開閉可能に支持される開閉部材と、
前記開口部を介して前記装置本体に対して着脱可能に支持され、シートに熱及び圧力を付与することでトナー像をシートに定着させる定着装置と、
前記装置本体に設けられ、前記定着装置を第1位置から前記第1位置とは異なる第2位置に向けて移動可能な移動ユニットと、を備え、
前記定着装置は、前記開閉部材が前記閉位置に位置する状態で、前記第1位置から前記第2位置への移動が規制され、前記開閉部材が前記開位置に位置する状態で、前記移動ユニットによる前記第1位置から前記第2位置への移動が許容され、
前記移動ユニットは、前記第2位置に位置する前記定着装置を着脱可能に支持する支持部と、前記支持部に支持された前記定着装置が前記支持部から脱落するのを規制する規制部と、を有する、
ことを特徴とする画像形成装置。
続きを表示(約 1,100 文字)
【請求項2】
前記支持部は、前記定着装置の長手方向に延び、前記定着装置を下方から支持する、
ことを特徴とする請求項1に記載の画像形成装置。
【請求項3】
前記第1位置に位置する前記定着装置は、前記定着装置の長手方向に見て、前記閉位置に位置する前記開閉部材に重ならず、
前記第2位置に位置する前記定着装置は、前記定着装置の長手方向に見て、前記閉位置に位置する前記開閉部材に少なくとも一部が重なる、
ことを特徴とする請求項1に記載の画像形成装置。
【請求項4】
前記第2位置は、前記第1位置よりも上方の位置である、
ことを特徴とする請求項1に記載の画像形成装置。
【請求項5】
前記規制部は、前記定着装置が前記支持部から、前記開位置に位置する前記開閉部材に向けて脱落するのを規制する、
ことを特徴とする請求項1に記載の画像形成装置。
【請求項6】
前記規制部は、前記定着装置の長手方向及び鉛直方向の両方に交差する交差方向において前記定着装置と対向する第1規制部材と、前記長手方向において前記第1規制部材とは異なる位置に配置され、前記交差方向において前記定着装置と対向する第2規制部材と、を有する、
ことを特徴とする請求項1に記載の画像形成装置。
【請求項7】
前記長手方向において、前記第1規制部材と前記第2規制部材との間の距離は、前記画像形成装置に使用可能な最大サイズのシートの幅よりも長い、
ことを特徴とする請求項6に記載の画像形成装置。
【請求項8】
前記定着装置は、開閉可能なカバーを有し、
前記規制部は、前記定着装置の長手方向において、前記カバーよりも外側に配置されている、
ことを特徴とする請求項1に記載の画像形成装置。
【請求項9】
前記規制部は、前記支持部に回動可能に支持されている、
ことを特徴とする請求項1に記載の画像形成装置。
【請求項10】
前記移動ユニットは、前記開閉部材が前記閉位置に位置する際に位置する収納位置と、前記第2位置に位置する前記定着装置を支持可能な支持位置と、の間で移動可能であり、
前記移動ユニットが前記支持位置に位置し、かつ前記定着装置が前記移動ユニットの前記支持部から取り外された状態で、前記開閉部材が前記開位置から前記閉位置に移動されると、前記規制部は、前記開閉部材に押圧されることで回動する、
ことを特徴とする請求項9に記載の画像形成装置。
(【請求項11】以降は省略されています)
発明の詳細な説明
【技術分野】
【0001】
本発明は、シートにトナー像を形成する画像形成装置に関する。
続きを表示(約 1,800 文字)
【背景技術】
【0002】
従来、装置本体に回動可能に設けられる1対のアーム部材と、該アーム部材の先端部に保持される定着装置と、を備えた画像形成装置が提案されている(特許文献1参照)。定着装置は、1対のアーム部材を回動させることにより、内部装着位置と、内部装着位置よりも装置本体の開口部に近い一時保持位置と、の間で移動可能に構成されている。
【先行技術文献】
【特許文献】
【0003】
特開2012-047806号公報
【発明の概要】
【発明が解決しようとする課題】
【0004】
しかしながら、特許文献1に記載の定着装置は、定着装置に強い外力が作用すると、1対のアーム部材から脱落してしまう虞がある。例えば、定着装置に挟持された状態でジャムしたシートを処理する際には、ユーザがシートを引っ張ることで、定着装置がアーム部材から脱落してしまう虞がある。
【0005】
本発明は、定着装置が支持部から脱落するのを抑制可能な画像形成装置を提供することを目的とする。
【課題を解決するための手段】
【0006】
本発明は、シートにトナー像を形成する画像形成装置において、開口部を有する装置本体と、前記開口部を覆う閉位置と、前記開口部を開放する開位置と、の間で前記装置本体に対して開閉可能に支持される開閉部材と、前記開口部を介して前記装置本体に対して着脱可能に支持され、シートに熱及び圧力を付与することでトナー像をシートに定着させる定着装置と、前記装置本体に設けられ、前記定着装置を第1位置から前記第1位置とは異なる第2位置に向けて移動可能な移動ユニットと、を備え、前記定着装置は、前記開閉部材が前記閉位置に位置する状態で、前記第1位置から前記第2位置への移動が規制され、前記開閉部材が前記開位置に位置する状態で、前記移動ユニットによる前記第1位置から前記第2位置への移動が許容され、前記移動ユニットは、前記第2位置に位置する前記定着装置を着脱可能に支持する支持部と、前記支持部に支持された前記定着装置が前記支持部から脱落するのを規制する規制部と、を有する、ことを特徴とする。
【発明の効果】
【0007】
本発明によると、定着装置が支持部から脱落するのを抑制することができる。
【図面の簡単な説明】
【0008】
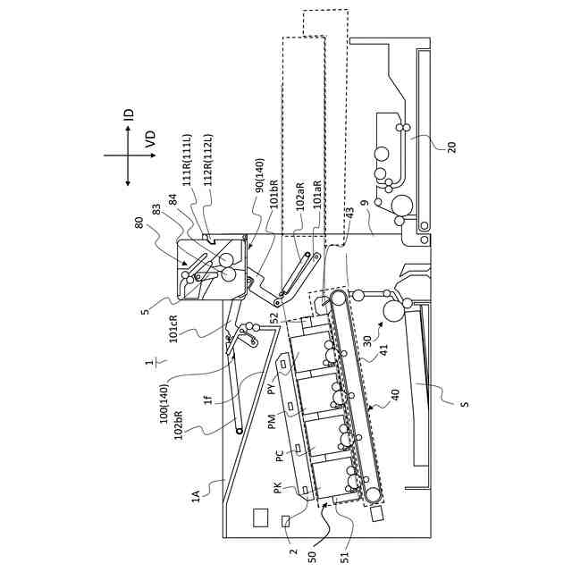
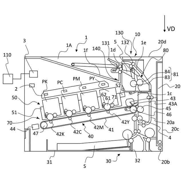
画像形成装置を示す断面図。
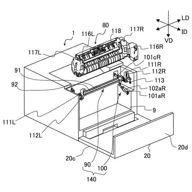
移動ユニットから定着装置が取り外された状態を示す斜視図。
ドアが開いた状態の画像形成装置を示す断面図。
定着装置が第2位置まで上昇した状態の画像形成装置を示す断面図。
転写ユニット及びトレイユニットが開口部から引き出された状態の画像形成装置を示す断面図。
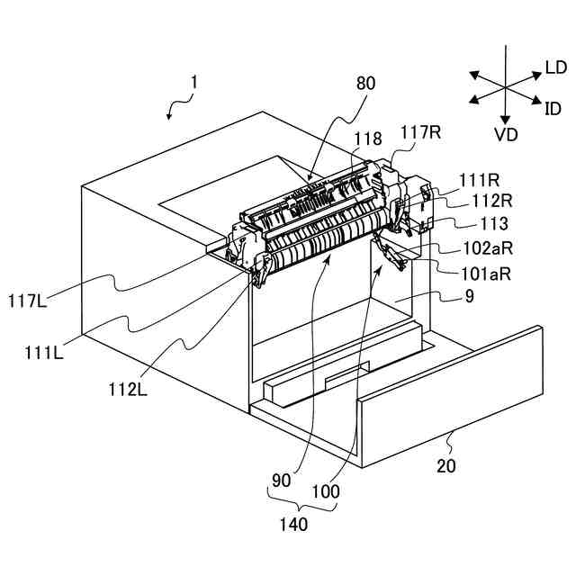
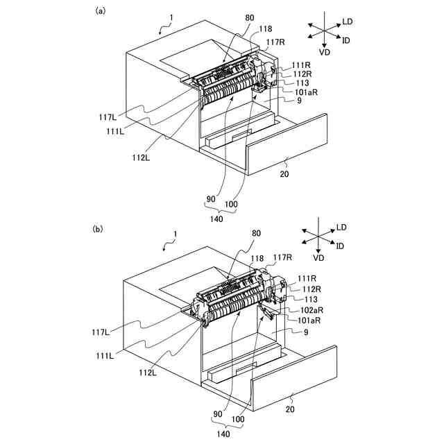
(a)はドアが開かれた状態の画像形成装置を示す斜視図、(b)は第2位置に位置する定着装置を示す斜視図。
(a)は左側の規制部材及びロック部材を示す拡大斜視図、(b)は右側の規制部材、ロック部材及び解除レバーを示す拡大斜視図。
ロック部材が取外し許容位置に移動した様子を示す斜視図。
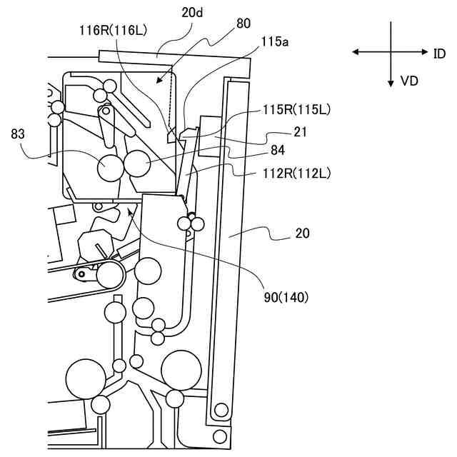
ドアの押圧リブがロック部材を押圧する様子を示す断面図。
ドアの天面が規制部材を押圧する様子を示す断面図。
定着装置に挟持された状態のシートをジャム処理する様子を示す斜視図。
【発明を実施するための形態】
【0009】
〔全体構成〕
本実施の形態に係る画像形成装置1は、電子写真方式のフルカラーレーザビームプリンタである。図1は、画像形成装置1を示す断面図である。
【0010】
なお、画像形成装置とは、プリンタ、複写機、ファクシミリ、及び複合機を含み、外部PCから入力された画像情報や原稿から読取った画像情報に基づいて、記録媒体として用いられるシートに画像を形成する装置を指すものとする。また、画像形成装置は、画像形成機能を有する本体に加えて、オプションフィーダ、画像読取装置、シート処理装置等の付属機器が連結される場合があるが、このような付属機器が連結されたシステム全体も画像形成装置の一種である。また、シートは、用紙及び封筒等の紙、オーバーヘッドプロジェクタ用シート(OHP)等のプラスチックフィルム、布などを含む。
(【0011】以降は省略されています)
この特許をJ-PlatPat(特許庁公式サイト)で参照する
関連特許
キヤノン株式会社
トナー
今日
キヤノン株式会社
撮像装置
今日
キヤノン株式会社
画像形成装置
今日
キヤノン株式会社
画像形成装置
今日
キヤノン株式会社
画像表示装置
今日
キヤノン株式会社
吐出素子基板
今日
キヤノン株式会社
情報処理装置
今日
キヤノン株式会社
画像形成装置
今日
キヤノン株式会社
電極構造体の製造方法
今日
キヤノン株式会社
プログラムおよび管理装置
今日
キヤノン株式会社
表示光学系および表示装置
今日
キヤノン株式会社
レンズ装置および撮像装置
今日
キヤノン株式会社
プログラム、端末装置、方法
今日
キヤノン株式会社
情報処理装置及びその制御方法
今日
キヤノン株式会社
情報処理装置及び情報処理方法
今日
キヤノン株式会社
有機金属錯体及び有機発光素子
今日
キヤノン株式会社
シート搬送装置及び画像形成装置
今日
キヤノン株式会社
情報変換システムおよび情報変換装置
今日
キヤノン株式会社
情報処理装置、処理方法およびプログラム
今日
キヤノン株式会社
情報処理装置、処理方法およびプログラム
今日
キヤノン株式会社
負極構造体及び二次電池並びにその製造方法
今日
キヤノン株式会社
処理システム、処理方法、及び物品の製造方法
今日
キヤノン株式会社
ネットワークデバイス、方法、及びプログラム
今日
キヤノン株式会社
画像処理装置、画像処理方法、およびプログラム
今日
キヤノン株式会社
記録媒体、及び立体画像を有する記録物の製造方法
今日
キヤノン株式会社
負極形成用転写部材及び負極構造体並びにその製造方法
今日
キヤノン株式会社
識別装置
今日
キヤノン株式会社
画像処理装置、画像処理装置の制御方法、及びプログラム
今日
キヤノン株式会社
画像処理装置、画像処理方法、プログラム、およびシステム
今日
キヤノン株式会社
信号処理装置、信号処理方法、及びコンピュータプログラム
今日
キヤノン株式会社
水性インク、インクカートリッジ、及びインクジェット記録方法
今日
キヤノン株式会社
情報符号化装置及び方法、情報復号装置、プログラム、記憶媒体
今日
キヤノン株式会社
定着装置及び画像形成装置
今日
キヤノン株式会社
トナー及びトナーの製造方法
今日
キヤノン株式会社
画像処理装置、画像処理方法
今日
キヤノン株式会社
画像読取装置及び画像形成装置
今日
続きを見る
他の特許を見る