TOP
|
特許
|
意匠
|
商標
特許ウォッチ
Twitter
他の特許を見る
公開番号
2025145184
公報種別
公開特許公報(A)
公開日
2025-10-03
出願番号
2024045238
出願日
2024-03-21
発明の名称
処理システム、処理方法、及び物品の製造方法
出願人
キヤノン株式会社
代理人
弁理士法人近島国際特許事務所
主分類
F26B
5/04 20060101AFI20250926BHJP(乾燥)
要約
【課題】乾燥のスループットを向上させるのに有利な技術を提供する。
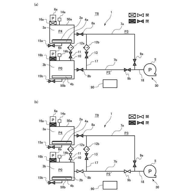
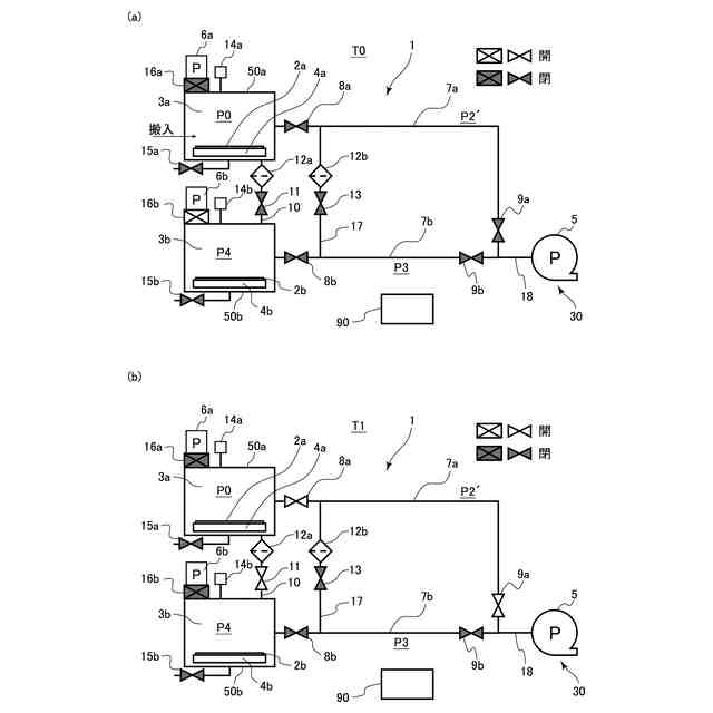
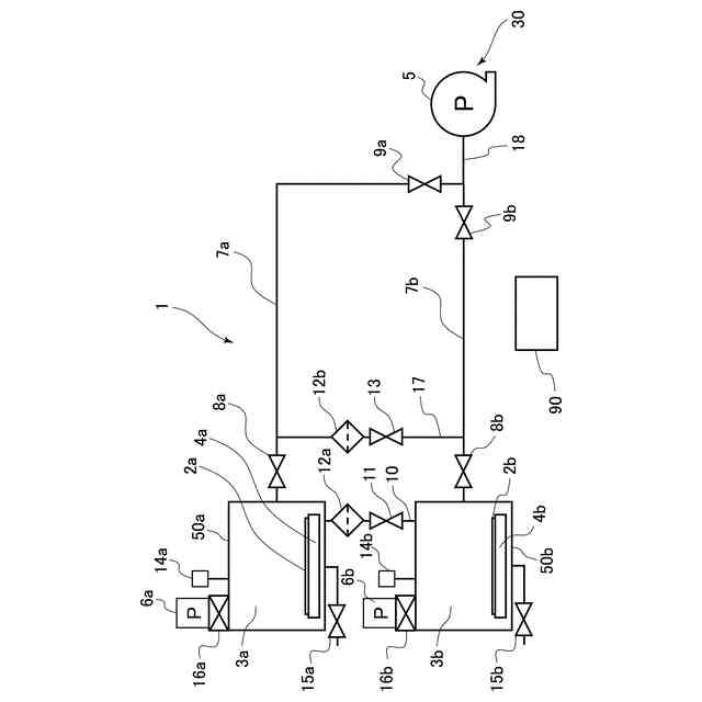
【解決手段】処理システムは、第1処理室及び第2処理室を減圧するのに用いられる減圧機構と、前記第1処理室と前記第2処理室との間に配置された少なくとも1つのバルブと、前記減圧機構に前記第1処理室を減圧させて、前記第1処理室に配置された第1基板上の溶媒を乾燥させる第1処理を実行するよう構成された制御部と、を備え、前記制御部は、前記第1処理において、前記少なくとも1つのバルブを開状態とすることにより、第1圧力に設定された前記第1処理室の圧力よりも低い第2圧力に設定された状態の前記第2処理室を、前記第1処理室に連通させる。
【選択図】図1
特許請求の範囲
【請求項1】
第1処理室及び第2処理室を減圧するのに用いられる減圧機構と、
前記第1処理室と前記第2処理室との間に配置された少なくとも1つのバルブと、
前記減圧機構に前記第1処理室を減圧させて、前記第1処理室に配置された第1基板上の溶媒を乾燥させる第1処理を実行するよう構成された制御部と、を備え、
前記制御部は、前記第1処理において、前記少なくとも1つのバルブを開状態とすることにより、第1圧力に設定された前記第1処理室の圧力よりも低い第2圧力に設定された状態の前記第2処理室を、前記第1処理室に連通させる、
ことを特徴とする処理システム。
続きを表示(約 2,000 文字)
【請求項2】
前記制御部は、前記第1処理において、前記第1処理室の圧力を、前記第1圧力と前記第2圧力との間の第3圧力に設定し、前記第1基板を前記第3圧力の環境に晒す第1モードと、前記第1モードを実行した後に、前記第1処理室の圧力を前記第2圧力に設定し、前記第1基板を前記第2圧力の環境に晒す第2モードと、を実行するよう構成されており、
前記制御部は、前記第1処理において、前記第1モードを実行する前に、前記第2処理室を前記第1処理室に連通させる、
ことを特徴とする請求項1に記載の処理システム。
【請求項3】
前記制御部は、前記減圧機構に前記第2処理室を減圧させて、前記第2処理室に配置された第2基板上の溶媒を乾燥させる第2処理を実行するよう構成され、
前記制御部は、前記第1処理の前に前記第2処理を実行することにより、前記第2処理室の圧力を前記第2圧力に設定する、
ことを特徴とする請求項1に記載の処理システム。
【請求項4】
前記制御部は、前記第2処理において、前記第2処理室の圧力を前記第1圧力と前記第2圧力との間の第3圧力に設定し、前記第2基板を前記第3圧力の環境に晒す第3モードと、前記第3モードを実行した後に、前記第2処理室の圧力を前記第2圧力に設定し、前記第2基板を前記第2圧力の環境に晒す第4モードと、を実行するよう構成されており、
前記制御部は、前記第1処理の前に前記第2処理の前記第4モードを実行することにより、前記第2処理室の圧力を前記第2圧力に設定する、
ことを特徴とする請求項3に記載の処理システム。
【請求項5】
前記減圧機構は、第1ポンプを有し、
前記第1処理室と前記第1ポンプとを接続する第1配管と、
前記第2処理室と前記第1ポンプとを接続する第2配管と、
前記第1配管と前記第1ポンプとの間に配置された第1バルブと、
前記第2配管と前記第1ポンプとの間に配置された第2バルブと、を更に備え、
前記制御部は、
前記第1処理において前記第1ポンプに前記第1配管を介して前記第1処理室を減圧させる際に、前記第1バルブを開状態、前記第2バルブを閉状態にし、
前記第2処理において前記第1ポンプに前記第2配管を介して前記第2処理室を減圧させる際に、前記第1バルブを閉状態、前記第2バルブを開状態にする、
ことを特徴とする請求項3に記載の処理システム。
【請求項6】
前記少なくとも1つのバルブに直列に配置され、溶媒蒸気を捕捉するよう構成された溶媒捕捉部を更に備える、
ことを特徴とする請求項1に記載の処理システム。
【請求項7】
前記第1処理室と前記第2処理室とを接続する第3配管を更に備え、
前記少なくとも1つのバルブは、前記第3配管に配置された第3バルブである、
ことを特徴とする請求項1に記載の処理システム。
【請求項8】
前記少なくとも1つのバルブは、
前記第1処理室と前記第1配管との間に配置された第4バルブと、
前記第2処理室と前記第2配管との間に配置された第5バルブと、
前記第1配管と前記第2配管との間に配置された第6バルブと、を含む、
ことを特徴とする請求項5に記載の処理システム。
【請求項9】
前記第1処理室と前記第1配管との間に配置された第4バルブと、
前記第2処理室と前記第2配管との間に配置された第5バルブと、
前記第1配管と前記第2配管との間に配置された第6バルブと、を更に備え、
前記制御部は、前記第1処理において、前記第4バルブ及び前記第6バルブを開状態とすることにより、前記第1圧力と前記第2圧力との間の第3圧力に設定された前記第1処理室の圧力よりも低い第4圧力に設定された状態の前記第2配管を、前記第1配管を介して前記第1処理室に連通させる、
ことを特徴とする請求項5に記載の処理システム。
【請求項10】
前記制御部は、前記第1処理において、前記第1処理室の圧力を前記第3圧力に設定し、前記第1基板を前記第3圧力の環境に晒す第1モードと、前記第1モードを実行した後に、前記第1処理室の圧力を前記第2圧力に設定し、前記第1基板を前記第2圧力の環境に晒す第2モードと、を実行するよう構成されており、
前記制御部は、前記第1処理において、前記第1モードを実行した後、かつ前記第2モードを実行する前に、前記第1処理室の圧力を前記第3圧力から前記第2圧力に下降させる過程で、前記第2配管を、前記第1配管を介して前記第1処理室に連通させる、
ことを特徴とする請求項9に記載の処理システム。
(【請求項11】以降は省略されています)
発明の詳細な説明
【技術分野】
【0001】
本開示は、処理システム、処理方法、及び物品の製造方法に関する。
続きを表示(約 1,300 文字)
【背景技術】
【0002】
有機EL(Electro Luminescence)素子であるOLED(Organic Light Emitting Diode)を有するパネル(有機ELパネル)は、スマートフォン、テレビ、自動車用ディスプレイ、ヘッドマウントディスプレイなどの電子機器に用いられている。特に、ヘッドマウントディスプレイにおいては、ユーザーのめまいを低減するために、画素パターンが高精度に形成されていることが求められる。
【0003】
有機ELパネルなどの物品を製造する際に、基板の上の所望の箇所にインクジェット装置を用いて溶液膜を塗布する方法が知られている。溶液膜は、溶質と溶媒とを含む溶液で構成される膜である。基板の上に塗布された溶液膜を乾燥させることで、基板の上に膜(層)が形成される。溶液膜の乾燥には、基板処理装置である乾燥装置が用いられる。乾燥装置は、例えば減圧環境において溶液膜を乾燥させるよう構成されている。
【0004】
安定して膜(層)を基板上に形成するには、乾燥処理において基板上に塗布された溶媒を乾燥させる際に、基板が配置された空間(処理室)を真空状態にするよう短時間で排気完了させる必要がある。
【0005】
近年、乾燥処理対象である基板の大型化により、処理室の容積や、処理室とポンプとを繋ぐ配管内のガス流路の容積が大きくなり、乾燥のスループット(単位時間当たりの乾燥処理量)の減少を招いていた。
【0006】
一方、特許文献1には、配管内の容積が処理室の容積以上になる場合、ポンプの吸気口の径よりも小径の配管を用いて処理室の排気を行うことが記載されている。
【先行技術文献】
【特許文献】
【0007】
特開2015-59440号公報
【発明の概要】
【発明が解決しようとする課題】
【0008】
しかしながら、実際の生産ラインでは、短い生産タクトタイムに対応するために複数の処理室が設置される場合が多く、それに伴い、ポンプに必要な排気能力が増大し、特許文献1に示されているような、配管径の最適化のみでは乾燥のスループットを十分に向上させることが難しい。
【0009】
本開示は、乾燥のスループットを向上させるのに有利な技術を提供する。
【課題を解決するための手段】
【0010】
本開示の一態様は、第1処理室及び第2処理室を減圧するのに用いられる減圧機構と、前記第1処理室と前記第2処理室との間に配置された少なくとも1つのバルブと、前記減圧機構に前記第1処理室を減圧させて、前記第1処理室に配置された第1基板上の溶媒を乾燥させる第1処理を実行するよう構成された制御部と、を備え、前記制御部は、前記第1処理において、前記少なくとも1つのバルブを開状態とすることにより、第1圧力に設定された前記第1処理室の圧力よりも低い第2圧力に設定された状態の前記第2処理室を、前記第1処理室に連通させる、ことを特徴とする処理システムである。
【発明の効果】
(【0011】以降は省略されています)
この特許をJ-PlatPat(特許庁公式サイト)で参照する
関連特許
個人
ハンディ傘乾燥丸め器
24日前
株式会社サタケ
循環式穀物乾燥機
7日前
株式会社ダイソー
乾熱減容処理装置
1か月前
株式会社チノー
乾燥システム
2か月前
株式会社クレブ
ブーツ乾燥装置
7か月前
東レ株式会社
塗膜付きシートの加熱装置
4か月前
東レエンジニアリング株式会社
乾燥装置
1か月前
エイ・エス・デイ株式会社
乾燥装置
1か月前
株式会社ヨシカワ
乾燥装置
1か月前
株式会社サタケ
穀物乾燥機
1か月前
大東電子株式会社
傘水滴除去装置
8か月前
クリーン・テクノロジー株式会社
乾燥装置
8か月前
クリーン・テクノロジー株式会社
乾燥装置
7か月前
クリーン・テクノロジー株式会社
乾燥装置
11か月前
高砂工業株式会社
凍結乾燥装置
6か月前
株式会社ワカミヤ商会
乾燥装置
3か月前
アントム株式会社
搬送式乾燥炉
5か月前
セイコーエプソン株式会社
乾燥機
4か月前
株式会社大川原製作所
乾燥システム
6か月前
クリーン・テクノロジー株式会社
熱風式乾燥装置
7か月前
株式会社マクニカ
乾熱減容処理装置
1か月前
個人
常服乾燥装置
14日前
株式会社大川原製作所
乾燥システム
6か月前
株式会社アサヒテクノ
乾燥装置及び乾燥方法
4か月前
特殊電極株式会社
塗装乾燥装置および塗装乾燥方法
6か月前
株式会社ショウワテクノ
コンテナ容器脱水装置
7か月前
カワサキ機工株式会社
ネット型乾燥装置
3か月前
株式会社サタケ
穀物乾燥機の監視システム
10か月前
京セラドキュメントソリューションズ株式会社
乾燥装置
7か月前
京セラドキュメントソリューションズ株式会社
乾燥装置
7か月前
株式会社大気社
熱風発生装置
7か月前
三菱電機株式会社
浴室乾燥機
3か月前
株式会社エコジニア
冷風乾燥機
1か月前
セイコーエプソン株式会社
乾燥装置及び記録装置
1か月前
井関農機株式会社
穀粒乾燥機
11か月前
株式会社リコー
加熱装置、画像形成装置及び液体吐出装置
6か月前
続きを見る
他の特許を見る