TOP
|
特許
|
意匠
|
商標
特許ウォッチ
Twitter
他の特許を見る
10個以上の画像は省略されています。
公開番号
2025139116
公報種別
公開特許公報(A)
公開日
2025-09-26
出願番号
2024037883
出願日
2024-03-12
発明の名称
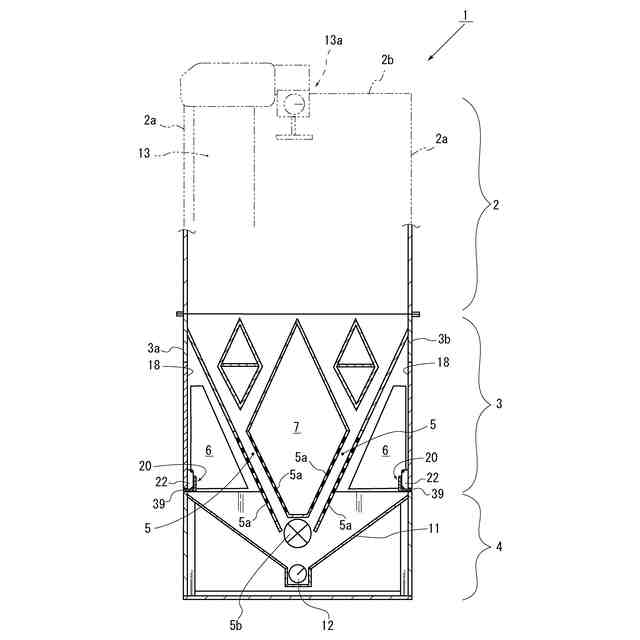
循環式穀物乾燥機
出願人
株式会社サタケ
代理人
主分類
F26B
17/14 20060101AFI20250918BHJP(乾燥)
要約
【課題】容易に清掃を行うことが可能な結露水の受け部を側壁内面に設けた循環式穀物乾燥機を提供することを技術的課題とする。
【解決手段】穀物を貯留する貯留部と、前記穀物に熱風を通風して乾燥する乾燥部と、前記乾燥部から繰り出された穀物を集穀して前記貯留部に還流する還流部と、を備えた循環式穀物乾燥機において、前記乾燥部の側壁は、前記乾燥部から脱着不能な固定状の側壁と、一部が前記乾燥部から脱着可能な側壁とで構成され、前記脱着可能な側壁は、該側壁を前記乾燥部に取り付けると、前記循環式乾燥機の内面に生じた結露水を受け取ることのできる受け部を設け、前記受け部は、受け止めた結露水を除去するために回動可能に構成してあることを特徴とする。
【選択図】図6
特許請求の範囲
【請求項1】
穀物を貯留する貯留部と、前記穀物に熱風を通風して乾燥する乾燥部と、前記乾燥部から繰り出された穀物を集穀して前記貯留部に還流する還流部と、を備えた循環式穀物乾燥機において、
前記乾燥部の側壁は、前記乾燥部から脱着不能な固定状の側壁と、一部が前記乾燥部から脱着可能な側壁とで構成され、
前記脱着可能な側壁は、該側壁を前記乾燥部に取り付けると、前記循環式乾燥機の内面に生じた結露水を受け取ることのできる受け部を設け、
前記受け部は、受け止めた結露水を除去するために回動可能に構成してあることを特徴とする循環式穀物乾燥機。
続きを表示(約 950 文字)
【請求項2】
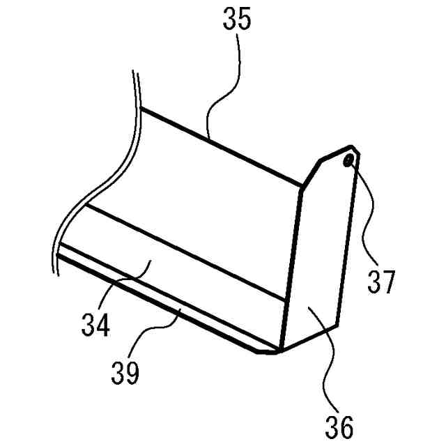
前記脱着可能な側壁は、前記乾燥部の側壁の一部を構成するための矩形状の板部と、該板部の下方に取り付けられる前記受け部とから構成され、
前記板部は、左右方向両端に、一対の支持部材が循環式穀物乾燥機の内方に向けて突設され、
前記受け部は、長尺状であり、かつ、長手方向と直交する垂直平面で裁断したときの断面形状がL字状であり、
一対の前記支持部材は、前記受け部を回動可能に軸支することが可能であることを特徴とする請求項1に記載の循環式穀物乾燥機。
【請求項3】
前記受け部のL字状の断面形状は、前記受け部の底面とこの底面の長手方向端部から立設する長手方向の側面とから形成されることを特徴とする請求項2に記載の循環式穀物乾燥機。
【請求項4】
前記底面の短手方向の両端部には、この両端部からそれぞれ立設する一対の短手方向の側面が設けられており、これら短手方向の側面が一対の前記支持部材にそれぞれ軸支されていることを特徴とする請求項3に記載の循環式穀物乾燥機。
【請求項5】
回動可能な前記受け部が最下点に位置するときに、前記板部、前記長手方向の側面及び一対の前記短手方向の側面とで囲まれて形成される空間に結露水を貯留することを特徴とする請求項4に記載の循環式穀物乾燥機。
【請求項6】
前記底面は、前記底面が最下点に位置する時に、前記板部側の長手方向端部が、前記短手方向の側面の前記板部側の端部よりも前記板部側に延設された延設部が設けられており、前記脱着可能な側壁を前記循環式穀物乾燥機に取り付けた際に、前記延設部が前記脱着可能な側壁の前記板部の下端と、前記乾燥部の下方に設ける集穀部の上端との間に挟まれて固定されることで、前記受け部が回動不可となることを特徴とする請求項4又は請求項5に記載の循環式穀物乾燥機。
【請求項7】
前記長手方向の側面は、前記底面から立ち上がるとともに、回動する前記受け部の底面が最下点に位置する時に、前記長手方向の側面の上端が前記板部側に近づくように、前記長手方向の側面を前記板部側に向けて傾斜させることを特徴とする請求項3乃至請求項5に記載の循環式穀物乾燥機。
発明の詳細な説明
【技術分野】
【0001】
本発明は、穀物を循環させながら乾燥する循環式穀物乾燥機に関するものであり、特に結露対策に関するものである。
続きを表示(約 1,500 文字)
【背景技術】
【0002】
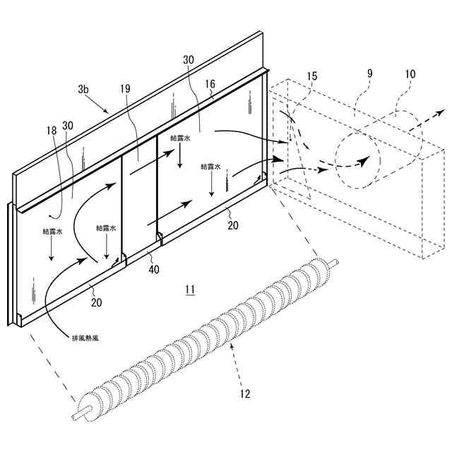
従来、循環式穀物乾燥機の結露水対策として、例えば、特許文献1に開示されたものが知られている。このものは、乾燥機本体の側壁の内面に、該側壁の内面上を流れ落ちる結露水を受け入れる受け部を設ける、という技術的手段を講じている。この受け部は樋状に傾斜して形成されたものであり、受け入れた結露水が排出口に向けて流れることで、結露水を機外へ排出可能な構造になっている。
【先行技術文献】
【特許文献】
【0003】
特開2005-221210号公報
【発明の概要】
【発明が解決しようとする課題】
【0004】
しかしながら、上記特許文献1に記載の前記樋状の受け部では、この受け部内に機械の稼働中に発生する粉塵が溜まりやすい。したがって、受け入れた結露水が流れにくくなり、また、粉塵とともに泥状となって滞留してしまう。受け部に溜まった物は、異臭や害虫の発生の原因となるため、これを取り除くために受け部を清掃する必要がある。従来の受け部では、この受け部が側壁の内側に固定して取り付けられているため、受け部の清掃が容易にできないという問題があった。
【0005】
本発明は上記問題点にかんがみ、結露水対策用の受け部の清掃を容易に行うことが可能な循環式穀物乾燥機を提供することを技術的課題とする。
【課題を解決するための手段】
【0006】
上記課題を解決するため本発明は、穀物を貯留する貯留部と、前記穀物に熱風を通風して乾燥する乾燥部と、前記乾燥部から繰り出された穀物を集穀して前記貯留部に還流する還流部と、を備えた循環式穀物乾燥機において、
前記乾燥部の側壁は、前記乾燥部から脱着不能な固定状の側壁と、一部が前記乾燥部から脱着可能な側壁とで構成され、
前記脱着可能な側壁は、該側壁を前記乾燥部に取り付けると、前記循環式乾燥機の内面に生じた結露水を受け取ることのできる受け部を設け、
前記受け部は、受け止めた結露水を除去するために回動可能に構成する、という技術的手段を講じた。
【0007】
請求項2に記載の発明によれば、前記脱着可能な側壁は、前記側壁の一部を構成するための矩形状の板部と、該板部の下方に取り付けられる前記受け部とから構成され、
前記板部は、左右方向両端に、一対の支持部材が循環式穀物乾燥機の内方に向けて突設され、
前記受け部は、長尺状であり、かつ、長手方向と直交する垂直平面で裁断したときの断面形状がL字状であり、
一対の前記支持部材は、前記受け部を回動可能に軸支することが可能であることを特徴とする。
【0008】
請求項3に記載の発明によれば、前記受け部のL字状の断面形状は、前記受け部の底面とこの底面の長手方向端部から立設する長手方向の側面とから形成されることを特徴とする。
【0009】
請求項4に記載の発明によれば、前記底面の短手方向の両端部には、この両端部からそれぞれ立設する一対の短手方向の側面が設けられており、これら短手方向の側面が一対の前記支持部材にそれぞれ軸支されていることを特徴とする。
【0010】
請求項5に記載の発明によれば、回動可能な前記受け部が最下点に位置するときに、前記板部、前記長手方向の側面及び一対の前記短手方向の側面とで囲まれて形成される空間に結露水を貯留することを特徴とする。
(【0011】以降は省略されています)
この特許をJ-PlatPat(特許庁公式サイト)で参照する
関連特許
株式会社サタケ
種子の消毒装置
24日前
株式会社サタケ
循環式穀物乾燥機
9日前
株式会社サタケ
原料の受け渡し装置
1か月前
株式会社サタケ
集塵機における圧力計測配管の取付構造
16日前
株式会社サタケ
乾燥機用の水分予測装置、および、乾燥機
1か月前
株式会社サタケ
研削式精穀機、および、そのメンテナンス方法
1か月前
個人
乾燥装置
12か月前
個人
ハンディ傘乾燥丸め器
26日前
株式会社サタケ
循環式穀物乾燥機
9日前
株式会社ダイソー
乾熱減容処理装置
1か月前
株式会社チノー
乾燥システム
2か月前
株式会社クレブ
ブーツ乾燥装置
7か月前
東レ株式会社
塗膜付きシートの加熱装置
4か月前
東レエンジニアリング株式会社
乾燥装置
11か月前
東レエンジニアリング株式会社
乾燥装置
11か月前
東レエンジニアリング株式会社
乾燥装置
11か月前
東レエンジニアリング株式会社
乾燥装置
1か月前
エイ・エス・デイ株式会社
乾燥装置
1か月前
株式会社サタケ
穀物乾燥機
1か月前
大東電子株式会社
傘水滴除去装置
8か月前
株式会社ヨシカワ
乾燥装置
1か月前
セイコーエプソン株式会社
加熱装置
12か月前
クリーン・テクノロジー株式会社
乾燥装置
8か月前
クリーン・テクノロジー株式会社
乾燥装置
11か月前
クリーン・テクノロジー株式会社
乾燥装置
7か月前
株式会社ワカミヤ商会
乾燥装置
3か月前
高砂工業株式会社
凍結乾燥装置
6か月前
アントム株式会社
搬送式乾燥炉
5か月前
セイコーエプソン株式会社
乾燥機
4か月前
クリーン・テクノロジー株式会社
熱風式乾燥装置
7か月前
株式会社マクニカ
乾熱減容処理装置
1か月前
株式会社大川原製作所
乾燥システム
6か月前
個人
常服乾燥装置
16日前
株式会社大川原製作所
乾燥システム
6か月前
特殊電極株式会社
塗装乾燥装置および塗装乾燥方法
6か月前
株式会社アサヒテクノ
乾燥装置及び乾燥方法
4か月前
続きを見る
他の特許を見る