TOP
|
特許
|
意匠
|
商標
特許ウォッチ
Twitter
他の特許を見る
10個以上の画像は省略されています。
公開番号
2025122568
公報種別
公開特許公報(A)
公開日
2025-08-21
出願番号
2024018160
出願日
2024-02-08
発明の名称
研削式精穀機、および、そのメンテナンス方法
出願人
株式会社サタケ
代理人
弁理士法人山王坂特許事務所
主分類
B02B
3/06 20060101AFI20250814BHJP(破砕,または粉砕;製粉のための穀粒の前処理)
要約
【課題】研削式精穀機の研削ロールの軽量化および交換作業を容易化する。
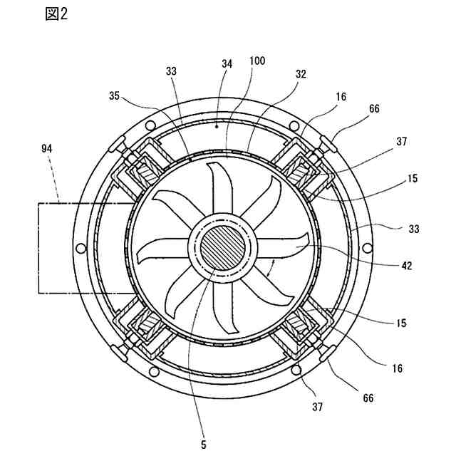
【解決手段】研削式精穀機は、外周面に砥粒が固定された回転体と、回転体を回転させる駆動部とを有する。回転体は、台座と、台座の外周面に巻き付けられた砥粒シートと、砥粒シートを台座に固定する固定部材とを含む。
【選択図】図1
特許請求の範囲
【請求項1】
外周面に砥粒が固定された回転体と、前記回転体を回転させる駆動部とを有し、
前記回転体は、台座と、前記台座の外周面に巻き付けられた砥粒シートと、前記砥粒シートを前記台座に固定する固定部材とを含むことを特徴とする研削式精穀機。
続きを表示(約 790 文字)
【請求項2】
請求項1に記載の研削式精穀機であって、前記砥粒シートは、基礎シートと、前記基礎シートの上面に備えらえた金属膜とを含み、前記砥粒は、前記金属膜に分散して配置され、前記砥粒の一部分は、前記金属膜中に粒の一部分が埋め込まれて、残りの部分が前記金属膜の表面から突出していることを特徴とする研削式精穀機。
【請求項3】
請求項2に記載の研削式精穀機であって、金属膜は、メッキ膜であることを特徴とする研削式精穀機。
【請求項4】
請求項1に記載の研削式精穀機であって、前記砥粒シートは、帯状であり、前記台座の回転軸方向の両端には、帯状の前記砥粒シートの両端が挿入される凹部が周方向に沿って備えられていることを特徴とする研削式精穀機。
【請求項5】
請求項4に記載の研削式精穀機であって、前記凹部の深さ方向は、前記台座の回転軸と平行であることを特徴とする研削式精穀機。
【請求項6】
請求項1に記載の研削式精穀機であって、前記固定部材は、前記台座の外周面の周方向の少なくとも1箇所に取り付けられ、前記砥粒シートは、前記台座の外周面と、前記固定部材の間に挟まれることにより、前記台座に固定されていることを特徴とする研削式精穀機。
【請求項7】
請求項1に記載の研削式精穀機のメンテナンス方法であって、
前記固定部材を前記台座から取り外すことにより、前記研削式精穀機から前記台座を取り外すことなく、前記砥粒シートを前記台座から取り外す工程と、
新しい前記砥粒シートを前記台座に巻き付けた後、前記固定部材を前記台座に固定することにより、新しい前記砥粒シートを前記固定部材と前記台座の外周面との間に挟んで固定する工程と
を有することを特徴とする研削式精穀機のメンテナンス方法。
発明の詳細な説明
【技術分野】
【0001】
本発明は、穀粒を精穀するための研削式精穀機に関する 。
続きを表示(約 1,400 文字)
【背景技術】
【0002】
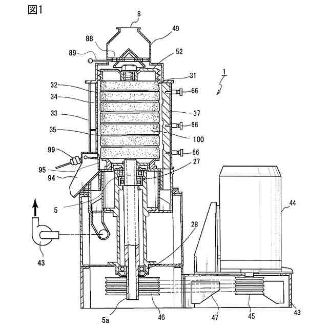
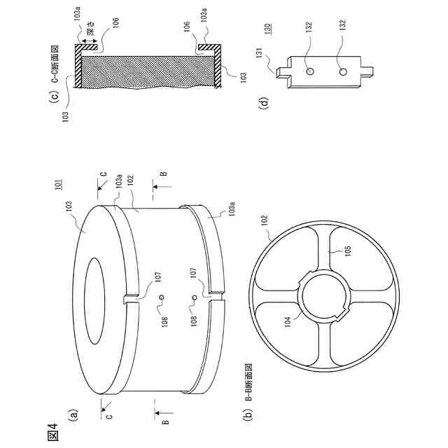
精穀機は、主に研削式精穀機と、摩擦式精穀機とに類別される。このうち研削式精穀機は、例えば、特許文献1、2に開示されているように、円盤状であって、周縁に金剛砂(カーボランダムに、粘土、長石類の粉末を加え、結合剤および水を混合して成形し、乾燥させ、1380~1440℃程度の高温により焼結したもの。)からなる研削砥石を設けた精白ロールを鉛直方向に複数段積み重ねて配置し、それらの外側に、糠を通過させる穴が設けられた多孔性筒状体(除糠精白筒)を配置した竪型の装置が知られている。これらの竪型研削式精穀機は、多段に配置した精白ロールを回転させ、上部から穀物を供給すると、穀物は、精白ロールの外周面の研削砥石と多孔性筒状体との間の空間(精穀室)で自転および公転しながら研削砥石によって表面が研削されて除糠され、精白された穀物は排出口から機外に排出される。
【0003】
また、特許文献3には、軸方向を水平に配置したロール本体の外周面に、砥粒プレートおよび保持プレートを交互に複数固定した研削式の精白ロールが開示されている。
【先行技術文献】
【特許文献】
【0004】
特許第3266167号公報
特開2018-8241号公報
特開2021-159781号公報
【発明の概要】
【発明が解決しようとする課題】
【0005】
特許文献1,2に記載の研削式竪型精穀機の精白ロールに使用される研削砥石は、焼成工法によって製造されたものであり、穀物を研削するにつれて表面が摩耗していく。一般的には、半年程度の期間精穀機の運転をすると、精白ロールを取り外し、新しい精白ロールに交換する。取り外した精白ロールは、周縁に設けた砥石の砥粒面を目立てする処理が行われ、再生される。7段程度に積み重ねた精白ロールの一つ一つは、作業者が持てる程度の重さ(例えば25キログラム以下)になるように設計されている。しかし、重量が大きいために、その交換作業は容易ではない。また、7段程度に積み重ねた精白ロールの砥石の摩耗の程度は一律同じではないため、摩耗したものだけを順次交換していくこととなる。この場合、交換の頻度が多くなり、その都度、精穀機を停止させる必要がある。そのため、生産効率が低下する原因となる。
【0006】
本発明は上記問題点に鑑み、研削式精白ロールの砥石の交換作業を容易化することを目的とする。
【課題を解決するための手段】
【0007】
上記目的を達成するために、本発明の研削式精穀機は、外周面に砥粒が固定された回転体と、回転体を回転させる駆動部とを有する。回転体は、台座と、台座の外周面に巻き付けられた砥粒シートと、砥粒シートを台座に固定する固定部材とを含む。
【0008】
砥粒シートは、例えば、基礎シートと、基礎シートの上面に備えらえた金属膜とを含む構成とする。砥粒は、金属膜に分散して配置され、砥粒の一部分は、金属膜中に粒の一部分が埋め込まれ、残りの部分が金属膜の表面から突出している。
【0009】
上記金属膜としては、例えば、メッキ膜を用いる。
【0010】
上記砥粒シートは、例えば、帯状とすることができる。この場合、台座の回転軸方向の両端には、帯状の前記砥粒シートの両端が挿入される凹部が周方向に沿って備えられた構成とする。
(【0011】以降は省略されています)
この特許をJ-PlatPat(特許庁公式サイト)で参照する
関連特許
株式会社サタケ
醸造用精米機
11日前
株式会社サタケ
粒状物の乾燥装置
25日前
株式会社サタケ
共同乾燥調製施設
28日前
株式会社サタケ
循環式穀物乾燥機
1か月前
株式会社サタケ
測定装置および選別装置
25日前
株式会社サタケ
精白米中の土砂混入率の検査方法
18日前
個人
回転衝撃式ローラ粉砕機
6日前
株式会社サタケ
醸造用精米機
11日前
個人
気泡緩衝材減容装置
18日前
個人
気泡緩衝材減容装置
18日前
個人
粉砕乾燥用蒸気ジェット噴射装置
18日前
日本化学工業株式会社
湿式粉砕方法
1か月前
井関農機株式会社
籾摺選別機
18日前
井関農機株式会社
籾摺選別機
18日前
UBE株式会社
金属異物の除去方法および装置
25日前
株式会社栗本鐵工所
破砕制御システムおよびプログラム
26日前
三菱重工業株式会社
粉砕テーブル及び固体燃料粉砕装置並びに粉砕テーブルの補修方法
25日前
三菱重工業株式会社
固体燃料粉砕装置及びボイラ設備並びに固体燃料粉砕装置の運転方法
26日前
株式会社栗本鐵工所
破砕制御システム、摩耗量予測装置およびプログラム
27日前
DOWAホールディングス株式会社
シミュレーション装置及びプログラム
25日前
寧波厨聚厨房科技有限公司
挽き装置
5日前
株式会社プロテイン・エクスプレス
抗SARS-CoV-2単ドメイン抗体
20日前
他の特許を見る