TOP
|
特許
|
意匠
|
商標
特許ウォッチ
Twitter
他の特許を見る
10個以上の画像は省略されています。
公開番号
2025158372
公報種別
公開特許公報(A)
公開日
2025-10-17
出願番号
2024060854
出願日
2024-04-04
発明の名称
粉砕乾燥用蒸気ジェット噴射装置
出願人
個人
,
個人
代理人
弁理士法人山田特許事務所
主分類
B02C
19/06 20060101AFI20251009BHJP(破砕,または粉砕;製粉のための穀粒の前処理)
要約
【課題】小型で安価なバーナやブロアを用いて高温気体送風管から処理槽へ高温気体を吹き込み得る蒸気ジェット噴射装置を提供する。
【解決手段】蒸気噴射ノズル10と高温気体送風管11とを備え、超音速の蒸気および高温気体を処理槽に供給し、処理槽内で原料を粉砕及び乾燥させる蒸気ジェット噴射装置であって、
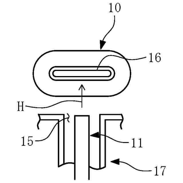
蒸気噴射ノズル10の噴射口16の軸線位置L
1
は、噴入管9の径方向で噴入管9の中心軸線C
0
よりも高温気体送風管11の送風口寄りに配置され、
蒸気噴射ノズル10から噴射された超音速の蒸気は、送風口寄りの位置でコアンダ効果を発生し、処理槽から外へ押し出そうとする圧を相殺するように構成される。
【選択図】図2
特許請求の範囲
【請求項1】
超音速の蒸気を噴入管内へ軸線方向で噴射する蒸気噴射ノズルと、高温気体を前記噴入管内へ径方向から吹き込む高温気体送風管とを備え、超音速の蒸気および高温気体を前記噴入管から処理槽に供給し、前記処理槽内で原料を粉砕及び乾燥させる蒸気ジェット噴射装置であって、
前記蒸気噴射ノズルの噴射口の軸線位置は、前記噴入管の径方向で前記噴入管の中心軸線よりも前記高温気体送風管の送風口寄りに配置され、
前記蒸気噴射ノズルから噴射された超音速の蒸気は、前記送風口寄りの位置でコアンダ効果を発生し、前記処理槽から外へ押し出そうとする圧を相殺するように構成されたことを特徴とする粉砕乾燥用蒸気ジェット噴射装置。
続きを表示(約 360 文字)
【請求項2】
前記蒸気噴射ノズルから噴射された超音速の蒸気は、コアンダ効果により、前記処理槽から外へ押し出そうとする圧を相殺し、前記送風口でゼロ又はマイナス圧力になるように構成されたことを特徴とする請求項1に記載の粉砕乾燥用蒸気ジェット噴射装置。
【請求項3】
前記蒸気噴射ノズルの噴射口の軸線位置は、前記噴入管の内径に対して送風口側から0mmより大きく40mm以下の範囲に設定されたことを特徴とする請求項1又は2記載の粉砕乾燥用蒸気ジェット噴射装置。
【請求項4】
前記蒸気噴射ノズルの噴射口は、前記高温気体送風管からの高温気体全面に対して超音速の蒸気をぶつけるよう、軸線方向から見て楕円または長方形に形成されたことを特徴とする請求項1又は2記載の粉砕乾燥用蒸気ジェット噴射装置。
発明の詳細な説明
【技術分野】
【0001】
本発明は、超音速の蒸気と高温気体を処理槽に噴入し、処理槽内で原料を粉砕及び乾燥する蒸気ジェット噴射装置に関する。
続きを表示(約 1,700 文字)
【背景技術】
【0002】
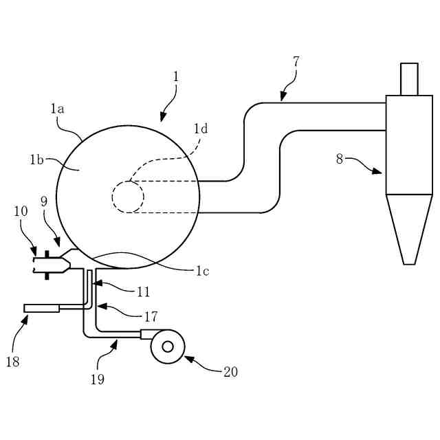
一般に、蒸気ジェット噴射装置は、図10に示すごとく原料が供給される処理槽1に対し、噴入管2を介して蒸気噴射ノズル3及び高温気体送風管4を配置しており、蒸気噴射ノズル3は超音速の蒸気を噴入管2内へ噴射するようになっていると共に、高温気体送風管4はバーナ5及びブロア6により高温気体を噴入管2内へ吹き込むようになっている。そして超音速の蒸気及び高温気体は超音速の飽和蒸気噴流として処理槽1内に噴入され、処理槽1内で原料を粉砕及び乾燥する(例えば、下記特許文献1参照)。その後、図11に示すごとく、粉砕及び乾燥された原料は導管7を介してサイクロン8へ導入され、サイクロン8では遠心力により処理後の物質と蒸気に分離されるようになっている。なお図11は処理槽1、導管7、サイクロン8を示すものであって破断部分により内部を分かるようにしている。
【0003】
ここで蒸気噴射ノズル3は、噴入管2の中心軸線と同軸になるように横方向から噴入管2内に向かう構成を備え、超音速の蒸気は、外部から噴入管2内の軸線に向かって噴射されるようになっている。また高温気体送風管4は、噴入管2の中心軸線とほぼ直角になるように下方向から噴入管2に向かう構成を備え、高温気体は、噴入管2内に下方から上方へ噴入管2の径方向に向かって吹き込まれるようになっている。
【先行技術文献】
【特許文献】
【0004】
特許第3709880号公報
【発明の概要】
【発明が解決しようとする課題】
【0005】
しかしながら、蒸気ジェット噴射装置は、処理槽1、導管7、サイクロン8の構成から処理槽1内の圧がやや陽圧になっているため、処理槽1内から噴入管2等の方向(外方向)に押し出そうとする圧力が生じ、高温気体送風管4から高温気体を処理槽1に供給する際には、処理槽1の内圧よりも高圧で吹き込み得るように大型で高価なバーナ5及びブロア6を用いる必要があった。
【0006】
本発明は、斯かる実情に鑑み、小型で安価なバーナやブロアを用いて高温気体送風管から処理槽へ高温気体を吹き込み得る蒸気ジェット噴射装置を提供しようとするものである。
【課題を解決するための手段】
【0007】
本発明は、超音速の蒸気を噴入管内へ軸線方向で噴射する蒸気噴射ノズルと、高温気体を前記噴入管内へ径方向から吹き込む高温気体送風管とを備え、超音速の蒸気および高温気体を前記噴入管から処理槽に供給し、前記処理槽内で原料を粉砕及び乾燥させる蒸気ジェット噴射装置であって、
前記蒸気噴射ノズルの噴射口の軸線位置は、前記噴入管の径方向で前記噴入管の中心軸線よりも前記高温気体送風管の送風口寄りに配置され、
前記蒸気噴射ノズルから噴射された超音速の蒸気は、前記送風口寄りの位置でコアンダ効果を発生し、前記処理槽から外へ押し出そうとする圧を相殺するように構成されたことを特徴とする粉砕乾燥用蒸気ジェット噴射装置にかかるものである。
【0008】
本発明の粉砕乾燥用蒸気ジェット噴射装置において、前記蒸気噴射ノズルから噴射された超音速の蒸気は、コアンダ効果により、前記処理槽から外へ押し出そうとする圧を相殺し、前記送風口でゼロ又はマイナス圧力になるように構成されることができる。
【0009】
本発明の粉砕乾燥用蒸気ジェット噴射装置において、前記蒸気噴射ノズルの噴射口の軸線位置は、前記噴入管の内径に対して送風口側から0mmより大きく40mm以下の範囲に設定されることが好ましい。
【0010】
本発明の粉砕乾燥用蒸気ジェット噴射装置において、前記蒸気噴射ノズルの噴射口は、前記高温気体送風管からの高温気体全面に対して超音速の蒸気をぶつけるよう、軸線方向から見て楕円または長方形に形成されてもよい。
【発明の効果】
(【0011】以降は省略されています)
この特許をJ-PlatPat(特許庁公式サイト)で参照する
関連特許
個人
気泡緩衝材減容装置
6日前
個人
気泡緩衝材減容装置
6日前
個人
粉砕乾燥用蒸気ジェット噴射装置
6日前
日本化学工業株式会社
湿式粉砕方法
24日前
井関農機株式会社
籾摺選別機
6日前
井関農機株式会社
籾摺選別機
6日前
UBE株式会社
金属異物の除去方法および装置
13日前
株式会社栗本鐵工所
破砕制御システムおよびプログラム
14日前
三菱重工業株式会社
粉砕テーブル及び固体燃料粉砕装置並びに粉砕テーブルの補修方法
13日前
三菱重工業株式会社
固体燃料粉砕装置及びボイラ設備並びに固体燃料粉砕装置の運転方法
14日前
株式会社栗本鐵工所
破砕制御システム、摩耗量予測装置およびプログラム
15日前
DOWAホールディングス株式会社
シミュレーション装置及びプログラム
13日前
株式会社プロテイン・エクスプレス
抗SARS-CoV-2単ドメイン抗体
8日前
他の特許を見る