TOP
|
特許
|
意匠
|
商標
特許ウォッチ
Twitter
他の特許を見る
10個以上の画像は省略されています。
公開番号
2025145801
公報種別
公開特許公報(A)
公開日
2025-10-03
出願番号
2024046230
出願日
2024-03-22
発明の名称
プログラムおよび管理装置
出願人
キヤノン株式会社
代理人
個人
,
個人
,
個人
主分類
G06Q
50/10 20120101AFI20250926BHJP(計算;計数)
要約
【課題】情報処理装置を対象とする状態が第1状態である場合と第2状態である場合とで表示アイテムが同一の態様により表示装置に表示される場合に比べて、ユーザに違和感を与えること抑制する。
【解決手段】プログラムは、コンピュータに、情報処理装置を対象とする状態に関する情報を取得する取得機能と、情報から状態が第1状態であることが特定される場合、状態を第1状態とは異なる第2状態にするための処理を実行可能な表示アイテムを受付画面に表示させる画像表示機能と、情報から状態が第2状態であることが特定される場合、表示アイテムの受付画面への表示を制限する制限機能と、を実現させる。
【選択図】図11
特許請求の範囲
【請求項1】
コンピュータに、
情報処理装置を対象とする状態に関する情報を取得する取得機能と、
前記情報処理装置の利用に関する操作を受け付ける受付画面を、前記情報処理装置とは異なる表示装置に表示させる画面表示機能と、
前記情報から前記状態が第1状態であることが特定される場合、前記状態を前記第1状態とは異なる第2状態にするための処理を実行可能な表示アイテムを前記受付画面に表示させる画像表示機能と、
前記情報から前記状態が前記第2状態であることが特定される場合、前記表示アイテムの前記受付画面への表示を制限する制限機能と、
を実現させるための、プログラム。
続きを表示(約 1,200 文字)
【請求項2】
前記画像表示機能は、前記情報から前記状態が前記第2状態であることが特定される場合、前記第2状態であることに応じた情報を提供するための情報画像を前記受付画面に表示させる、請求項1に記載のプログラム。
【請求項3】
前記制限機能は、前記情報処理装置が前記第2状態になることの対象外の装置である場合、前記受付画面への前記表示アイテムおよび前記情報画像の何れの表示も制限する、請求項2に記載のプログラム。
【請求項4】
コンピュータに、前記表示アイテムの表示の有無を受け付ける受付機能をさらに実現させ、
前記制限機能は、前記表示アイテムが表示されないことが前記受付機能に受け付けられている場合には、前記情報から前記状態が前記第2状態であることが特定される場合であっても、前記情報画像の前記受付画面への表示を制限する、請求項2に記載のプログラム。
【請求項5】
前記画像表示機能は、前記情報から特定される前記状態が前記第1状態である場合と前記第2状態である場合とで、前記情報画像を異なる態様により前記受付画面に表示させる、請求項2に記載のプログラム。
【請求項6】
前記制限機能は、前記状態が前記第1状態から前記第2状態を経て再び前記第1状態になった場合、前記表示アイテムの前記受付画面への表示の制限を緩和させる、請求項1に記載のプログラム。
【請求項7】
前記画像表示機能は、前記状態が、前記第2状態になることなく前記第1状態である場合と、前記第2状態を経て再び前記第1状態になる場合とで、前記表示アイテムを異なる態様により前記受付画面に表示させる、請求項6に記載のプログラム。
【請求項8】
前記情報処理装置には、第1情報処理装置と、第2情報処理装置とがあり、
前記制限機能は、前記情報から前記第1情報処理装置を対象とする前記状態が前記第1状態であることが特定される場合には前記第1情報処理装置を対象とする前記表示アイテムの前記受付画面への表示を制限せずに、前記情報から前記第2情報処理装置を対象とする前記状態が前記第2状態であることが特定される場合には前記第2情報処理装置を対象とする前記表示アイテムの前記受付画面への表示を制限する、請求項1に記載のプログラム。
【請求項9】
前記画像表示機能は、前記第1情報処理装置を対象とする前記表示アイテムが選択された場合、前記第2情報処理装置を対象とする前記状態が前記第2状態であることに関する画像を前記表示装置に表示させる、請求項8に記載のプログラム。
【請求項10】
前記情報処理装置を対象とする状態は、前記情報処理装置が所定のサービスに登録されているか否かの状態である、請求項1に記載のプログラム。
(【請求項11】以降は省略されています)
発明の詳細な説明
【技術分野】
【0001】
本発明は、プログラムおよび管理装置に関する。
続きを表示(約 2,800 文字)
【背景技術】
【0002】
近年、画像形成装置等の情報処理装置を対象とする状態に応じた処理が行われることがある。特許文献1は、特定のプリンタを対象とするインクカートリッジの配送サービスが契約されている状態において、対象のプリンタにおけるインクの残量が閾値を下回ったことに応じて対象のプリンタに用いられるインクカートリッジが発送されることを開示する。
【先行技術文献】
【特許文献】
【0003】
特開2017-049767号公報
【発明の概要】
【発明が解決しようとする課題】
【0004】
情報処理装置を対象とする状態には、例えば、情報処理装置が特定のサービスに登録されていない状態等である第1状態や、情報処理装置が特定のサービスに登録されている状態等である第2状態が挙げられる。このような情報処理装置の状態に応じて、ユーザが適切にサービスの登録や利用ができる必要がある。
本発明は、ユーザが適切にサービスの登録や利用ができる方法を提供することを目的とする。
【課題を解決するための手段】
【0005】
上記課題を解決するために、本発明のプログラムは、コンピュータに、情報処理装置を対象とする状態に関する情報を取得する取得機能と、前記情報処理装置の利用に関する操作を受け付ける受付画面を、前記情報処理装置とは異なる表示装置に表示させる画面表示機能と、前記情報から前記状態が第1状態であることが特定される場合、前記状態を前記第1状態とは異なる第2状態にするための処理を実行可能な表示アイテムを前記受付画面に表示させる画像表示機能と、前記情報から前記状態が前記第2状態であることが特定される場合、前記表示アイテムの前記受付画面への表示を制限する制限機能と、を実現させるための、プログラムである。
【発明の効果】
【0006】
本発明によれば、ユーザが適切にサービスの登録や利用ができる。
【図面の簡単な説明】
【0007】
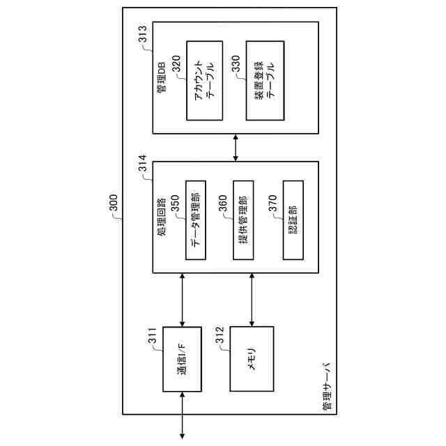
状態管理システムの全体構成の一例を示す図である。
管理サーバの構成の一例を示す図である。
アカウントテーブルおよび装置登録テーブルの内容を示す図である。
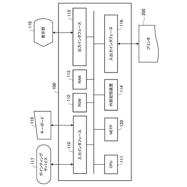
端末装置のハードウェア構成図である。
端末装置の機能構成例を示す図である。
状況管理テーブルを示す図である。
受付画面の一例を示す図である。
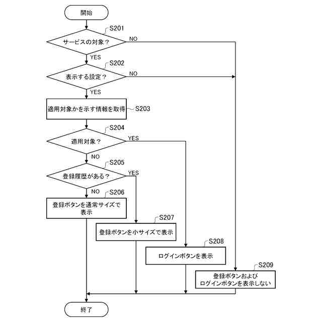
登録受付処理の流れを示すフローチャートである。
登録受付処理によって表示部に表示されるウェブページを示す図である。
登録状況画面を示す図である。
画像決定処理の流れを示したフローチャートである。
装置IDが「P02」であるプリンタについての受付画面を示す図である。
装置IDが「P03」であるプリンタについての受付画面を示す図である。
装置IDが「P04」であるプリンタについての受付画面を示す図である。
カスタマイズ画面を示す図である。
カスタマイズ画面を示す図である。
カスタマイズ画面を示す図である。
選択画面を示す図である。
カスタマイズ画面を示す図である。
プリンタごとの受付画面を示す図である。
受付画面の変形例を示す図である。
【発明を実施するための形態】
【0008】
以下、図面を参照して本発明の実施形態を説明する。
図1は、状態管理システム1の全体構成の一例を示す図である。状態管理システム1は、状態管理システム1に設けられるプリンタ200を対象とする状態を管理するシステムである。プリンタ200を対象とする状態としては、例えば、プリンタ200を対象としてユーザに提供されるサービスがユーザに登録されているか否かの状態等が挙げられる。また、プリンタ200を対象としてユーザに提供されるサービスとしては、プリンタ200のインク残量に応じてインクカートリッジがユーザに提供されるサービスが挙げられる。印刷管理システム1は、プリンタ200と、管理サーバ300と、端末装置100とを備える。また、状態管理システム1が設けられる環境には、ユーザ環境E1と、遠隔環境E2とがある。ユーザ環境E1は、状態管理システム1に設けられている装置のユーザによる操作が可能な環境である。また、遠隔環境E2は、ユーザの位置に対して遠隔地にあり状態管理システム1に設けられている装置のユーザによる操作が可能ではない環境である。
【0009】
情報処理装置の一例としてのプリンタ200は、ユーザ環境E1に設けられ、消耗材としてのインクを消費して記録媒体に画像を形成する画像形成装置である。ユーザは、プリンタ200に搭載されているインクが枯渇すると、インクを収容している収容デバイスであるインクカートリッジを取り外し、新しいインクカートリッジと交換する。本実施形態では、プリンタ200が、インクを紙面上に吐出するインクジェット方式により印刷するインクジェットプリンタであるものとして説明する。ただし、プリンタ200は、例えば電子写真方式等のインクジェット方式とは異なる方法により印刷する装置であってもよい。
【0010】
管理装置の一例としての端末装置100は、プリンタ200を対象とする状態に応じた情報を閲覧する用途や、プリンタ200を動作させる用途等によりユーザに用いられる装置である。端末装置100は、ユーザ環境E1に設けられている。端末装置100は、例えば、スマートフォン、携帯電話、PC(Personal Computer)又はPDA(Personal Digital Assistant)といった汎用的な端末装置であってもよい。
プリンタ200と端末装置100とは、例えばインターネット、LAN(Local Area Network)、WAN(Wide Area Network)等のローカルネットワークN1を介して接続される。また、プリンタ200および端末装置100と、管理サーバ300とは、ローカルネットワークN1および外部ネットワークN2を介して接続される。外部ネットワークN2としては、例えば、インターネット又はVPN(Virtual Private Network)等が挙げられる。また、ローカルネットワークN1および外部ネットワークN2は、例えばルータ、スイッチ、ゲートウェイ、無線アクセスポイント、基地局等の通信装置を有してもよい。また、ローカルネットワークN1および外部ネットワークN2が有する通信装置の数は、一つであってもよいし、複数であってもよい。
(【0011】以降は省略されています)
この特許をJ-PlatPat(特許庁公式サイト)で参照する
関連特許
キヤノン株式会社
トナー
今日
キヤノン株式会社
トナー
今日
キヤノン株式会社
トナー
5日前
キヤノン株式会社
トナー
今日
キヤノン株式会社
トナー
1か月前
キヤノン株式会社
表示装置
12日前
キヤノン株式会社
電子機器
1か月前
キヤノン株式会社
電子機器
28日前
キヤノン株式会社
撮像装置
13日前
キヤノン株式会社
撮像装置
1日前
キヤノン株式会社
発光装置
12日前
キヤノン株式会社
定着装置
13日前
キヤノン株式会社
電子機器
13日前
キヤノン株式会社
電子機器
13日前
キヤノン株式会社
電子機器
7日前
キヤノン株式会社
記録装置
21日前
キヤノン株式会社
光学装置
1か月前
キヤノン株式会社
電子機器
21日前
キヤノン株式会社
撮像装置
21日前
キヤノン株式会社
撮像装置
1か月前
キヤノン株式会社
電子機器
9日前
キヤノン株式会社
撮像装置
20日前
キヤノン株式会社
撮像装置
1か月前
キヤノン株式会社
撮像装置
5日前
キヤノン株式会社
撮像装置
1か月前
キヤノン株式会社
撮像装置
1か月前
キヤノン株式会社
電子機器
1か月前
キヤノン株式会社
定着装置
19日前
キヤノン株式会社
撮像装置
19日前
キヤノン株式会社
記録装置
5日前
キヤノン株式会社
定着装置
28日前
キヤノン株式会社
現像装置
1か月前
キヤノン株式会社
電子機器
1か月前
キヤノン株式会社
定着装置
28日前
キヤノン株式会社
定着装置
28日前
キヤノン株式会社
記録装置
20日前
続きを見る
他の特許を見る